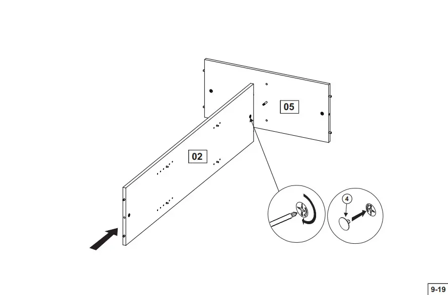
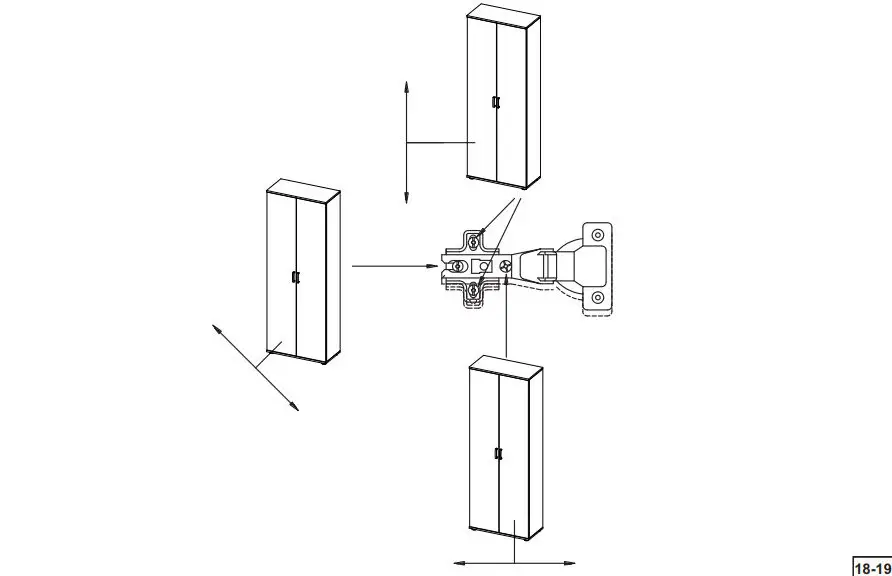
Assembling Instruction
ART. NR:19 500 110
EAN: 40 10 340 19 51 19
GALLO HHS 
Important assembling suggestions download:
GALLO HHS

GALLO HHS














https://www.interlink-sas.de/out/pictures/wysiwigpro/montage/ge
Z. A. du Niederwald F-67470 Seitz wwwinterlink-sas.com


















