HAYWARD DV5000 Disc Suction Pool Cleaner

Installation
- Slide the Disc onto the cleaner body insuring the side marked “UP” is up. Start one side of the Disc inner edge in the Foot groove and pull and flex the Disc until its inner edge is fully in the groove and the Disc rotates easily. Slide the Wear Ring onto the Foot bottom flange, insuring the stepped side is down. Flex the top edge over the flange until it is completely above it and the Ring rotates freely.

- Turn off your pump.
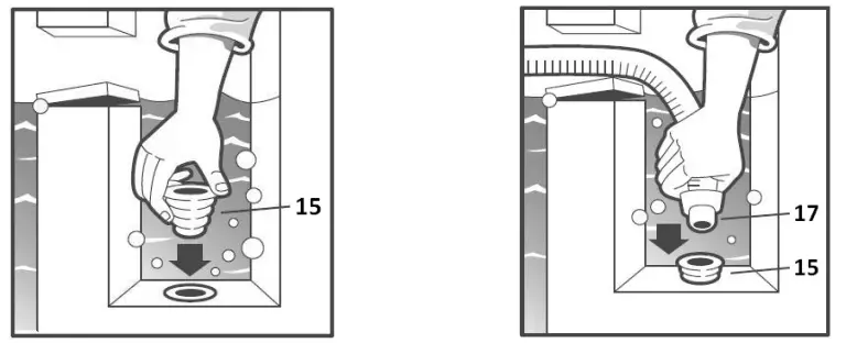
- If connecting through your skimmer, insert the Adapter into the Skimmer outlet and the first hose through the Skimmer inlet and its male end into the Adapter.

- If connecting through your dedicated suction outlet, lift the cover and insert the first hose male end directly into the outlet.

- Insure adequate length of hose is connected together to cover your pool.

- Attach the Flow Regulator with its plastic lid on top to the end of the hoses. Turn your pump on making sure the Flow Regulator remains below the water surface. Wait until your pump has removed all air from the hoses and is operating normally. While the Flow Regulator is under water, observe its setting triangle opening. Adjust your balance between bottom return and skimmer/dedicated outlet until the triangle’s second rib is just visible. Refer to the indicator label on the Flow Regulator. Skip the next step. If your system cannot provide sufficient flow to the cleaner, as indicated by the Regulator, it may not clean adequately. You should contact a local pool service company or Hayward Technical Service for assistance. If you cannot reduce flow to the cleaner, as indicated by the Regulator, go to Step 7.

- If you cannot adjust flow down to the optimum point on the Flow Regulator, you will need to insert the Regulator in line with the hoses (without lid). This can be at any point along the flow path from the cleaner to the skimmer/dedicated outlet but may be initially placed between the third and fourth hoses. The Regulator must remain below the water surface at all times in order for the cleaner to work properly.

- If your cleaner does not move around your pool with the Disc in full contact with the bottom, approximately 45 degrees, it may require installation of the Hose Weight. Start by placing the Weight at the joint between the first and second hoses from the cleaner. Observe its movement over your entire pool before changing. Adjust its location as necessary to achieve good contact with the bottom.

- When storing your hose, insure each section is kept straight. Residual curvature in the hose will reduce proper function of the cleaner. Do not add chemicals to your pool while the cleaner is in the water.

- To replace the Diaphragm, first remove the Wear Ring by flexing it off the Foot flange on which it is mounted. Remove the Retainer by prying one removal tab toward the center with a flat screwdriver and out. You can also grasp the tab with a pair of pliers and twist and pull the Retainer out of the Foot. Remove the Cassette Assembly. Slide the O-Ring off the Cassette. Separate the halves of the Cassette and pull the Diaphragm off the internal tube. Reverse the removal process to ready the cleaner for operation. Insure the Diaphragm is installed with its O-Ring on the upper end.

Replacement Parts

- DCX110 Halo
- DCX334 Band
- DCX212 Assy – Swivel
- DCX332 Top Cover
- DCX353 Body Halves
- DCX315 Assy – Diaphragm Body
- DCX108 Tube – Internal
- DCX105 Cassette Assy
- DCX105C Diaphragm
- DCX106 Retainer
- DCX152 Disc
- DCX150 Ring – Wear
- DCX170 Diverter – Eyeball
- DCX180 Regulator Flow
- DCX172 Adapter – Hose
- DCX174 Weight – Hose
- DC176 Hose – Connector, M/F
- DCX344 Set – Screws + Plugs
Troubleshooting
My Cleaner Doesn’t Start:
- Check that the pump is on
- Check that the filter, the pump basket and the skimmer are clean
- Check the power of the pump. If it is too high, close another vacuum line
- Check that there is no leak at the pipe or that the hose is correctly plugged
My Cleaner Doesn’t Move:
- Check the seal : the “UP” indication must be on the top
- Check the balance of the flow between the cleaner and the main drain
My Cleaner is Stuck:
- The swivel head must be free to turn
- Check the flow with the Regulator
The Cleaner Doesn’t Clean the Entire Pool:
- Check the length of the hose
- The hose must be stocked straight
- Install the Eyeball Diverter(s)
Warranty
To original purchasers of this equipment, Hayward Pool Products, Inc., warrants its products to be free from defects in materials and workmanship for a period of ONE (1) year from the date of purchase. Hoses, seals, gauges, baskets and o-rings are warranted for defects in materials and workmanship for a period of thirty days. Parts which are found defective during the warranty period, except as a result of freezing, flood, fire, accident, lightning, negligence, improper installation, use, or care, shall be repaired or replaced, at our option. Proof of purchase is required for warranty service. To obtain warranty service or repair, please contact the place of purchase or the nearest authorized Hayward warranty service center. For additional Hayward dealer or service center information, please visit www.haywardpool.com. No returns may be made directly to the factory without the express written authorization of Hayward Pool Products, Inc. Hayward shall not be responsible for cartage, removal and/or reinstallation labor or any other such costs incurred in obtaining warranty replacements. The Hayward Pool Products warranty does not apply to components manufactured by others. For such products, the warranty established by the respective manufacturer will apply. Some states do not allow a limitation on how long an implied warranty lasts, or the exclusion or limitation of incidental or consequential damages, so the above limitation or exclusion may not apply to you. This warranty gives you specific legal rights, and you may also have other rights, which vary from state to state
Retain this Warranty Certificate in a safe and convenient location for your records
TO REGISTER YOUR CLEANER IN OUR DATABASE, GO TO:
USA: www.haywardnet.com Canada: www.haywardcanada.com Europe: www.hayward.fr
Product Registration Information
DATE OF INSTALLATION ____________________
INITIAL PRESSURE GAUGE READING (CLEAN FILTER) _______________________
PUMP MODEL ________________




























