CHRISTIE DWU880-GS CIC 1DLP Camera

NOTICES
COPYRIGHT AND TRADEMARKS
Copyright ©2022 Christie Digital Systems USA Inc. All rights reserved.
All brand names and product names are trademarks, registered trademarks or trade names of their respective holders.
GENERAL
Every effort has been made to ensure accuracy, however in some cases changes in the products or availability could occur which may not be reflected in this document. Christie reserves the right to make changes to specifications at any time without notice. Performance specifications are typical, but may vary depending on conditions beyond Christie’s control such as maintenance of the product in proper working conditions. Performance specifications are based on information available at the time of printing. Christie makes no warranty of any kind with regard to this material, including, but not limited to, implied warranties of fitness for a particular purpose. Christie will not be liable for errors contained herein or for incidental or consequential damages in connection with the performance or use of this material. Our centers of excellence for manufacturing in Kitchener, Ontario, Canada and in Shenzhen, China are ISO 9001:2015 Quality Management System-certified.
For the most current technical documentation and office contact information, visit www.christiedigital.com.
WARRANTY
Products are warranted under Christie’s standard limited warranty, the details of which are available at https://www.christiedigital.com/help-center/warranties/ or by contacting your Christie dealer or Christie.
PREVENTATIVE MAINTENANCE
Preventative maintenance is an important part of the continued and proper operation of your product. Failure to perform maintenance as required, and in accordance with the maintenance schedule specified by Christie, will void the warranty.
REGULATORY (if applicable)
The product has been tested and found to comply with the limits for a Class A digital device, pursuant to Part 15 of the FCC Rules. These limits are designed to provide reasonable protection against harmful interference when the product is operated in a commercial environment. The product generates, uses, and can radiate radio frequency energy and, if not installed and used in accordance with the instruction manual, may cause harmful interference to radio communications. Operation of the product in a residential area is likely to cause harmful interference in which case the user will be required to correct the interference at the user’s own expense. Changes or modifications not expressly approved by the party responsible for compliance could void the user’s authority to operate the equipment.
ENVIRONMENTAL
The product is designed and manufactured with high-quality materials and components that can be recycled and reused. This symbol
means that electrical and electronic equipment, at their end-of-life, should be disposed of separately from regular waste. Please dispose of the product appropriately and according to local regulations. In the European Union, there are separate collection systems for used electrical and electronic products.
If printing this document, consider printing only the pages you need and select the double-sided option.
Please help us to conserve the environment we live in!
Introduction
This manual is intended for Christie CIC 1DLP Camera which can be installed in below models:
- DWU880-GS, DWU880A-GS, DWU1100-GS, DWU1100A-GS, DWU1400-GS, DWU1400A-GS
- DWU15-HS, DWU15A-HS, DWU19-HS, DWU19A-GS, DWU23-HS, DWU23A-HS
- 4K13-HS, 4K13A-HS, 4K22-HS, 4K22A-HS
For complete GS Series and HS Series products documentation and technical support, go to www.christiedigital.com.
Safety and warning guidelines
Read all safety and warning guidelines before installing or operating the Christie CIC 1DLP Camera.
This product must be operated in an environment that meets the operating range specification.
Warning! If not avoided, the following could result in death or serious injury.
- Do not expose the product to moisture.
- Do not operate the product without all of its covers in place.
- Do not allow anything to rest on the power cord.
- Always provide proper ventilation for the product to prevent overheating.
Caution! If not avoided, the following could result in minor or moderate injury.
- Only Christie qualified technicians are permitted to open product enclosures.
- All procedures must be performed by Christie qualified technicians.
- ELECTRICAL and BURN HAZARD! Use caution when accessing internal components.
Notice. If not avoided, the following may result in equipment or property damage.
- SHOCK HAZARD! Only use the AC power sources recommended by Christie for use with the product.
- Do not insert foreign objects or liquids into the product.
- Do not use chemical cleaners to clean the product.
- Do not drop the product.
- Only use cleaning solutions recommended by Christie. All other cleaning solutions may cause product damage and void the warranty.
Product labels
Learn about the labels that may be used on the product. Labels on your product may be yellow or black and white.
General hazards
Hazard warnings also apply to accessories once they are installed in a Christie product that is connected to power.
Fire and Shock Hazard | |
![]() | To prevent fire or shock hazards, do not expose this product to rain or moisture. Do not alter the power plug, overload the power outlet, or use it with extension Cords. Do not remove the product enclosure. Only Christie qualified technicians are authorized to service the product. |
Electrical Hazard | |
![]() | Risk of electric shock. Do not remove the product enclosure. Only Christie qualified technicians are authorized to service the product. |
Product overview
Christie CIC 1DLP Camera is designed for GS Series and HS Series projection systems. It supports Auto Focus (AF), Auto Wall Color (AC), Auto Color Uniformity (ACU), Auto Color Matching (ACM), and Auto Blend functions.
List of components
The Christie CIC 1DLP Camera comes with all the items listed below. Check to make sure your package is complete.
If anything is missing, contact your dealer.
- Christie CIC 1DLP Camera (quantity 1)
- Bracket (quantity 1)
- 1.3 m (4.2 feet) USB-A to USB-B cable (quantity 1)
- M3L8 screw (quantity 4)
- Cable mount (quantity 6)
- Label Info Product (quantity 1)
Technical support
Technical support for Christie Enterprise products is available at:
- North and South America: +1-800-221-8025 or [email protected]
- Europe, Middle East, and Africa: +44 (0) 1189 778111 or [email protected]
- Asia Pacific ([email protected]):
- Australia: +61 (0)7 3624 4888 or [email protected]
- China: +86 10 6561 0240 or [email protected]
- India: +91 (80) 6708 9999 or [email protected]
- Japan: 81-3-3599-7481
- Singapore: +65 6877-8737 or [email protected]
- South Korea: +82 2 702 1601 or [email protected]
- Christie Professional Services: +1-800-550-3061 or [email protected]
Installation and Setup
Learn how to install and connect to the projector.
Physical operating environment
Provides specifications for the operating environment.
- Ambient temperature (operating): 0 to 50°C (32 to 122°F)
- Humidity (non-condensing): 20% to 80% RH
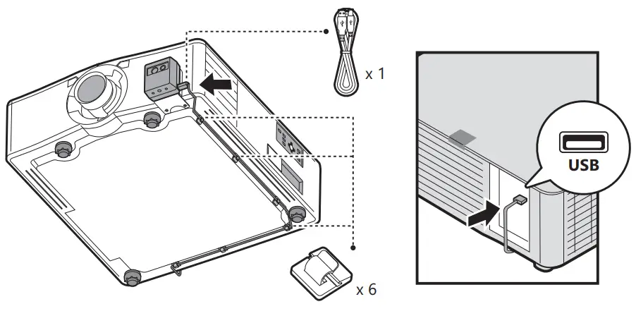
Power connection
Connect the USB cable to the projector and use the cable mount to hold cable securely.
Physical specifications
Learn the dimensions and weight of the Christie CIC 1DLP Camera before installation.
- Christie CIC 1DLP Camera (L x W x H): 3.66 x 3.31 x 48.8” (93 x 84 x 48.5 mm)
- Shipping size (L x W x H): 16.73 x 11.61 x 6.3” (425 x 295 x 160 mm)
- Weight: 0.2 kg (0.44 lbs)
- Shipping weight: 0.5 kg (1.1 lbs)
Installing Christie CIC 1DLP Camera
To install and connect the Christie CIC 1DLP Camera to the projector, follow these steps:
- Align and secure the bracket to the rear side of the camera with the supplied screws.

- Align the holes marked A on the camera bracket with the holes on the bottom of the projector and secure the camera to the projector with the four M3L8 screws.
GS Series projector
HS Series projector
- Connect the USB-B end of the supplied USB cable to the camera and the USB-A end to the projector.
- Route and secure the USB cable to the supplied cable mounts.
GS Series projector
HS Series projector
Regulatory
This product conforms to the following regulations related to product safety, environmental requirements and electromagnetic compatibility (EMC).
Electro-magnetic compatibility
Emissions
- FCC CFR Title 47, Part 15, Subpart B, Section 15.107 and 15.109
- ICES-003 Issue 7:2020 Class B
- VCCI-CISPR 32:2016 / J55032(H29) Class B
- EN55032:2015+A11:2020 – Information Technology Equipment Radio Disturbance Characteristics – Limits and Methods of Measurements
- IEC 61000-3-2 / EN61000-3-2 – Limits for Harmonic Current Emissions
- IEC 61000-3-3 / EN61000-3-3 – Limitations of Voltage fluctuations and flicker in low-voltage supply systems.
- KS C 9832:2019 – Electromagnetic interference prevention test for multimedia equipment
Immunity
- EN 55035 : 2017+A11:2020 – EMC Requirements – Information Technology Equipment – Immunity Characteristics – Limits and Methods of Measurements
- KS C 9835:2019 – Electromagnetic wave immunity test for multimedia devices
Environmental
- EU Directive (2011/65/EU) on the restriction of the uses of certain hazardous substances (RoHS) in electrical and electronic equipment and the applicable official amendment(s)
- EU Directive (2012/19/EU) on waste and electrical and electronic equipment (WEEE) and the applicable official amendment(s)
- Regulation (EC) No 1907/2006 concerning the Registration, Evaluation, Authorization and Restriction of Chemicals (REACH) and the applicable official amendment(s)
- China Ministry of Information Industry Order No.39 (02/2006) on the control of pollution caused by electronic information products, hazardous substances concentration limits (SJ/ T11363-2006), and the applicable product marking requirement (SJ/T11364-2006)





















