VIZULO AP004 Mini Martin Toolless LED Street Luminaire Instruction Manual


* Depends on conguration. Check label or technical specication.
Dimensions



Average Netto Weight

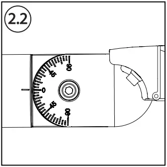
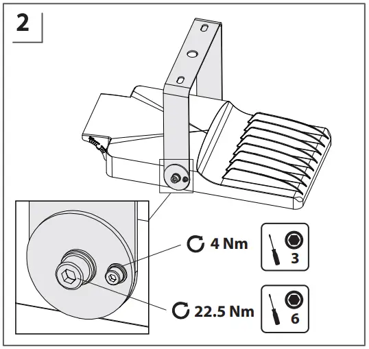
Console adjustment









Acceptable luminaire with ZHAGA socket mounting angle relative to the ground.

Acceptable luminaire mounting angle relative to the ground.

Unacceptable luminaire mounting angle relative to the ground.

These limitations only apply when mounting the luminaire outdoors!
WARNING!
- Do not touch LED modules!
- Do not put any tools or other items on LED modules!
- In case any LED is physically damaged (example shown below) the warranty is void.
Standard conguration






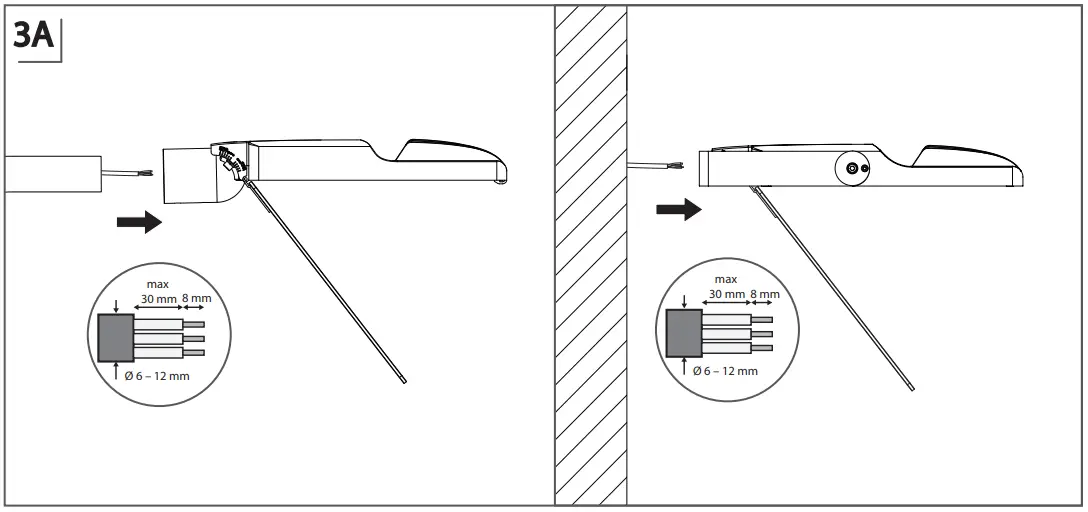
Configuration with cable




Flood console adjustment




Conguration with terminal block




Watertight cable connector has to be ordered separately
ATTENTION! In case of NEMA/ZHAGA Socket.
IP66 applies only for luminaire body and for connection between luminaire body and NEMA/ZHAGA Socket, and do not applies to any mounted control device and connection between control device and NEMA/ZHAGA Socket.

The light source contained in this luminaire shall only be replaced by the manufacturer or his service agent or a similar qualied person.
Caution, risk of electrical shock
In case the mains cable is damaged, the luminaire is no longer usable, and it must be either recycled or repaired. The repair can only be performed by VIZULO. Contact either your direct sales manager or look for contact information on our home page – www.vizulo.com
Energy efficiency class of contained light source(s)

Terms of use and maintenancBefore luminaire is turned on, it should be mounted according with this mounting instruction or any other applicable regulations. e
Mounting instructions
Mounting of luminaire must be performed by a qualied person according with following instructions:
- The warranty of luminaire does not apply, if the mounting of luminaire has been performed in precipitation (rain, snow, hail).
- The warranty of luminaire does not apply, if a control system unauthorized by VIZULO or an inapplicable LED driver has been used to drive the luminaire.
- The warranty of luminaire does not apply, if it has been used in an unsuitable ambient temperature or has been supplied by voltage outside of the specied range.
- The warranty of luminaire does not apply, if the LED driver program has been changed in any way.
- The warranty of the luminaire does not apply, if the logged history data of the LED driver has been deleted without the permission of VIZULO.
- The warranty of luminaire does not apply, if it has been mounted in unspecied angles or upside down (luminaire glass directed up), or it has been completely submerged under water.
Safety instructions
Any actions with the luminaire must be performed by a qualied person, who is certied according with national regulations and requirements. To prevent any accidents person installing the luminaire must follow national safety requirements and following instructions:
- The label containing technical parameters of the luminaire has to be studied before the work on it has begun.
- Any luminaire build or design changes are prohibited.
- The luminaire must be used in good technical condition and according with this instruction.
- Only VIZULO authorized spare parts and accessories can be used to repair the luminaire.
- The repair of luminaire has to be performed by a qualied and certied person.

















