B12 VI-S Ultrasonic Heat Meter
User Guide
Installation & User Guide
B12 VI-S Ultrasonic Heat Meter
Read this Guide before installing the meter
B12 VI-S Ultrasonic Heat Meter
Thank you for choosing our products
- The contents of this manual are subject to change without prior notice as a result of continuing improvements to the meter’s performance and functions.
- Every effort has been made in the preparation of this manual to ensure the accuracy of its contents. However, should you have any questions or find any errors, please contact BOVE TECHNOLOGY.
- Copying or reproducing all or any part of the contents of this manual without the permission of BOVE TECHNOLOGY is strictly prohibited.
General Information
Please note that the following installation conditions must be obeyed:
Pressure Requirement: PN16.
Environmental Class: E1, M1
Installation requirement: There must be a distance of minimum 25 cm between signal cables and other installations
If medium temperature is below 10°C or above 90°C in flow sensor, It’s recommended that the calculator be wall-mounted.
Note: Seal or any safety marks on the meter must not be damaged or removed, and doing so will void the warranty and calibration of the meter.
Key Information:
| Flow Sensor | Registers the amount of district heating water in m³/h circulating through the heating system. Θ: 3°C~95°C |
| Temperature Sensors | Placed in forward and return pipes sense the cooling, by the difference between in flow and out flow temperatures. Θ: 0°C~105°C |
| Calculator | Calculates heat energy consumption based on flow volume and temperature loss of heating water. Θ: 3°C~95°C △Θ: 4K~65K |
| Electromagnetic environment | E1 (housing/light industry). The meter’s control cables must be drawn at min. 25 cm distance to other installations. |
| Mechanical environment | M1 (fixed installation with minimum vibration). |
| Climatic environment | The meter must be installed in environments with non-condensing humidity as well as in closed locations (indoors). The ambient temperature must be within 5~55°C. |
| Maintenance and repair | The district heating supplier can replace temperature sensor and battery. The flow sensor must not be separated from the calculator. B12 VI-S Series must be connected to a temperature sensor pair type Pt1000. |
| Battery for replacement | B12 VI-S Series can be fitted with ER18505 with operating time of 6 years replaceable. |
Technical specification
2.1 Completer meter
| Mode | B12 VI-S-15 | B12 VI-S-20 | B12 VI-S-25 | B12 VI-S-32 | B12 VI-S-40 |
| Pipe Diameter | DN15 | DN20 | DN25 | DN32 | DN40 |
| Minimum Flow Rate, qi(m³/h) | 0.012 | 0.05 | 0.07 | 0.12 | 0.2 |
| Permanent Flow Rate, qp(m³/h) | 1.5 | 2.5 | 3.5 | 6 | 10 |
| Maximum Flow Rate, (m³/h) | 3.0 | 5.0 | 7.0 | 12 | 20 |
| Overload Flow Rate, (m³/h) | 4.5 | 6.5 | 10 | 18 | 24 |
| Connection | G3/4’ | G1’ | G1/4’ | G1/2’ | G2’ |
| Length (mm) | 110 | 130 | 160 | 180 | 200 |
| Width (mm) | 96 | 105 | 114 | 120 | 130 |
| Operation Temperature | Range:4℃ – 95℃, T: 3k – 65k | ||||
| Temperature Sensor | A pair of PT1000 platinum resistor | ||||
| Metrological Class | Class 2, (EN1434) | ||||
| Maximum Operation Pressure | 1.6Mpa | ||||
| Pressure Loss | P<25kPa at qi | ||||
| Pressure Stage | PN16 | ||||
| Protection Class | IP65 | ||||
| Battery | 3.6VDC, lithium battery, 6 years lifetime option. | ||||
| Data Storage | · 36 months history data, including accumulated heat energy and volume,etc. · Total heat energy, volume, running hours,etc. | ||||
| Environment Temperature | -30℃ – 55℃ | ||||
| Interface & Communication | ·M-Bus ·Optical port ·Pulse Output / Pulse Input ·RS-485 | ||||
| Installation | Horizontal or Vertical | ||||
| Display and Indication | · Unit: kWh, MWh, GJ (optional) · LCD: 8-digit (back illumination) · Accumulated: 0.1kWh-9999999.9kWh. | ||||
| Standard Compliance | · EN1434 · OIML R75 · MID Directive (2004/22/EC) | ||||
2.2 The main consist unit of B12 VI-S Series Ultrasonic Heat Meters
2.2.1 Ultrasonic Flow Metering Unit:Ultrasonic flow meter measures by the transfer of ultrasound signals between transducers with the help of mirrors
2.2.2 Temperature Metering Unit: PT1000 type heat sensors are used which they are calibrated, certified. If input water temperature metering prob is integrated with the meter body where flow meter is, thus the output water temperature metering prob is mounted to a suitable point on the network return water direction. Also meter could be installed in out flow position. Default cable length is 1.5m, but 3m length is also available as per request.
2.2.3 Calculator Unit:It is the unit that process energy calculation by the flow rate data received from flow rate metering unit and temperature data received from temperature metering unit. Its calibration is performed in software at factory. Calculated energy and other information is displayed on the LCD when button is pushed. These information may be remotely read via optical port and communication unit.
Installation

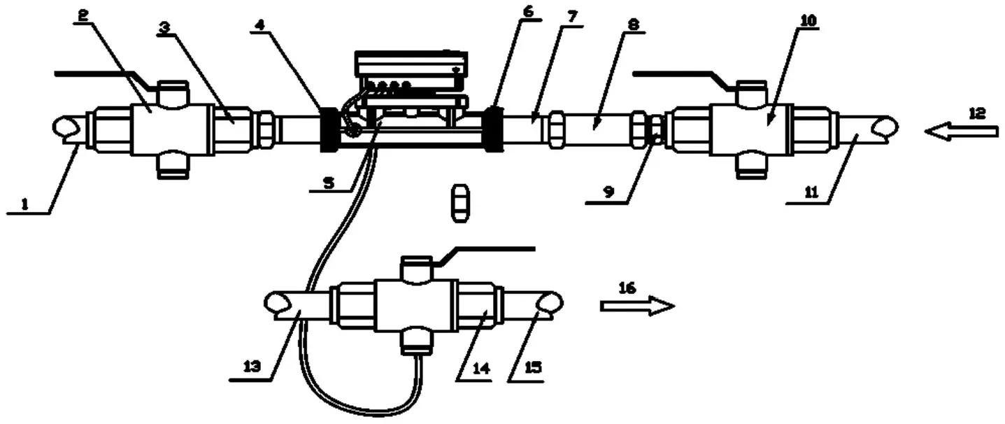
Installation diagram
1 | Outflow Pipe | 9 | Fitting |
2 | Valve | 10 | Valve |
3 | Valve Body | 11 | Inflow Pipe |
4 | Thread of flow sensor | 12 | Inflow direction |
5 | Calculator | 13 | Return Pipe |
6 | Thread of flow sensor | 14 | Valve Body |
7 | Inflow Pipe | 15 | Return Pipe |
8 | Inflow Pipe | 16 | Outflow direction |
The below general principles prior to and after mounting the system shall be followed.
3.1 Requirements for installation environment
B12 VI-S Series has been designed for indoor installation in non-condensing environments with ambient temperatures from 5~55°C.
The meter must not be under any mechanical stress when installed in the pipe.
The meter must be protected against pressure shocks in the pipe.
Protection class IP66 allows short-term submergence, provided that all cable unions have been correctly mounted and that the plastic cover has been properly fastened.
All control cables must be drawn separately and not parallel to e.g. power cables or other cables with the risk of inducing electromagnetic interference. There must be a distance of min. 25cm between signal cables and other installations.
If two or more meters are to be installed shall be in parallel, the axis-center distance between two meters shall be at least 135mm minimum.
3.2 Before Installation
Prior to installation of the flow sensor, the pipe shall be thoroughly flushed out, and any dirty, stone alike items must be removed from the pipe. Cavitation in the system must be avoided. If a risk of frost exists, empty the system and, if necessary, remove the meter. If the water is soiled, fit the strainer in the pipe before the meter.
3.3 Mounting of Flow Sensor
Consider the dimensions of the heat meter, and the distance with surroundings, minimum 3 cm free space.
Straight sections of 10×DN before and 5×DN after the meter are recommended, to homogenize the temperatures of water.
The meter is to be installed so that the direction of the arrow on the meter housing corresponds to the direction of flow. Avoid the collection of air bubbles in the meter during the installation process.
The connecting pipe at the two ends must be on the same horizontal level. Install horizontally or vertically only, not tilted, inclined or overhead. Install the flow sensor into horizontal or up streaming pipelines.
Do not install at highest point of piping to avoid air inside the flow sensor. The flow sensor must NOT be installed in the positions where swirling flow exists (swirling flow is normally caused by bending pipe), or pulsatile flow exists (pulsatile flow is normally caused by pump, therefore the flow sensor must be installed as far as possible from pump and must not be installed on the outlet of pump) or air may build up.
A: Recommended flow sensor position
B: Recommended flow sensor position
C: Unacceptable flow sensor position
D: Unacceptable flow sensor position in open system; acceptable in closed system.
3.4 Mounting of Temperature Sensors
Temperature sensors used to measure the flow temperature are usually installed ex-factory, i.e.integrated into the flow pipe. Installation instructions for sensor used to measure pipe and return temperature are as followings:
3.4.1 Matched Pairs
The Sensors are color-coded. The one marked with a red sign is to be installed in the flow pipe normally within the sensor pocket; the other marked with a blue sign is to be installed in the return pipe.
The two temperature sensors are a matched pair and must not be separated, so the sensors must be replaced in pairs. The connecting cables may not be buckled, extended or shortened.
The standard cable length according to EN1434 or OIML R75 is 1.5m and must not be changed. If the length has to be changed due to restriction of installation environment, the meter shall be specially dealt within the factory.
3.4.2 Install Position
The end of the sensors must extend in any case as far as the center of the pipe cross-section.
Installation of the temperature sensors should be preferably symmetrical and direct installation.
Do not remove the flow sensor if already mounted in the flow sensor.
Temperature sensors are to be installed in the area where water temperature is relatively stable.
The installation conditions for the two sensors shall be identical. Sensors shall not be installed in the high convex segment of the pipe. Temperature sensors typically can be installed within Tee pipe, ball valve or sensor pocket.
3.4.3 Sealing
Temperature sensors and screw connections must be sealed against manipulation, and the seal may not be damaged.
Attach the O-ring for the installation aid, and insert the O-ring into the installation point according to with a slight circular motion.
Insert the temperature sensor into the installation point and screw it in tightly until the dead stop of the seal. Secure the sensor after installation against unauthorized removal with appropriate sealing.
Generally, the seals have been installed on the meter before delivery from factory.
3.5 Mounting of Calculator
The calculator is mounted directly on the plate of flow sensor. Having been mounted, the calculator is sealed with seal and thread. In case of strong condensation or water temperature above 90 ℃, we recommend wall mounting of the calculator.
The ambient temperature of the calculator must not exceed 55°C and it should avoid direct sunlight. Mounting can be vertical or horizontal with respect to the flow sensor. The calculator can also be removed from the flow sensor, and plug it in the required position.
3.6 Mounting Step
Step 1: Flush the piping system thoroughly before mounting the meter.
Step 2: Sufficient distance.10×DN straight pipe in upstream and 5×DN straight pipe in downstream. (DN: Diameter)
Step 3: The specific seal gasket and connector only supplied by Bove
Step 4: On the two sides of the meter, there should be one filter (if the water is soiled) and two shut-off valves.
Step 5: After finishing the above operations, seal the meter only if the sealing has not been done before delivery from factory.
3.7 Installation of non-return valve
The meter can be supplied with a non-return valve (if required) on request. The non-return valve must be installed on the water inlet end of meter when installing.
3.8 After the installation
The tightness must be proved by pressurizing with cold water, slowly filling the pipe on completion of the installation.
Open the shut-off valves carefully and check installation for leakage. While the piping system is operating, check whether the volume display correctly and the temperatures display corresponding with the actual temperatures (see the display information).
When the response thresholds are exceeded and the flow rate and temperature difference are positive, the energy and the volume are summated.
Make the segment test, in order to displays all display segments for test purposes.
The operating hours are counted from initial connection of the battery. The date is incremented daily. As a standard the meter is delivered with the local time, or destination time if required.
Power Supply
B12 VI-S Series can be fitted with one ER18505 with operating time of 6 years respectively.
| Brand | EVE |
| Type | Lithium Battery |
| Model No. | ER18505 |
| Rated capacity | 4000mAh |
| Rated voltage | 3.6V |
| Max recommended continuous operating current | 130mA |
| Max pulse current | 180mA |
| Reference weight | 26g |
| Operating temperature | -55°C ~ +85°C |
Interface & Communication
5.1 Optical port
B12 VI-S Series are all equipped with an optical interface IrDA to IEC62056-21 as a standard.
In addition, one of the following options can be ordered for remote output.
5.2 M-BUS
Cable: connected with galvanic isolation
Voltage: 50V max.
Current: M-Bus loads
Addressing: primary or secondary
Note: A higher frequency is not allowed and may result in meter malfunction!
Data transmission in the compatibility mode (= standard, one data frame) or in the full mode (3 data frames) possible.
If the meter is equipped with “M-bus”, it is delivered with a two wire cable, which can be lengthened with a cable 2 x 0.75mm2 (put a distributing box). Pay attention to the proper polarity in case of the pulse output. If the meter is read out via M-bus, the allowed mean frequency of reading must not be exceeded. Any more reading is not allowed and may result in a damage to meter.
The M-Bus or pulse variant of the meter is supplied with a 2-wire cable with wire end ferrules.
| Version/Color | Pulse | M-Bus (2-wire) |
| Red | Pulse | M-Bus |
| Black | GND | M-Bus |
5.3 Pulse Output (Optional)
Pulse output for heat or volume, with 2m cable connected, with galvanic isolation
Pulse significance: 1 pulse per kWh, 1 pulse per 100 liter or 1 pulse per 0.001
Goal Pulse length: 100 ms (Programmable)
Heat / Volume: specify in order or change with service-software
Voltage: max. 30 V
Current: max. 30 mA
Pulse break: min. 25ms
Classification OC (acc. to EN 1434-2)
Voltage drop: ca. 1.3V at 20 mA
5.4 RS-485(Optional)
Cable: connected with four-core cable
Voltage: 5-24V.
| Version/Color | RS-485 |
| Red | VCC |
| Black | GND |
| Yellow | A |
| Green | B |
Operation & Display
B12 VI-S Series is fitted with an easily readable LCD, including 8 digits, measuring units and information field.
The display automatically returns to LCD sleep mode 3 minutes after the latest activation of the push button. When power on, the meter will reset and displays full screen to allow users to detect if there is any problem with the LCD.
No. | Icon | Name | Meaning |
1 | Calibration mode | Under calibration | |
2 | Pulse | Pulse output | |
3 | Low battery warming | User is reminded to replace the battery with a new one. | |
4 | Error warning | Warnings for error |
5 | Heat | Accumulated heat consumption | |
6 | Temperature of inflow water | Accumulated cold consumption | |
| 7 | Temperature of in/outflow water | Water temperature in/return pipe |
6.1 Operations on how to display
Users may press the button to read the meter information such as Accumulated volume, current flow rate, water temperature, etc.
To save the battery, the meter switches to sleep mode (display off) if the button is not pressed for approx. 3 minutes. It can be woken up by pressing the button approximately 2 seconds.
The following information is displayed in order by shot pressing the button: temperature in, temperature out, temperature difference, instant flow rate, cumulative flow volume, instant heat power, cumulative hear consumption, date, time, continuous working time, meter ID, software ID, type ID, M-bus address, etc.
6.1.1 Wakeup Operation
If no any operations within 3 minutes, it will turn back to sleep mode. Press the button for 2 seconds to wake up the LCD from sleep mode.
6.1.2 Menu List (User Loop)
Pressing the button for 2 seconds and holding it on will bring up the four menus for users to select.
6.1.3 Menu A1
Shortly pressing the button to display items under Menu R1 one by one in the following order to check the measurement data:
6.1.4 Menu A2
Shortly pressing the button to display items under Menu A2 one by one in the following order to check the meter information:
6.1.5 Menu A3
This Menu shows history date records of last 36 months. Click the button to select the month, then the month, monthly flow and monthly heat consumption will be displayed in turn.
6.1.6 Menu A4
The content are similar to Menu A1, but for calibration only. The following diagram shows Menu A4 (Calibration mode only).
6.2 Monthly Data
The calculator stores the following values for 24 months at each end of month
– Volume (meter reading)
– Heat Energy (meter reading)
– Cold Energy (meter reading)
From the month set day display, press the service button for 2s to enter the previous month’s values.
The month values can also be read out via the optical interface.
6.3 Display structure

| 1.0 A1 1.1 Accumulated heat 1.2 Accumulated cold 1.3 Water-in temperature 1.4 Water-out temperature 1.5Temperature difference 1.6 Instant flow 1.7 Accumulated flow 1.8 Instant power 1.9 Version number | 2.0 A2 2.1 Time 2.2 Date 2.3 Meter address 2.4 Meter ID 2.5 Model 2.6 Install type 2.7 Diameter and factor 2.8 Software version error and code 2.9 Working time | 3.0 A3 3.1 Accumulated flow last month 3.2 Accumulated heat last month 3.3 Accumulated cold last month …… 3.108 Accumulated flow last 36 month 3.108 Accumulated heat last 36month 3.108 Accumulated cold last 36 month | 4.0 A4 4.1 Accumulated heat 4.2 Accumulated cold 4.3 Water-in temperature 4.4 Water-out temperature 4.5Temperature difference 4.6 Instant flow 4.7 Accumulated flow 4.8 Instant power 4.9 Date 4.10 Time 4.11 Accumulated working time 4.12 Meter address 4.13 Meter model 4.14 Software version 4.15 Meter ID |
Error and Warning
7.1 Error Display
The meter constantly performs self-diagnosis and can display various faults.
Visual indication on the LCD display in the event of an error.
| Error code | Meaning | How to handle the error |
| E01 | Low battery | Contact service |
| E08 | Empty pipe | Check the pipe if stop water supply or the meter in storage |
| E09 | Low battery + Empty pipe | Contact service |
| E40 | Temperature is lower than 3°C | Check the storage temperature |
| E41 | Low battery + Temperature is lower than 3°C | Contact service |
| E48 | Empty pipe + Temperature is lower than 3°C | Check the storage temperature |
| E49 | Low battery + Empty pipe + Temperature is lower than 3°C | Contact service |
7.2 Warnings
Permanent visual indication on the LCD:
1) Fault / failure of ultrasonic or temperature measurement
2) Low temperatures (below 3 °C)
3) Air in the measuring path, no volume measurement
4) Low battery
Warning Icons:
| Low battery warning | ![]() | It appears on the LCD screen if the battery voltage falls off to 2.7V. When the battery voltage increases back to over 2.7V, the icon disappears. Battery self-checking commits every 30s. |
| Faulty Icon | It appears when the following faults are sensed: 1: temperature is lower than 3°C 2: temperature is higher than 95°C 3: temperature sensor with short circuit 4: temperature sensor with open circuit 5: memory errors 6: blank pipe |
Corporate Profile
Bove provides comprehensive solutions on flow metering and control to over 30 countries in the globe. We design and manufacture range of flow metering solutions and IoT (internet of things) consumer products, which includes high accuracy water meter, thermal energy meter, testing bench, smart communication software’s for residential, commercial and industrial sectors. Since 2009 Bove has always been moving on the edge of technology to deliver state of the art products and solutions to customers all around the world.
A couple of our engineers are dedicated in metering and Communication industry for over 10 years, core team are previously working in Huawei, Baidu, IBM, and Citi Group, etc. With these talents Bove are able to provide prompt services and reliable products to our global customers. Bove is committed to address the unique challenges that the residential and industry are facing, including increasing customer demand, water scarcity, and environment conservation. With hope, honor and our hard and quality work, we are looking to future to make Bove one of the best brands in metering industry in the world.
Our Mission
To exceed our customers expectation by providing prompt, quality and reliable technology.
Our Vision
Creating an Eco Society
Bove can accept no responsibility for possible errors in catalogues, brochures and other printed material. Bove reserves the right to alter its products without notice. This also applies to products already on order provided that such alterations can be made without sub sequential changes being necessary in specifications already agreed. All trademarks in this material are property of the respective companies. Bove and the Bove logotype are trademarks of Bove Technology. All rights reserved.
Copyright© 2022 Bove Intelligent
Technology Co., Ltd


















