SEVERIN KGK 8905, 8906 Refrigerator Freezer

Dear Customer,
Read the complete instruction manual carefully before you start to use the appliance. Keep it for further use. The appliance is only to be used by persons who are familiar with the safety instructions. If you pass it on, attach these instructions as well.
Intended Use
- The appliance is designed for the storage and conservation of food only.
- We are not liable for possible defects in the case of abnormal handling or disregard of the instructions given by this manual.
- This is a compressor cooling appliance, which is qualified for short- and long-term storing of food.
- Cooling appliances are divided into climate classifications. The climate classification for this item can be taken from the appliance specification sheet at the end of this manual.
Safety Instructions
- The appliance is designed for the use in a household or similar, for instance:
- in kitchens for employees in stores, offices and similar working environments;
- in agricultural holdings;
- for customers in hotels and motels and other living environments;
- in bed and breakfast establishments.
- The appliance is not designed for commercial use, neither for use in catering services and similar wholesales.
WARNING: FIRE HAZARD!
- The appliance contains the eco-friendly but inflammable cooling medium Isobutane (R600a). Therefore, you should pay attention that the cooling system is protected during the transport and after the installation of the appliance. If the system is damaged, by no means activate the appliance. In this case, remove open fire or ignition sources from near the cooling medium and aerate the room.
- If you sell, hand over or submit your appliance for recycling, you have to refer to the inflammable propellant Cyclo-pentane (C5H10) in isolation as well as to the refrigerated Isobutane (R600a). Further details can be taken from the chapter Disposal.
- WARNING! Do not damage the cooling circuit. Leaking cooling medium can damage your eyes or cause inflammation.
- WARNING! Do not block the air inlets of the appliance panelling or the design with built-in furniture. A sufficient circulation of air has to be ensured.
- WARNING! Do not use any electric appliances (e.g., ice machines. etc.) that are not described in the manual.
- When positioning the appli-ance, ensure the supply cord is not trapped or damaged.
- Do not locate portable multi-ble socket outlets or portable power supplies at the rear of the appliance.
- Before plugging it in, check for possible damage during shipping in the power cord or in the appliance itself. If this is the case, the appliance must not be put into opera-tion.
- In this appliance, explosive substances such as an aerosol container with an inflammable propellant cannot be stored.
- If reparations or interventions on the appliance are necessary, they have to be executed by an authorized repair service, in order to follow the safety regulations and to prevent endangerment. This also applies to the replacement of the power plug.
- The appliance can be used by children of 8 years or older as well as persons with reduced physical, sensory or mental abilities or lack of experi-ence and/or knowledge, but only if they are supervised or instructed relating to the safe use of the appliance and thus understand the resulting dangers.
- Children aged from 3 to 8 years are allowed to load and unload refrigerating appliances.
- Children are not allowed to play with the appliance.
- Cleaning and maintenance must not be executed by chil-dren without supervision.
- Tepid water with an addition of washing-up liquid is suitable for regular maintenance. Further details of the cleaning can be taken from the chapter Cleaning and Defrosting (Maintenance).
- WARNING! Do not take off the cover of the LED interior lighting. In case of a defect of the LED lamp call the after-sales service (see appendix).
- To avoid contamination of food respects the following instructions:
- Opening the door for long periods can cause a significant increase of the temperature in the compartments of the appliance.
- Clean regularly surfaces that can come in contact with food and accessible drainage systems.
- Store raw meat and fish in suitable containers in the re-frigerating appliance so that it is not in contact with or drip onto other food.
- If the refrigerating appliance is left empty for long periods switch it off, defrost, clean, dry, and leave the door open to prevent mold from developing within the appliance.
- There are different zones of low temperature in the refrigerator. The warmest zone is at the top of the door in refrigerator. The coldest zone is on the back wall at the bottom of the refrigerator.
- For this reason, arrange the food in the following way:
- On the trays in the refrigerator (from top to bottom): Pastries, ready dishes, dairy appliances.
- In the ZeroBox: Sausages, meat, and fish.
- In the VeggiBox: Vegetables, salad, and fruits.
- In the door (from top to bottom): Butter, cheese, eggs, tubes, small bottles, big bottles, milk, and juice bags.
- In order to prevent damage to persons or property, the appliance can only be transported in a box, and it requires two persons to be installed.
- Caution! Keep your children away from packaging material – a choking hazard!
- Regularly check the power plug for damages. If this is the case, do not use the appliance.
- Do not use electric appliances in the storage space to prevent fire hazards. Also, do not put liquid containers on the appliance, so that possible leaking liquids do not interfere with the electronics and the isolation.
- Store high-proof alcoholic substances only tightly sealed and upright.
- Do not store glass bottles with freezable liquids or carbonated liquids in the freezer of the appliance, since they could burst while freezing.
- Do not consume expired food. This could lead to food poisoning. Do not refreeze already defrosted groceries.
- Do not misuse any shelves, compartments, doors, etc., as a tread or for leaning on.
- Do not handle open fire or ignition sources in the interior space of the appliance.
- Pull the power plug:
- in case of disturbances during the oper-ation;
- before every cleaning;
- while working on the appliance.
- Do not pull the power cord; always grab the power plug for this purpose.
- We reserve technical changes.
Configuration
| 1 | Control panel with light | 7 | VeggiBox cover with control unit “Humidity Control“ |
| 2 | Freezer glass shelf | 8 | VeggiBox |
| 3 | Bottle storage | 9 | Freezer drawers |
| 4 | Air circulation controller | 10 | Refrigerator glass shelf |
| 5 | ZeroBox cover | 11 | Height-adjustable screwable feet |
| 6 | ZeroBox | 12 | Door storage shelfs with ice cube tray and egg tray |
Transport of the appliance
- During the transport, you have to secure all loose parts in and on the appliance, in order to prevent damage.
- The appliance should not be transported in a vertical position and at the same time not tilted over more than 30 degrees.
After each Transport
- Wait 30 minutes after the installation, before you connect the appliance to the mains.
- If the appliance was transported with a tilt of more than 30 degrees, wait 4 hours before you connect the appliance to the mains.
Before the initial operation
- Remove the protective sheets and all pack-aging material incl. the transport securing of the storage spaces and of the trays from the appliance.
- Dispose the packaging professionally.
- You might notice a slight ‘new smell’ when you start the appliance for the first time. It goes away once the appliance begins to cool.
- Clean the interior with tepid water with the addition of washing-up liquid. Clean the equipment separately with rinsing water, not in the dishwasher.
- Before you fill the appliance with food, let it work for 24 hours, so that the target temperature can be reached.
Installation of the appliance
- The appliance should be installed in a dry and well-aired room.
- The appliance can be operated at a humidity of max. 70 %.
- The surrounding temperature, at which the appliance can be operated, can be taken from the appliance specification sheet at the end of this manual.
- Do not install the appliance outdoors.
- Bear in mind that you can pull the power plug anytime.
- Protect the appliance from direct insolation. It should not be installed near heat sources (stove, heater, etc.). If this, however, cannot be avoided, you should put isolation between the heat source and the appliance.
- You must not imbed the appliance in a cabinet. The installation of the fridge direct-ly under a board or a cabinet is disallowed.
- The unevenness of the floor can be compensated with the two vertically adjustable screw-in feet in the front, so that safe stability is attained.

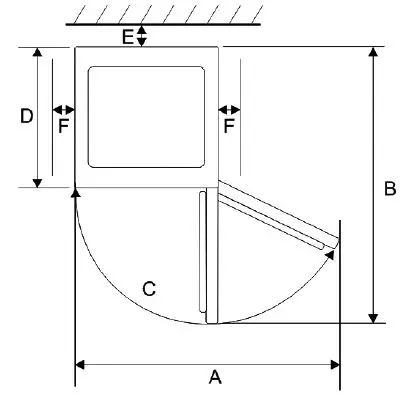
Installation measures
If the appliance is placed sideways on a wall, you will leave a lateral gap of at least 60 mm, so that the doors of the appliance can open in a 90-degree angle. In order to be able to remove the VeggiBox and the ZeroBox completely from the appliance, detach the bottle compartment if necessary.

| Width (W) | Depth (D) | Height (H) | ||||
| 540 mm | 576 mm | 1700 mm | ||||
| A | B | C | E | F | ||
| 915 mm | 1090 mm | 125° | 30 mm | 300 mm | ||
Ventilation
The air warmed behind the appliance needs to circulate freely. For this reason, the circulation of air cannot be compromised.
Caution!
Do not cover possible existing ventilation openings in the back area of the top cover plate!
Connection
- Before you connect the appliance, you have to make sure that itself and the power plug do not show any transport damage.
- Connect the appliance only to a shockproof outlet. The mains voltage has to correspond to the one stated on the tool identification plate.
- The appliance complies with the guidelines that are obligatory for CE marking.
- Do not connect the appliance to an inverter
- The power plug should not touch the back side, in order to avoid possible vibration noise.
- The appliance can be put into operation by plugging the mains plug into the point.
- A complete switching-off only occurs by pulling the mains plug.
Regulate the Temperature in the Cooling Room
Repeatedly press the “SET” button on the panel until the desired setting or the “Fast cool” indicator lights up. Setting 3 is the op-timum temperature for normal use. At 4 and 5, the temperature is lower. At 1 and 2, it is higher. Use a thermometer to check that the desired temperature has been reached in the refrigerator and freezer.
ZeroBox
The ZeroBox serves as the optimal storage for meat and fish.
VeggiBox
The VeggiBox serves as the optimal storage for fruits and vegetables.
Regulate the Humidity in the VeggiBox
Fruits and vegetables easily decay when stored wrongly. For that matter, a critical criterion is a right humidity, which you regulate precisely for the VeggiBox with the Humidity Control:
This slide control is in the cover of the VeggiBox. Is the slide control open, then the humidity sinks; is it closed, then the humidity rises. This allows for ideal storage conditions for fruits and vegetables.
Air Circulation
You can regulate the air circulation and therefore the temperature in the refrigerator/freezer with the control knob on the back of the refrigerator compartment. If the knob is turned to the right, the temperature increases in the freezer compartment and decreases in the refrigerator compartment. If the knob is turned to the left, the temperature in the freezer compartment decreases and increases in the refrigerator compartment. Use a thermometer to check that the desired temperature has been reached in the refrigerator and freezer. Turn the control knob back to the middle position as soon as possible.
The temperature in the Freezer
The temperature in the freezer compartment is set to ≤ ū18 °C by default.
Fast Cool
Select this function to quickly cool down the temperature in the refrigerator. After approx. 26 hours, this function will automatically go off and the temperature in the refrigerator will go back to the one previously set.
Special Functional Features
Memory Preservation in the Case of Power Failure
Every configuration will be preserved in the case of separation from the mains supply and will come into operation again when the mains supply is re-established.
Delayed Restart after Mains Failure
So as to protect the appliance from damage, it cannot be turned on again immediately for a period of 5 minutes after a short separation from the mains supply. Wait a few minutes until the appliance starts working again.
Interior Lighting
Do not take off the cover of the interior lighting. The appliance is equipped with high-quality, durable LED lighting. If the light is inoperative, call our after-sales service.
Freezer Door
The freezer door should always stay closed so that the food does not defrost. Thereby, the formation of ice and frost accretion is reduced. Therefore, make sure that the door is only open for the withdrawal of food or rather for filling the freezer.
Freezing/Storing of Food
Freezer:
- The freezer is designed for the freezing of food, for the long-term storage of frozen food as well as for the appliance ion of ice cubes.
- Fresh food should be frozen to the core as quickly as possible, so that the nutritional value, vitamins, etc. do not get lost. For this reason, put the food in one or two rows in the freezer.
- Do not bring them into contact with already frozen food.
- Do not exceed the freezing capacity per day! The respective value for the maximum freezing capacity can be taken from the appliance specification sheet at the end of the manual.
- The freezing time shortens if the food to be frozen is divided into small portions.
- Store the frozen food in the appliance only packaged. You can use uncolored plastic sheets/bags or aluminum foil as packaging material. Remove the air from the packaging before freezing and check for air tightness. Provide every packaging with a label with the content, date of freezing, and date of expiry on it.
- Do not freeze carbonated liquids, warm foods or liquids in a glass container or bottle.
- Defrost frozen appliances in the refrigerator. Foods keep their taste when they are defrosted slowly, and the emitted cooling energy from these appliances can be used to maintain the intended temperature in the refrigerator.
- If the appliance is turned off for a longer period of time, e.g., because of a mains failure, leave the door closed. Thereby, a more significant loss of cooling energy can be avoided. The maximum storage time during malfunction can be taken from the appliance specification sheet at the end of the manual. Because of the higher interior temperature, the storage time for food is shortened.
Data for expiry dates of frozen food are indicated in the chart per month. 
Do not store the frozen food longer than the given time in the freezer. Pay attention to the expiry date of the frozen food indicated by the producer.
Refrigerator:
- Store the food only packaged or covered in the refrigerator, in order to sustain the flavour and freshness. Especially foods with a strong smell or prone to absorbing smell (cheese, fish, butter, among others) have to be stored separately.
- At first, set an average cooling temperature. If the cooling is too strong, set a higher temperature and if the cooling is too weak, set a lower temperature.
If frost is built upon the back wall, then the cause of this could be that the door was opened too long, warm dishes were in the appliance or the temperature was set too low. - Warm foods have to be cooled down to room temperature before they can be stored in the appliance.
- Make sure that the door is closed correctly and that it is not blocked by cooled food.
Ice Cube Production
There is an ice cube tray for ice cube production. It is filled with drinking water up to ¾ and placed afterwards in the freezer. The ice cubes can be separated more easily after they are exposed to room temperature for 5 minutes.
Cleaning and Defrosting (Maintenance)
Cleaning
- Always pull the mains plug before cleaning.
- Do not pour water into the appliance.
- Tepid water with a bit of washing-up liquid is suitable for regular maintenance. In order to avoid an unpleasant smell in the cooling room, cleaning of the latter once a month is recommended.
- Clean the equipment separately with rinsing water, not in the dishwasher.
- Do not use aggressive, abrasive or alcoholic detergents.
- After cleaning it with clear water, wipe the surface and carefully dry it off. Subsequently, plug the mains plug with dry hands.
- In order to save energy and maintain efficiency, you should clean the condenser (on the backside) and the compressor at least twice a year with a broom or vacuum cleaner.
- The rating label in the interior of the appli-ance cannot be damaged or even removed while cleaning.
Defrosting
The appliance does not have to be defrosted, just cleaned. The evaporator is in the back wall. Therefore, the back walls in the cooling room can get covered with frost. Whenever the compressor is not operating, the frost can melt. The occurring water is guided through a hose system into a bowl on the compressor, where it is vaporised by the occurring heat.
Tips for Energy Saving
- For the installation of the appliance, choose a cool, dry and well-aired room.
- Protect the appliance from direct insolation. It should not be installed near heat sources (stove, heater etc.). If this cannot be avoid-ed, some sort of isolation between heat source and appliance has to be used.
- Don’t cover the ventilation openings and grid. Provide enough circulation of air on the backside of the appliance.
- Let warm food cool down before you store it in the fridge.
- Do not leave the door open too long when withdrawing or putting food inside. Otherwise, the formation of ice in the interior will be accelerated.
- Do not set the temperature lower than necessary. More details on temperature settings can be taken from the chapter ‘Controls and Display’.
Operation Noises
There might be some typical operation noises when the appliance is turned on. These are:
- Noise in the electric motor is arising from the working compressor. When the compressor starts to operate, then the noises get slightly louder for a short time.
- Noises in the tubes of the circulation of the refrigerant.

Change the Door Stop
- If necessary, the door can be changed from right- to left-hinged.
- Warning! Before you work on the appli-ance, always pull the mains plug out of the point.
- In order to avoid damages to persons and property, execute the change of the door stop with two persons.
- We recommend leaving the change of the door stop to experts.
- Before you start with the modifications, here is some general info:
- Always pay attention to the number of shims on the bearing pins and screws.
- Position the doors always so that they close tightly.
- Loosen the screw from the cover of the hinge and remove the cover (pictures similar to the product).

- Unscrew the 4 screws that hold the upper hinge and remove it.

- Loosen 2 screws as shown in the figure below, in order to remove the gap cover on the top side of the appliance.

- Raise the refrigerator door about 50 mm, in order to remove it from the appliance.

- Loosen the 3 screws that hold the middle hinge and then remove it.

- Raise the freezer door about 50 mm, so you can remove it from the fridge.

- Remove the adjustable front stands below the lower hinge. Then, loosen the 4 screws that hold the lower hinge and remove it from the fridge.

- Loosen the screw from the cover of the hinge and remove the cover (pictures similar to the product).
The removal of the doors is now finished. 
- Install the removed parts on the opposite side of the appliance. Pull the door socket, as shown in the following figure, and install it in the respective position on the other side.

- Loose the screws from the stopper and remove it. Install the separately enclosed counterpart on the opposite side of the door.

- Remove the shaft and the two stoppers from the lower hinge and install it in the position, as shown in the following figure.

Install the refrigerator and freezer doors on the opposite side.
- Remove the adjustable stand in the front, as shown below. Then, install the lower hinge on the other side of the fridge and tighten the screws.

- Install the shorter adjustable stand in the front on the side, where the lower hinge is. By turning the stand, you can adjust the height on this side of the appliance until it is leveled out.

- Attach the freezer door, turn the middle hinge 180° and then install it on the opposite side of the appliance. Attach the middle hinge with the 3 corresponding screws.

- Attach the refrigerator door and install the upper hinge on the opposite side of the appliance. Attach the upper hinge with the 4 corresponding screws. Attach the upper hinge cover with a screw.
- Install the gap cover on the opposite side of the appliance and tighten the screw.

Finally, check for the right alignment of the doors and that they close properly on all sides. If necessary, adjust the stands in the front for fully horizontal positioning of the appliance.
If you have tilted the appliance by more than 30°, please wait 4 hours before you connect the appliance to the mains supply.
Disposal
Appliances that are marked with this symbol have to be disposed of separately from household rubbish. These appliances contain valuable resources that can be recycled. Correct waste disposal protects the environment and the health of those around you. To get informed about it, either defer to your municipal administration or the retailer.
- Pull the mains plug out of the socket and disconnect it from the appliance before getting rid of it.
- The cooling medium Isobutane (R600a) and the propellant in the isolation Cyclopentane (C5H10) are inflammable substances, thus, need to be appropriately disposed of.
- Make sure the tubes of the cooling circuit don’t get damaged before the proper disposal.
Warranty
Severin grants you a manufacturer’s warranty of two years starting from the date of purchase. During this period, we will take care of all issues that are caused by material or manufacturing defects that substantially impair the functioning of the appliance. Further claims are excluded. The following is excluded from the warranty: Damages that result from non-observance of the instruction manual, improper use or normal abrasion, also delicate parts, e.g., glass, plastic, or light bulbs. The warranty expires in the case of an intervention that is not authorized by us. If a repair is necessary, call and write an e-mail to our after-sales service. The contact details can be taken from the appendix of the manual. The legal warranty laws against the vendor and possible vendor warranties stay untouched.
Details for After-Sales Service
If a repair is necessary, please contact the service hotline directly with an explanation of the defect. Before you do that, write down the article number from the rating label on the appliance (see figure), since this is needed for the smooth processing of your request.
Malfunction Removal
Subsequently, there is a table with possible malfunctions and recovery methods. Check if the recovery methods can repair the malfunctions. If this is not the case, then the appliance has to be disconnected from the mains supply, and the after-sales service has to be contacted.
| Fault | Possible reason and rectification |
| The appliance is not working. | • Power cut. • The main fuse has dropped out. • The fuse in the wall socket is not working. Check this by plugging another appliance into the same point. |
| The noises are too loud (if the normal operation noises change). | • Does the device have a solid stand? • Does the running cooling unit set adjoining furniture or objects into vibration? • Do objects positioned on the top of the appliance vibrate? |
| Indicators 1, 3 or 5 flash on the button. | • The appliance is defective. Please contact the customer service department. |
Appliance specification sheet
| Model identifier | KGK 8905 / 8906 | ||||
| Type of refrigerating appliance: | |||||
| Low-noise appliance: | No | Design type: | Free-standing | ||
| Wine storage appliance: | No | Other refrigerating appliance: | Yes | ||
| Overall dimensions (H × W × D in mm) | 1700 × 540 × 576 | ||||
| Total volume (in l) | 231 | ||||
| EEI | 100 | ||||
| Energy efficiency class | E | ||||
| Annual energy consumption (in kWh/a)* | 221 | ||||
| Airborne acoustical noise emission class | C | ||||
| Airborne acoustical noise emissions (in dB[A] re 1pW) | 41 | ||||
| Climate class | N-T | ||||
| Ambient temperature (in °C) | 16 – 43 | ||||
| Storage time in case of power failure (in h) | 9 | ||||
| Weight (in kg) | 57 | ||||
| Winter setting | No | ||||
| Compartment Parameters: | |||||
| Type | Volume (in l) | Recommended temperature (in°C) | Freezing capacity (kg/24h) | Defrosting type A=auto M = manual | Fast freezing facility |
| Fresh food | 161 | 4 | – | A | – |
| 4-star freezer compartment | 70 | -18 | 3.2 | A | Yes |
| Light source parameters: | |||||
| Type of light source | LED | ||||
| Energy efficiency class | – | ||||
| Electric data | See rating label | ||||
The actual consumption depends on the use and the location of the appliance.
United Kingdom
Homespares Centres Limited Peel House 2 Chorley Old Road BL1 3AA
Tel.: 01204 558160
Fax: 01204 558169
E-Mail: [email protected].
Web: www.homespares.co.uk.
SEVERIN Elektrogeräte GmbH
Röhre 27D-59846 Sundern
Tel+49 2933 982-0
Fax+49 2933 982-333
[email protected].
www.severin.com.
References
Hotel Schneider in Obertauern - 4-star-superior - for your ski holiday
AL & CD Ashley - Kitchen & Home Brands Distributor South Africa
Digialan tuotteet jälleenmyyjille - AV-Komponentti
Beste
Bluestone Sales and Distribution | Suppliers of BRITA, E-Cloth and more
Service Hushållsmaskiner | El & Digital Service AB
Homespares | Spares and Consumables for your home
Khoury Home – Khoury Home Appliances Official Website
Severin Indonesia - Coffee Maker Terbaik
SEVERIN (Official)
SEVERIN (Official)
SEVERIN (Official)
¡Bienvenido a Severin! – Erstklassige Haushaltsgeräte jetzt online entdecken!
SPCSHOP - Mit Freude am Haushalt
































