RKG 8920 Fridge Freezer
Combination Instructions
ART.-NR. RKG 8920 / 8922 / 8923 / 8925
RKG 8920 Fridge Freezer Combination
Dear Customer,
Read the complete instruction manual carefully before you start to use the appliance. Keep it for further use. The appliance is only to be used by persons who are familiar with the safety instructions. If you pass it on, attach these instructions as well.
Intended Use
- The appliance is designed for storage and conservation of food only.
- We are not liable for possible defects in the case of abnormal handling or disregard of the instructions given by this manual.
- This is a compressor cooling appliance, which is qualified for short- and long-term storing of food.
- Cooling appliances are divided into climate classifications. The climate classification for this item can be taken from the appliance specification sheet at the end of this manual.
Safety Instructions
• The appliance is designed for the use in a household or similar, for instance:
- in kitchens for employees in stores, offices and similar working environments;
- in agricultural holdings;
- for customers in hotels and motels and other living environments;
- in bed and breakfast establishments.
- he appliance is not designed for commercial use, neither
- for the use in catering services and similar wholesales.
WARNING: FIRE HAZARD!
The appliance contains the eco-friendly but inflammable cooling medium
Isobutane (R600a). Therefore, you should pay attention that the cooling system is protected during the transport and after the installation of the appliance. If the system is damaged, by no means activate the appliance. In this case, remove open fire or ignition sources from near the cooling medium and aerate the room.- If you sell, hand over or submit your appliance for recycling, you have to refer to the inflammable propellant Cyclopentane (C5H10) in isolation as well as to the refrigerate Isobutane (R600a). Further details can be taken from the chapter Disposal.
- WARNING! Do not damage the cooling circuit. Leaking cooling medium can damage your eyes or cause inflamma- tions.
- WARNING! Do not block the air inlets of the appliance panelling or the design with built-in furniture. A sufficient circulation of air has to be ensured.
- WARNING! Do not use any electric appliances (e.g., ice machines. etc.) that are not described in the manual.
- When positioning the appliance, ensure the supply cord is not trapped or damaged.
- Do not locate portable multiple socket-outlets or portable power supplies at the rear oft he appliance.
- Before plugging it in, check for possible damage during shipping in the power cord or in the appliance itself. If this is the case, the appliance must not be put into operation.
- In this appliance, explosive substances such as an aerosol container with inflammable propellant cannot be stored.
- If reparations or interventions on the appliance are necessary, they have to be executed by an authorized repair service, in order to follow the safety regulations and to prevent endangerment. This also applies to the replacement of the power plug.
- The appliance can be used by children of 8 years or older as well as persons with reduced physical, sensory or mental abilities or lack of experience and/or knowledge, but only if they are supervised or instructed relating to the safe use of the appliance and thus understand the resulting dangers.
- Children aged from 3 to 8 years are allowed to load and unload refrigerating appliances.
- Children are not allowed to play with the appliance.
- Cleaning and maintenance must not be executed by children without supervision.
- Tepid water with an addition of washing-up liquid is suitable for regular maintenance. Further details of the cleaning can be taken from the chapter Cleaning and Defrosting (Maintenance).
- WARNING! Do not take off the cover of the LED interior lighting. In case of a defect of the LED-lamp call the after-sales service (see appendix).
- To avoid contamination of food respect the following instructions:
- Opening the door for long periods can cause a significant increase of the temperature in the compartments of the appliance.
- Clean regularly surfaces that can come in contact with food and accessible drainage systems.
- Store raw meat and fish in suitable containers in the refrigerating appliance so that it is not in contact with or drip onto other food.
- If the refrigerating appliance is left empty for long periods switch off, defrost, clean, dry and leave the door open to prevent mould developing within the appliance.
- There are different zones of low temperature in the refrigerator. The warmest zone is at the top of the door in the refrigerator. The coldest zone is on the back wall at the bottom of the refrigerator.
- For this reason, arrange the food in the following way:
– On the shelves in the freezer (top to bottom): Baked goods, ready-made meals, dairy produce, meat, fish and sausages.
– In the VeggiBox: Vegetables, salad and fruits.
– In the door (from top to bottom): Butter, cheese, eggs, tubes, small bottles, big bottles, milk and juice bags. - In order to prevent damage to persons or property, the appliance can only be transported in a box, and it requires two persons to be installed.
- Caution! Keep your children away from packaging material – choking hazard!
- Regularly check the power plug for damages. If this is the case, do not use the appliance.
- Do not use electric appliances on the storage space to prevent fire hazards. Also, do not put liquid containers on the appliance, so that possible leaking liquids do not interfere with the electronics and the isolation.
- Store high-proof alcoholic substances only tightly sealed and upright.
- Do not store glass bottles with freezable liquids or carbonated liquids in the freezer of the appliance, since they could burst while freezing.
- Do not consume expired food. This could lead to food poisoning. Do not refreeze already defrosted groceries.
- Do not misuse any shelves, compartments, doors, etc., as a tread or for leaning on.
- Do not handle open fire or ignition sources in the interior space of the appliance.
- Pull the power plug:
– in case of disturbances during the operation;
– before every cleaning;
– while working on the appliance. - Do not pull the power cord; always grab the power plug for this purpose.
- We reserve technical changes.
Configuration
- Control panel with light
- Refrigerator glass shelves
- Refrigerator door storage shelfs
- VeggiBox
- Freezer drawers
Transport of the appliance
- During the transport, you have to secure all loose parts in and on the appliance, in order to prevent damage.
- The appliance should not be transported in a vertical position and at the same time not tilted over more than 30 degrees. Wait 30 minutes after the installation, before you connect the appliance to the mains.
- If the appliance was transported with a tilt of more than 30 degrees, wait 4 hours before you connect the appliance to the mains.
Before the initial operation
- Remove the protective sheets and all packaging material incl. the transport securing of the storage spaces and of the trays from the appliance.
- Dispose the packaging professionally.
- You might notice a slight ‘new smell’ when you start the appliance for the first time. It goes away once the appliance begins to cool.
- Clean the interior with tepid water with the addition of washing-up liquid. Clean the equipment separately with rinsing water, not in the dishwasher.
- Before you fill the appliance with food, let it work for 24 hour, so that the target temperature can be reached.
Installation of the appliance
- The appliance should be installed in a dry and well-aired room.
- The appliance can be operated at a humidity of max. 70 %.
- The surrounding temperature, at which the appliance can be operated, can be taken from the appliance specification sheet at the end of this manual.
- Do not install the appliance outdoors.
- Bear in mind that you can pull the power plug anytime.
- Protect the appliance from direct insolation. It should not be installed near heat sources (stove, heater, etc.). If this, however, cannot be avoided, you should put isolation between the heat source and the appliance.
- You must not imbed the appliance in a cabinet. The installation of the fridge directly under a board or a cabinet is disallowed.

- The unevenness of the floor can be compensated with the two vertically adjustable screw-in feet in the front, so that safe stability is attained.
Installation measures
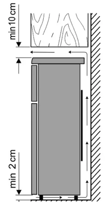
If the appliance is placed sideways on a wall, you will leave a lateral gap of at least 60 mm, so that the doors of the appliance can open in a 90-degree angle. In order to be able to remove the VeggiBox completely from the appliance, detach the bottle compartment if necessary.
| Width (W) | Depth (D) | Height (H) |
| 550 mm | 615 mm | 1830 mm |
| A | B | C | E | F |
| 903 mm | 1100 mm | 125° | 30 mm | 100 mm |
Ventilation

The air warmed behind the appliance needs to circulate freely. For this reason, the circulation of air cannot be compromised.
Caution! Do not cover possible existing ventilation openings in the back area of the top cover plate!
Connection
- Before you connect the appliance, you have to make sure that itself and the power plug do not show any transport damages.
- Connect the appliance only to a shockproof outlet. The mains voltage has to correspond to the one stated on the tool identification plate.
- The appliance complies with the guidelines that are obligatory for CE marking.
- Do not connect the appliance to an inverter
- The power plug should not touch the backside, in order to avoid possible vibration noise.
- The appliance can be put into operation by plugging the mains plug into the point.
- A complete switching-off only occurs by pulling the mains plug.
- If the appliance has been disconnected from the mains, wait approx. 5 minutes after plugging in the mains plug before setting the temperature controller to the desired position.
Operating elements
The temperature adjustment for the refrigerator compartment is set via the controller on the lighting inside the refrigerator.
Place it in a central position to set an optimal temperature for normal use. The further you move the controller to the right, the lower the temperature in the refrigerator will be. The further you move the controller to the left, the higher the temperature in the refrigerator will be.
VeggiBox
The VeggiBox serves as the optimal storage for fruits and vegetables.
Temperature in the freezer compartment
The temperature in the freezer compartment is set to ≤ –18°C by default.
Interior Lighting
Do not take off the cover of the interior lighting. The appliance is equipped with high quality, durable LED-lighting. If the light is inoperative, call our after-sales service.
Freezer Door
The freezer door should always stay closed so that the food does not defrost. Thereby, the formation of ice and frost accretion is reduced. Therefore, make sure that the door
is only open for withdrawal of food or rather for filling the freezer.
Freezing/Storing of Food
Freezer:
- The freezer is designed for the freezing of food, for the long-term storage of frozen food as well as for the appliance ion of ice cubes.
- Fresh food should be frozen to the core as quickly as possible, so that the nutritional value, the vitamins, etc. do not get lost. For this reason, put the food in one or two rows in the freezer.
- Do not bring them into contact with already frozen food.
- Do not exceed the freezing capacity per day! The respective value for the maximum freezing capacity can be taken from the appliance specification sheet at the end of the manual.
- The freezing time shortens if the food to be frozen is divided into small portions.
- Store the frozen food in the appliance only packaged. You can use uncoloured plastic sheets/bags or aluminium foil as packagingmaterial. Remove the air from the packaging before freezing and check for airtightness. Provide every packaging with a label with the content, date of freezing and date of expiry on it.
- Do not freeze carbonated liquids, warm foods or liquids in a glass container or bottle.
- Defrost frozen appliances in the refrigerator. Foods keep their taste when they are defrosted slowly, and the emitted cooling energy from these appliances can be used to maintain the intended temperature in the refrigerator.
- If the appliance is turned off for a longer period of time, e.g., because of a mains failure, leave the door closed. Thereby, a more significant loss of cooling energy can be avoided. The maximum storage time during malfunction can be taken from the appliance specification sheet at the end of the manual. Because of the higher interior temperature, the storage time for food is shortened.
Data for expiry dates of frozen food are indicated in the chart per month.
Do not store the frozen food longer than the given time in the freezer. Pay attention to the expiry date of the frozen food indicated by producer.
Refrigerator:
- Store the food only packaged or covered in the refrigerator, in order to sustain the flavour and the freshness. Especially foods with a strong smell or prone to absorbing smell (cheese, fish, butter, among others) have to be stored separately.
- At first, set an average cooling temperature. If the cooling is too strong, set a higher temperature and if the cooling is too weak, set a lower temperature.
If frost is built upon the back wall, then the cause of this could be that the door was opened too long, warm dishes were in the appliance or the temperature was set too low. - Warm foods have to be cooled down to room temperature before they can be stored in the appliance.
- Make sure that the door is closed correctly and that it is not blocked by cooled food.
Cleaning and Defrosting (Maintenance)
Cleaning
- Always pull the mains plug before cleaning.
- Do not pour water into the appliance.
- Tepid water with a bit of washing-up liquid is suitable for the regular maintenance. In order to avoid an unpleasant smell in the cooling room, a cleaning of the latter once a month is recommended.
- Clean the equipment separately with rinsing water, not in the dishwasher.
- Do not use aggressive, abrasive or alcoholic detergents.
- After cleaning it with clear water, wipe the surface and carefully dry it off.
Subsequently, plug the mains plug with dry hands. - In order to save energy and maintain the efficiency, you should clean the condenser (on the backside) and the compressor at least twice a year with a broom or vacuum
cleaner. - The rating label in the interior of the appliance cannot be damaged or even removed while cleaning.
Defrosting
Defrosting the freezer
If the ice layer in the interior is 2-4 mm thick, the freezer must be defrosted. Clean it at least twice a year.
- Disconnect the mains plug from the socket.
- Remove food from the freezer and store it as cool as possible, e.g., together with ice packs and covered in a plastic recipient. Please remember that the lifetime of the goods is shortened by the temperature increase and that they should be consumed as quickly as possible.
- Leave the door open. To speed up defrosting, place one or more pots with hot but not boiling water in the freezer.
- Warning! Do not use other mechanical devices or any other means, e.g., heating appliances, to speed up defrosting.
- Dry the freezer thoroughly after cleaning.
- Plug in the mains plug. Wait approx. 5 minutes and set the temperature controller to the desired position.
Defrosting the refrigerator
The refrigerator does not have to be defrosted but it does have to be cleaned.
The refrigerator‘s evaporator is fixed into the rear wall, which is why the rear walls can become covered with frost. Whenever the compressor is not working, frost can melt. The resulting water is led through a hose system to the basin on the compressor, where it then evaporates due to the heat generated. When setting the temperature controller, avoid permanent frost without a defrost phase.
Make sure that the drain gully and the drain opening are not blocked so that the water produced in the refrigerator can always flow off unobstructed.
Tips for Energy Saving
- For the installation of the appliance, choose a cool, dry and well-aired room.
- Protect the appliance from direct insolation. It should not be installed near heat sources (stove, heater etc.). If this cannot be avoided, some sort of isolation between heat source and appliance has to be used.
- Don’t cover the ventilation openings and grid. Provide enough circulation of air on the backside of the appliance.
- Let warm food cool down before you store it in the fridge.
- Do not leave the door open too long when withdrawing or putting food inside. Otherwise, the formation of ice in the interior will be accelerated.
- Do not set the temperature lower than necessary. More details on temperature settings can be taken from the chapter ‘Operating elements’.
Operation Noises
There might be some typical operation noises when the appliance is turned on. These are:
- Noise of the electric motor is arising from the working compressor. When the compressor starts to operate, then the noises get slightly louder for a short time.
- Noises in the tubes of the circulation of the refrigerant.
Disposal
Appliances that are marked with this symbol have to be disposed of separately from household rubbish.
These appliances contain valuable resources that can be recycled. A correct waste disposal protects the environment and the health of those around you. To get informed about it, either defer to your municipal administration or the retailer.
- Pull the mains plug out of the socket and disconnect it from the appliance before getting rid of it.
- The cooling medium Isobutane (R600a) and the propellant in the isolation Cyclopentane (C5H10) are inflammable substances, thus, need to be appropriately disposed of.
Make sure the tubes of the cooling circuit don’t get damaged before the proper disposal.
Details for After-Sales Service
If a repair is necessary, please contact the service hotline directly with an explanation of the defect. Before you do that, write down the article number from the rating label
on the appliance (see figure), since this is needed for the smooth processing of your request.
Malfunction Removal
Subsequently, there is a table with possible malfunctions and recovery methods. Check if the recovery methods can repair the malfunctions. If this is not the case, then the appliance has to be disconnected from the mains supply, and the after-sales service has to be contacted.
| Fault | Possible reason and rectification |
| The appliance is not working. | • Power cut. • The main fuse has dropped out. • The fuse in the wall socket is not working. Check this by plugging another appliance into the same point. |
| The noises are too loud (if the normal operation noises change). | • Does the device have a solid stand? • Does the running cooling unit set adjoining furniture or objects into vibration? • Do objects positioned on the top of the appliance vibrate? |
Appliance specification sheet
| Model identifier | RKG 8920 / 8922 / 8923 / 8925 | ||||
| Type of refrigerating appliance: | |||||
| Low-noise appliance: | No | Design type: | Free-standing | ||
| Wine storage appliance: | No | Other refrigerating appliance: | Yes | ||
| Overall dimensions (H xW x D in mm) | 1810 x 550 x 575 | ||||
| Total volume (in I) | 244 | ||||
| EEI | 100 | ||||
| Energy efficiency class | E | ||||
| Annual energy consumption (in kWh/a)* | 202 | ||||
| Airborne acoustical noise emission class | C | ||||
| Airborne acoustical noise emissions (in d13[A] re 1pW) | 40 | ||||
| Climate class | N-ST | ||||
| Ambient temperature (in °C) | 16 — 38 | ||||
| Storage time in case of power failure (in h) | 8 | ||||
| Weight (in kg) | 53 | ||||
| Winter setting | No | ||||
| Compartment Parameters: | |||||
| Type | Volume (in I) | Recommended temperature (in°C) | Freezing capacity (kg/24h) | Defrosting type A=auto M = manual | Fast freezing facility |
| Fresh food | 181 | 4 | – | M | – |
| 4-star freezer compartment | 63 | -18 | 4 | M | – |
| Light source parameters: | |||||
| Type of light source | LED | ||||
| Energy efficiency class | – | ||||
| Electric data | See rating label | ||||
*) The actual consumption depends on the use and the location of the appliance.
Service Centres
| Deutschland SEVERIN Service Röhre 27 59846 Sundern Telefon (02933) 982-460 Telefax (02933) 982-480 E-Mail: [email protected] | Danmark F&H of Scandinavia A/S Gl. Skivevej 70 DK-8800 Viborg Tel.: +45 8928 1300 Fax: +45 8928 1301 E-Mail: [email protected] |
| South Africa AL&CD Ashley (PTY) Ltd. 3rd Floor, Grove Exchange Grove Avenue Claremont South Africa 7708 Tel: +27 21 674 0294 Fax: +27 21 674 0295 Web: http://www.alcdashley.co.za Mail: [email protected] | Oman A.A.K & Partners L.L.C. P.O Box:-1650, Muttrah Postal Code – 114 Sultanate of Oman Tel.: +968 24834470 Fax: +968 24835186 E-Mail: [email protected] |
| Switzerland SPC Electronics AG Mövenstrasse 12 CH – 9015 St. Gallen Tel.: +41 71 227 99 99 E-Mail: [email protected] www.spc.ch | Nederland Severin Nederland B.V. Witteweg 60 1431 GZ Aalsmeer Tel.: +31 297-347054 E-Mail: [email protected] |
| Singapore Beste (S) Pte. Ltd. Tagore Building 6 Tagore Drive, #03-04 Singapore 787623 Tel.: +65 6455 0005 Fax: +65 6455 4010 Web: www.beste.com.sg E-Mail: [email protected] | United Kingdom Homespares Centres Limited Peel House 2 Chorley Old Road BL1 3AA Tel.: 01204 558160 Fax: 01204 558169 E-Mail: [email protected] Web: www.homespares.co.uk |
| Vietnam BRAND PARTNER CTY TNHH DOI TAC NHAN HIEU FLOOR 8, DAG HOLDINGS 87A HAM NGHI NGUYEN THAI BINH WARD, DISTRICT 1 HO CHI MINH CITY, VIETNAM Tel.: +84-28-62 899 648 E-Mail: [email protected] [email protected] Stand: 03/2022 | Thailand Verasu Ltd. part. 83/7 Wireless Rd., Lumpini, Patumwan, Bangkok 10330 Tel.: +662 254 81 008 E-Mail: [email protected] |
SEVERIN Elektrogeräte GmbH
Röhre 27
D-59846 Sundern
Tel +49 2933 982-0
Fax +49 2933 982-333
[email protected]
Model specications are subject to change.
I/M No.: 10239.0000 08/22
www.severin.com![]()
References
Hotel Schneider in Obertauern - 4-star-superior - for your ski holiday
AL & CD Ashley - Kitchen & Home Brands Distributor South Africa
Digialan tuotteet jälleenmyyjille - AV-Komponentti
Beste (S) Pte Ltd : Singapore Official Brand Distributor
Bluestone Sales and Distribution | Suppliers of BRITA, E-Cloth and more
Service Hushållsmaskiner | El & Digital Service AB
Homespares | Spares and Consumables for your home
Khoury Home – Khoury Home Appliances Official Website
Severin Indonesia - Coffee Maker Terbaik
SEVERIN (Official)
SEVERIN (Official)
SEVERIN (Official)
SEVERIN (Official)
SeverinShop
SPCSHOP - Mit Freude am Haushalt


















