Member s Mark Cape Cod 35 Inch Modular Console

THIS ASSEMBLY MANUAL CONTAINS IMPORTANT SAFETY INFORMATION.
PLEASE READ AND KEEP FOR FUTURE REFERENCE.
Quality Statement
Questions or Comments?
We would love to hear about your
Member’s Mark experience! Visit us at:
samsclub.com/membersmarkhelp
Important Safety Information
- Please read all instructions carefully before assembling this product.
- Where applicable, and for your safety, assembly by an adult is strongly recommended.
- Use only vendor-supplied hardware to assemble this item. Using unauthorized hardware could jeopardize the structural integrity of the item.
- Hardware may loosen overtime. Periodically check that all connections are tight.
- Keep instructions for future use.
- Intended for residential use only.
- Keep small parts and hardware out of the reach of children.
Before Assembly
- Remove all parts and hardware from the box. Place all items on a carpeted or scratch-free work surface, as this will avoid damaging parts during assembly.
- The shipping box can provide an ideal work surface if none is available.
- Use the components and hardware lists below to identify, inventory and separate each of the hardware and components included.
- To avoid accidentally discarding small components or hardware, do not dispose of any packaging or contents of the shipping carton until assembly is complete.
- DO NOT USE power tools unless it is explicitly identified in this manual as required for use during assembly. Power tools can damage the fasteners, hardware and/or components.
- Do not fully tighten all fasteners / screws until all parts are in place. Failure to follow these instructions may cause the fasteners / screws to misalign during assembly
Care & Use
- Wood color can fade and/ or sun bleaching can occur when exposed to direct sunlight over a long period of time.
- Avoid placing your furniture in direct sunlight.
- Rearrange accessories over time to prevent spot bleaching
- For daily maintenance, use clean and soft rags or cloths to wipe off dust on the surface along the grains.
- Never use damp rags or anything with a hard surface to rub onto the furniture.
- Always keep surfaces clear of any acid or chemical substances.
- To avoid damage refrain from stacking large and/or heavy objects on top of the furniture.
- Avoid cleaners which use chemical products. Many of these are harsh and not safe for use on upholstery
Package Contents

| Component | Description | Quantity |
| A | Console | 1 |
| B | Anti-Tip Kit | 1 |
Product Information
Product Dimensions – 35” x 18” x 31” (88.9cm x 42.75cm x 78.74cm)
Product Weight Capacity – Supports up to 100 lbs. (45.35 kg)
Shelf Weight Capacity – Supports up to 50 lbs. (22.7 kg)
Drawer Weight Capacity – Supports up to 25 lbs (11.36 kg)
Components
| Console (A) Qty: 1 | Anti-Tip Kit (B) Qty: 1 |
![]() | ![]() |
Hardware
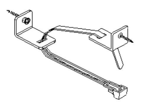
Clips (C) Qty: 2 | Phillips Short Screw (D) | Phillips Long Screw (E) |
Zip Tie (F) Qty: 1 |
Tools
Phillips Screwdriver |
![]() |
Assembly Instruction
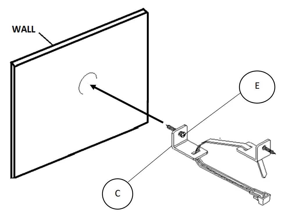
Step 1
Use long screw (E) to secure one clip (C) to the wall
Step 2
Use short screw (D) and screwdriver to secure secondary clip to the back of the console (A). Wait to attach zip tie.
Step 3
Once clips are installed, lace zip tie (F) through wall clip (C) and console clip (C) as shown, and then slide the thin end of the tie through the receiving end of the plastic strap. Pull to tighten the piece of console against the wall. Installation of the Anti-Tip Kit is complete.
To remove the strap, depress the small level that is located at the ratchet end of the strap and slide the strap out
Step 4
When completed with all steps above, please move forward to adjust accessories for individual use or using default as manufacturer has set up.
HINGE
- Loosen or tighten the indicated screw to adjust the gaps forward and backward between doors and console.

- Rotate the screw clockwise or counterclockwise to adjust the door horizontally as shown.

- Loosen or tighten the indicated screw to adjust the door vertically to the desired position.

- Leveler
Your console has legs or feet, the levelers will be on the bottom. Tilt the item back to locate them. Remember, it’s the leveler – not the leg or foot – that needs to be adjusted to level your console
- Drawer
For the drawers, you can find a tool like as image (below) underneath the drawer kit. If want to remove, please hold the release lever, and pull the drawer out as far as it will go. When it reaches the end of its tracks, it should lift straight out.
For install, just do the reverse – keep hold the levers and put back to the tracks and then push inside to make smoothly. If necessary, you can push the Adjustment clip to adjust the top and bottom gaps of drawer.
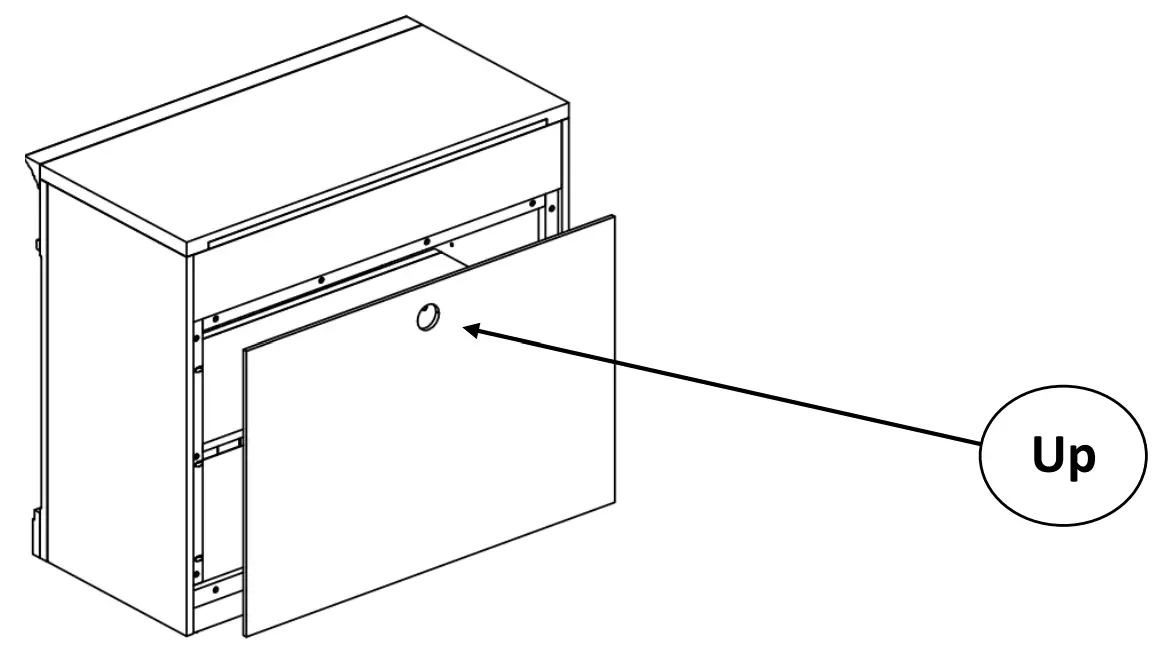
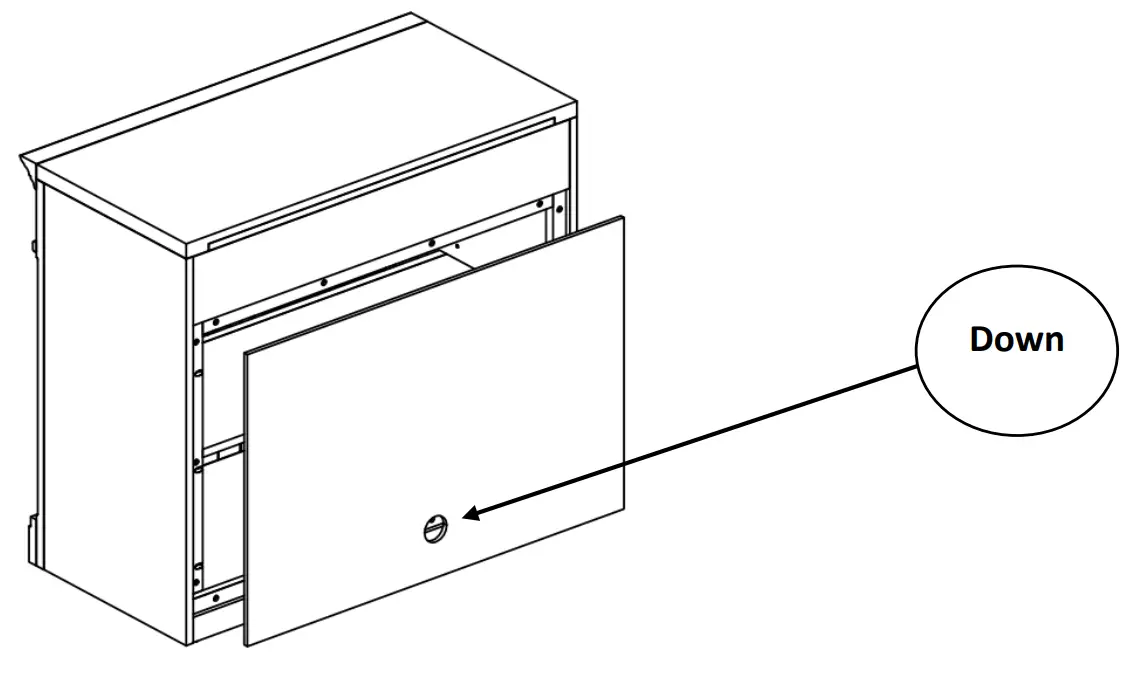
Step 5
- Back panel:
For the back panel of console is removable and can be flipped to make suitable with your device:
- Both options (Up and Down) can use normally on the console.

Step 6
- The shelf of console can be adjusted go up and down with five levels:

- If you want to remove, please lift the shelf a little bit (1) and pull out the shelf pin – work with all the shelf pins until you can align. Then decide which level (2) you want by putting all the shelf pins into the hole. Adjust shelf to balance.

warning
- Do not use this product unless all screws and bolts are securely tightened
- Check that all screws and bolts are secure every three months or as needed
- Dispose of packing material properly. Do not use plastic cover as head covering as it may cause suffocation
- Do not use this product as a stepladder
- Use this product for intended purpose only
- Intended for residential use only.
| |
![]() | Children have died from furniture tip over. To reduce the risk of furniture tip over:
Use of tip-over restraints may only reduce, but not eliminate the risk of tip over. This is a permanent label. Do not remove! |
Troubleshooting
| Problem | Possible Cause | Prevention / Solution |
| Tilting / Leaning | Surface not level | Orient adjustable feet until balance |
Care & Use Instructions
| Care | Use clean and soft rags or cloths to wipe off dust on the surface along the grains. Always keep surfaces clear of any acid or chemical substances. Avoid cleaners that use chemical products. Avoid placing furniture in direct sunlight. Avoid extreme changes in temperature by arranging furniture away from radiators, heat, and air conditioning units. Refrain from stacking large and/or heavy objects on top of the furniture. Rearrange accessories over time to prevent spot bleaching. Wood color can fade and/ or sun bleaching can occur when exposed to direct sunlight over a long period of time. |
| Use | The console can be used as a stand-alone TV Console or a multi-use storage console. |
Storage Instructions
| Cape Cod 35″ Modular Console |
|
Warranty Information
Warranty
This product is covered by the Sam’s Club Member Satisfaction Guarantee. Please visit samsclub.com for more information.
Questions or Comments?
We would love to hear about your
Member’s Mark experience! Visit us at:
samsclub.com/membersmarkhelp
NOTE: Please consider recycling all applicable packaging material.
Distributed by Sam’s West Inc.
2101 SE Simple Savings Dr.
Bentonville, Arkansas 72716-07 45
Made in Vietnam
Need Assistance? Visit us at: samsclub.com/membersmarkhelp





































