RIVER OF GOODS Leonie 13 Inch Indoor 2 Light Ceiling Light Instruction Manual
CAUTION – Refer to the wattage caution label located near the lamp holder for maximum wattage – do not exceed the maximum wattage.
WARNING – Do not attempt to replace the bulb(s) while the lamp is plugged into a wall receptacle
CARE INSTRUCTIONS – Use only a soft cloth; do not use any chemicals or abrasive cleaners.
IMPORTANT SAFETY INSTRUCTIONS

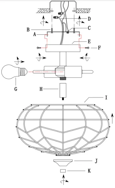
- Attach the mounting bracket(A)to the outlet box by using two mounting screws(F).
- Pull out the outlet wires and housing grounding wire from the outlet box. Make wire connections using the wire nuts (D):
- WHITE wire with WHITE-NEUTRAL
- BLACK wire with BLACK-LIVE
- Attached the fixture grounding wire to mounting bracket with green grounding screw(C). Carefully tuck the wires back into the outlet box.
- Secure the canopy (E) to the metal mounting bracket (A) with screws provided (F).
- Attached the lamp shade(I) to the lamp holder(H), then secure it with socket ring(J&K).
- Install the bulb (not included).
E26 Type A.60W X 2 (Not includ

















