Zhongshan Guzhen Yesheng Lighting Factory HV48 Retractable Ceiling Fan with Bluetooth Speaker

TABLE OF CONTENTS 
- Safety Information
- Technical Specifications
- Tools for Installation
- Parts List
- Installation
- Installing the Downrod
- Changing the Downrod
- Hanging the Fan to Mounting Bracket
- Making the Electrical Connections
- Securing the Canopy
- Installing the Lamp Shade
- Operation
- After Installation
- General Care and Cleaning
- Troubleshooting
SAFETY INFORMATION
WARNING: Read and save these instructions for safe installation and fan operation.
- Before beginning installation, read and understand all instructions and safety information. Thoroughly review all assembly information and drawings and be sure you understand the assembly requirements.
- Installation and wiring must be in accordance with the National Electrical Code and all local codes. If you are unfamiliar with or unable to comply with these requirements, it is strongly recommended that the electrical installation is performed by a qualified licensed electrician.
- To reduce the risk of fire, electric shock or personal injury, turn the electricity off at the circuit breaker or main fuse box before installation and wiring.
- When cutting or drilling into wall or ceiling, do not damage electrical wiring and other hidden utilities.
- To reduce the risk of fire or electric shock, do not use this fan with any solid-state speed control device.
- Mount the ceiling fan directly to a structural framing member or to a metal outlet box capable of reliably supporting a minimum of 35 lbs. (15.9 kg). Use only UL-listed metal outlet boxes marked acceptable for fan support up to 35lbs. ( 15.9 kg) and use screws provided with the outlet box. Plastic outlet boxes and outlet boxes commonly used for the support of lighting fixtures may not be acceptable for fan support and may need to be replaced.
- The fan must be installed with a minimum of 7ft (2.1 m) of clearance from the trailing edge of the blades to the floor.
- Do not place foreign objects in between or in the path of the rotating fan blades.
- After making electrical connections, spliced conductors should be turned upward and pushed carefully up into the outlet box. The wires should be spread apart with the grounded conductor and the equipment-grounding conductor on one side of the outlet box.
- To avoid personal injury or damage to the fan and other items, use caution when working around or cleaning the fan.
- Do not use water or detergents when cleaning the fan or fan blades. A soft brush or a lint free dry or lightly dampened cloth will be suitable for most cleaning.
- The electrical diagram is for reference only.
- The fan is suitable for indoor use only. Do not expose the fan to high temperature and/or high humid conditions.
TECHNICAL SPECIFICATIONS

TOOLS FOR INSTALLATION 
PARTS LIST 
| Part
1 | Description
Mounting Bracket | Quantity
1 | |
| 2 | Canopy Screws | 2 | |
| 3 | Canopy | 1 | |
| 4
5 | Downrod and Hanger Ball 9.8 in/ 25cm Downrod 3.9 in/ 10 cm | 1
1 | |
| 6 | Coupling Cover | 1 | |
| 7 | Clevis Pin | 1 | |
| 8 | Hitch Pin | 1 | |
| 9 | Lock Screw | 2 | |
| 10 | Fan-Motor Assembly | 1 | |
| 11 | Blades | 4 | |
| 12 | Base Plate | 1 | |
| 13
14 | LED Light and Integrated Intelligent Controller and Bluetooth Driver Lamp Shade | 1
1 | |
| 15 | Wood Screws | 4 | |
| 16 | Expansion Bolts | 2 | |
| 17 | Magnetic Balance Tapes | 2 | |
| 18 | Plastic Wire Connecting Nut | 5 | |
| 19 | Remote Control | 1 | |
INSTALLATION
INSTALLING THE MOUNTING BRACKET
WARNING: To reduce the risk of fire, electric shock or personal injury, turn the electricity off at the circuit breaker or main fuse box before installation and wiring.
The ceiling fan must be installed in a location with a minimum of 1 ft (0.3ml of clearance between the tip of the blades to the nearest objects or walls.
Outlet Box (NOT INCLUDED)
- If your installation site does not have an existing UL-listed metal outlet box, one must be installed before proceeding. Make sure the outlet box is mounted directly to the building structure using ceiling joist screws provided with the outlet box and verify it is marked acceptable for fan support up to 35 lbs (15.9 kg).
- Remove any existing ceiling fan or light where you intend to install this ceiling fan.
- Using the screws provided with the outlet box, attach the mounting bracket to the outlet box, passing the 120V electrical supply wires through the hole in the center of the mounting bracket.

Concrete Ceiling
- Mark two points in the concrete ceiling based on the distance between the middle holes on each side of the mounting bracket.
- Drill two holes in the concrete ceiling with an 8mm (5/16″) drill bit. Make sure to drill 1/4″ deeper than the effective bolt length.
- Insert the assembled expansion bolts through the mounting bracket and into the hole, so that the washers, bolt head and nut are flush. You might need a hammer.
- Tighten the nut with a wrench.

Wood Ceiling
- Mark four points in the wood ceiling based on the center of the four holes located in the corners of the mounting bracket.
- Drill pilot holes in each marked point in the wood ceiling using a drill bit that matches the inner diameter of the threaded part of the screw, not the diameter of the threads. Make sure to drill the same depth as the screw.
- Screw the fours screws through the mounting bracket and into the pilot holes to secure it.

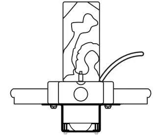
INSTALLING THE DOWNROD
- Remove the clevis pin, the hitch pin and lock screws from the top of the housing.
- Route wires exiting from the top of the fan motor through the coupling cover, canopy and through the downrod and hanger ball.
- Align the holes at the bottom of the downrod with the holes in the coupling on the top of the housing.
- Insert the clevis pin through the holes in the coupling and downrod. Be careful not to jam the clevis pin against the wiring inside the downrod. Insert the hitch pin through the hole near the end of the clevis pin until it snaps into its locked position.
- Tighten the two lock screws on top of the fan housing.

CHANGING THE DOWNWARD OPTIONAL
The ceiling fan comes with a 3.9 in (10 cm) downrod preassembled and attached to the hanger ball. A 9.8 in (25 cm) has been included to be used for higher ceilings. Follow the following steps to change the hanger ball if you need a different downrod length:
- Remove the screw securing the hanger ball to the downrod.
- Remove the ground screw and star washer securing the ground wire terminal to the downrod.
- Slide the hanger ball down and off the downrod.
- Remove the retainer pin from the downrod.
- Install the retainer pin in the other downrod.
- Reinstall the hanger ball with the flat side facing the ceiling until the retainer pin is captured. The hanger ball will be flush with the top of the downrod.
- Reinstall the ground wire with the wire facing up to ensure proper grounding, making sure the star washer is reinstalled in the location shown below. Tighten the ground screw.
- Tighten the screw securing the hanger to the downrod.

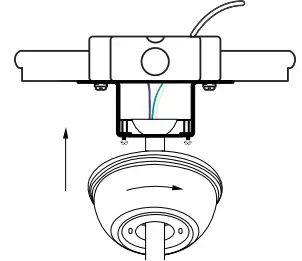
HANGING THE FAN TO MOUNTING BRACKET
WARNING: To reduce the risk of fire, electric shock or personal injury, turn the electricity off at the circuit breaker or main fuse box before installation and wiring.
- Lift the fan assembly onto the mounting bracket opening. Align and engage the tabs on the ball with the slots on the mounting bracket.

MAKING THE ELECTRICAL CONNECTIONS
WARNING: To reduce the risk of fire, electric shock or personal injury, turn the electricity off at the circuit breaker or main fuse box before installation and wiring.
- Connect the downrod and hanger ball green wire (GROUND) to the household green or bare wire using a wire connecting nut.
- Connect the fan-motor assembly white wire (NEUTRAL) to the household white wire using a wire connecting nut.
- Connect the fan-motor assembly blue wire (LIVE) to the household black wire using a wire connecting nut.
- Secure each wire connecting nut using electrical tape.
- Make sure there are no loose strands or connections.
- Turn the wire connecting nuts upward, spreading them apart so the ground and neutral wires will be on one side of the outlet box and the live wires will be on the other side. Carefully tuck the connections up into the outlet box

SECURING THE CANOPY
WARNING: To reduce the risk of fire, electric shock or personal injury, turn the electricity off at the circuit breaker or main fuse box before installation and wiring.
- Slide and align the canopy to the mounting bracket. Ensure all electrical wiring is tucked inside the canopy and that wire are not damaged during this step.
- Secure the canopy to the mounting bracket using the preassembled screws provided.

INSTALLING THE LAMP SHADE
WARNING: To reduce the risk of fire, electric shock or personal injury, turn the electricity off at the circuit breaker or main fuse box before installation and wiring.
- Connect the bluetooth driver black and red wires from the lamp base to the speaker black and red wires from the lamp shade, respectively, with their quick connect plug.
- Align the 4 grooves on the lamp shade with the 4 tabs on the lamp base.
- Rotate the lamp shade clockwise with both hands until it is firmly secured.

OPERATION 
- This ceiling fan is compatible with Tuya Smart App, Amazon Alexa and Google Home.
- Access the following links or scan the QR codes to get user guides on how to install the Tuya Smart App, connect your home devices and set up third party smart virtual assistant devices.

AFTER INSTALLATION
WOBBLE
Note: The fan blades have been adjusted in the factory to minimize any wobble. However, ceiling fans tend to move during operation due to the fact that they are mounted on a rubber grommet. If the ceiling fan was mounted rigidly to the ceiling, it would cause excess vibration. Slight movement is acceptable and does not suggest any problem.
- If there is significant movement, first check that all connections and screws from the mounting bracket and downrod are tighten securely.
- If wobbling continues, follow these steps to balance the fan:

GENERAL CARE AND CLEANING
WARNING: Make sure the power is off before cleaningyourfan.
- Due to the natural movement of a ceiling fan, connections can become loose over time. Check all the ceiling fan’s connections (not including the electrical connections) at least twice a year. It is not necessary to remove the fan from the ceiling.
- Clean your fan periodically. Use only a soft brush or lint free cloth. Do not use water when cleaning, as this could damage the motor or cause an electrical shock.
- The motor has permanently lubricated sealed ball bearings, therefore no further lubrication is required. TROUBLESHOOTING

FCC Rules.
This device complies with Part 15 of the FCC Rules. Operation is subject to the following two conditions:
- this device may not cause harmful interference, and
- this device must accept any interference received, including interference that may cause undesired operation
NOTE: This equipment has been tested and found to comply with the limits for a Class B digital device, pursuant to Part 15 of the FCC Rules. These limits are designed to provide reasonable protection against harmful interference in a residential installation. This equipment generates, uses and can radiate radio frequency energy and, if not installed and used in accordance with the instructions, may cause harmful interference to radio communications. However, there is no guarantee that interference will not occur in a particular installation.
If this equipment does cause harmful interference to radio or television reception, which can be determined by turning the equipment off and on, the user is encouraged to try to correct the interference by one or more of the following measures:
- Reorient or relocate the receiving antenna.
- Increase the separation between the equipment and receiver.
- Connect the equipment into an outlet on a circuit different from that to which the receiver is connected.
- Consult the dealer or an experienced radio/TV technician for help.
Warning: changes or modifications not expressly approved by the party responsible for compliance could void the user’s authority to operate the equipment



















