PHILIPS SES LCM1061 Occ PIR WH Sensor

PIR sensing range
Ceiling installation
Installation height: 2.5-4m (typical value: 3m)
Sensing distance (Figure 1-1): radius 3M (according to NEMA test specification)
This radius is hanging at 3m height,if you hanging at other heights, the inspection distance will be reduced.

Power
Sensor working voltage range 110-277VAC 50/60Hz
When the load is not connected, the static power consumption is less than 1.2W
Maximum load current 4A (resistive load)
Environment
Storage temperature -25–85℃
Working temperature -20–55℃
The sensor parameters in this paper are based on ta25 ℃.
Product description

Surface installation method
Connect the neutral wire N/ live wire L/ output wire OUT through the connector.
The length of tin stripping is 8-10mm, and the installation wire cannot be removed easily.

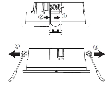
Remove installing back cover.

Remove the snap fasteners on both sides.

Route the external power cable into the rear cover of the wall, and fix the rear cover to the required position using screws.

Then connect the external power line to the terminal post, and install the housing into the back cover. (Note: The extra external power cord should be withdrawn from the sensor, not left inside the sensor)

The concealed installation fixed position shall be able to bear the weight of ≥450g,(Surface installation should be able to bear the weight of ≥600g).
Product protection grade: IP20 (For indoor use only).
Embedded installation method Connect the neutral line N/ live line L/ output line OUT through the connector. The length of tin stripping is 8-10mm, and the installation line cannot be pulled OUT easily.

Opening diameter:φ85-87mm.

Then turn the fixed spring buckle upward and put it into the opening position.

Finally, mount the housing together on the wall.

The concealed installation fixed position shall be able to bear the weight of ≥450g,(Surface installation should be able to bear the weight of ≥600g).
Product protection grade: IP20 (For indoor use only).
Wiring diagram

Load Peak Inrush Current: < 80A.
Calculation method of the number of loadable lamps: Divide the inrush current of the maximum load by the inrush current of the lamps.
Note: If multiple lamps are used in one area, the minimum distance between the two sensors should be 1.5m. It can prevent false triggering.
Wiring steps

Sensor function setting
After powering on, the sensor will warm up for about 40 seconds (less than 1 minute) and enter the working mode.
Adjustment time button such as”MIN.”: adjust the hold on time. You can get different hold on time by adjust the time knob .
Below is the time instruction.

Note:
Once the sensor light is turned on, the timing cycle starts again when the sensor detects the sensor before the light is turned off.
If the time knob is adjusted during the light is on, the latest time value will be activated.
Adjust the “LUX” button: the brightness control module contains a light sensitive element device to distinguish the brightness around the sensor.
This Lux level is vertically illuminated into the sensor light sensation in the darkroom experimental environment.

Technical parameters
- voltage: 100V-277Vac 50/60Hz
- load: Max 4A resistive load
- Induction angle: Maximum 360° (high hanging ceiling)
- Mounting height: 2.5-4m (typical height 3m)
- Induction distance: radius 3m (at height 3m,Ta 25℃)
- Duration of light on: 3 switchs can be adjustable (threshold 10/30/100lux)
- External brightness level: Adjustable from 2min±12s to 30min±3min
- Dustproof and waterproof grade: IP20
- Load Peak Inrush Current: <80A
Please note that:
When the external illumination into the sensor exceeds the threshold, the lamp will not be triggered to light up by the movement signal
The light intensity tap value of the threshold is defined according to the triggering light intensity of the 90 ° vertical incident sensor on the front in the darkroom.
The threshold can be adjusted in 3 gears, and the customer can adjust it to the appropriate gear position according to the field effect.

Please Pay Attention
- 1. The sensor should be installed at least 2 meters away from the heat source,including air conditioning, heater, fireplace and other heating equipment.

- The sensor installation should be more than 2 meters away from the location of the air outlet, which includes the air outlet of ventilation pipe, air conditioning air outlet, fan and other air outlet equipment.

- There can be no shelter within the sensing range.
- The working principle of sensor is to sense the difference between target and ambient temperature .In winter, if people wear too thick clothes, hats and gloves may not be able to sense, if people wear less clothes, the sensing distance will become far, summer temperature close to the human body temperature, the sensing distance will become close.
- The sensor should be installed far away from large equipment, the strong electromagnetic radiation and surges of large equipment may interfere or damage with the sensor.
- If too much dust accumulates on the induction probe, it will affect the induction distance. It is recommended to wipe the lens gently with a soft, dry cloth.
- Please read this manual carefully before installing or using this product.
- The sensor should be installed far away from the door or window where there is wind speed and convection, otherwise it may be triggered frequently by mistake.
- It is recommended that sensors be installed at a ceiling height of 3m to ensure motion coverage and detection range.
- Keep sensors away from routers and other signal devices (Zigbee, WIFI, etc.).
- Switch switching time is more than 5s to avoid incomplete recovery of the relay during the use of the product.
- Do not collision lens with hard objects.
- Do not press the lens by hand.
- If the lens is deformed, contact the dealer to replace it.
- If effective induction signal is generated during the lighting, the lighting time will be postponed. If someone adjusts the time during the light, it takes effect immediately.
The OccuSwitch is designed for use in offices and similar applications, including toilets, storage rooms, etc.
Signify Luminaires (Shanghai) Co., Ltd.
Address:2F, Building 1, No. 2555 Hechuan Road,Minhang District,Shanghai, P.R. China
Postalcode:200233




















