KitchenAid KUDS24SEWH2 Dishwasher

- The KitchenAid Consumer Assistance Center is open 24 hours a day, 7 days a week. Call i-(800) 422-1230. The call is free within the continental United States. In Canada, call l-(800) 461-5681 for English, and 1-(800) 461-5703 for French.
- Call the KitchenAid Consumer Assistance Center when you:
- Have questions about dishwasher installation or operation.
- Need to obtain the name and number of a KitchcnAid-authorized service company.
Important
- Installer: Leave Installation Instructions with the homeowner.
- Homeowner: Keep Installation Instructions for future reference.
- Save Installation Instructions for local electrical inspector’s use.
- Important: Read and save these instructions.
It is your responsibility to
- Observe all governing codes and ordinances.
- Comply with the installation specifications and dimensions.
- Properly install dishwasher.
- Make sure you have everything necessary for proper installation.
- Contact a qualified installer to insure that the electrical and plumbing installations meet all national and local codes and ordinances .
Keep cardboard shipping base or hardboard under dishwasher until it is installed. The shipping base or hardbO”.ird will help to protect floor covering when dishwasher is moved across the floor during installation.
Tools & materials needed for installation
- A. electric drill
- B. Phillips screwdriver
- C. flat-blade screwdriver
- D. 2 adjustable wrenches
- E. pliers
- F measuring tape or ruler
- G. pipe wrench
- f. hole cutters (1/2″, 3/4″, 1- 1/2″)
- I. tubing cutter
- J wire stripper
- K. utility knife
- L. 11/32″ and 1/4″ nut driver or hex socket
- M. 2 twist-on wire connectors for 16-gauge wire
- N. level
- O. safety glasses
- P. gloves
- R. Teflon tape
- S. Drain tube adapter
Part No. 9741366 ( available from your dealer) if connecting to a 1/2″ I.D. drain line.
Not shown: 90 ° elbow with 3/8″ N.P.T. external threads on one end. The size of the other end must fit your water supply line
Parts supplied for installation
- A. 2 drain hose clamps
- B. 2 No.-10 x 1/2″ Phillips-head screws Remove parts from bag. Check that all parts were supplied.

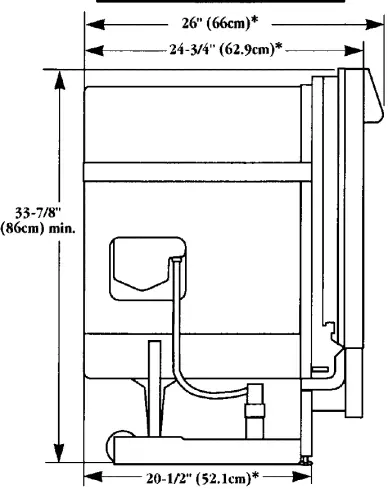
Product dimensions

Built-in opening
- Opening for electrical, drain and water supply lines:
• Must be installed within the shaded area as specified.
• Should be located as close to the rear wall as possible. - Electrical outlet must be installed in an adjacent cabinet.
- Wiring should not contact the motor or dishwasher legs.
- Water line: Cut l/2″(1.3cm) diameter opening.
- Water line Must Not contact the motor or dishwasher legs.
- Drain line and power supply cord: Cut l-l /2″(3.8cm) diameter opening.
- Direct wire electrical supply: Cut 3/4″(1.9cm) diameter opening.
- Install a grommet (Part No. 302797) in opening cut in a metal cabinet for power supply cord or power supply cable.
- Dishwasher must be completely enclosed, sides, top and rear. Side panel kits are available from your dealer for installing your diswasher at tl1e end of a cabinet.
- Black, Part No. 4378868
- White, Part :\lo. 4378867
- Almond, Part :\lo. 4378869

- Unshaded area must be free of pipes, wires and drain hose.
- Power supply cord or cable should not be kinked or pinched between dishwasher and cabinet.
- Leveling legs and wheels adjust to fit 34-inch (86.4cm) to 35-inch (88.9cm) cabinet opening height. If leveling legs and wheels are removed from dishwasher, 33-13/16 inches (85.9cm) is the minimum cabinet opening height. Measure this distance from the lowest point of the underside of the countertop.
- Corner locations require a 2″(5. lcm) minimum clearance between side of dishwasher door and the wall or cabinet.
- Check location where dishwasher will be installed. Do Not install dishwasher over carpeting. The location must provide:
- Protection so that the water inlet and drain lines cannot freeze. Damage from freezing is not covered by the warranty. If dishwasher will be subject to freezing temperatures and left unused for a period of time, see “Winterizing” instructions in your Use and Care Guide.
- Easy access to water, electricity and drninage lines.
- Convenient loading. The best location is to the right or left of a sink.
- A square opening for proper dishwasher operation and appearance.
- A cabinet front that is perpendicular lo the floor.
- 1/4″ (.64cm) minimum clearance between motor and flooring to prevent the motor from overheating.
Electrical
WARNING
Fire Hazard
Do not use an extension cord. Failure to do so can result in death, fire, or electrical shock.
Electrical Shock Hazard
Electrically ground dishwasher.
Connect grounding wire to green grounding nut in terminal box. Failure to do so can result in death or electrical shock.
If codes permit and a separate grounding wire is used, it is recommended that a qualified electrician determine that the grounding path is adequate.
Dishwasher must be connected to the proper electrical voltage and frequency as specified on the model/serial rating plate. The model/serial rating plate is located on the tub behind the dishwasher door.
- CO:-!NECT WITH COPPER WIRE ONLY.
- 120-volt, 60-llz, AC-only, 15-ampere, fused electrical supply is required.
- A time-delay fuse or circuit bre-aker is recommended.
- It is recommended that a separate circ1tit serving only this appliance be provided.
- If using a power supply cord, it must be plugged into a mating, threeÂprong grounding-type wall receptacle grounded in accordance with National and all local codes and ordinances.

Water
- The hot water line to the dishwasher must provide between 15-120 psi (103-827 kPa) water pressure.
- The hot water heater should be set to deliver 120°F ( 49°C) minimum water temperature to the dishwasher for best results.
- A 3/8″ minimum 0.D. copper tubing inlet line is recommended.
- Dishwasher inlet valve has 3/8″ N.P.T. internal pipe threads.
- All solder connections must be made before water line is connected to dishwasher inlet valve. Do Not solder within 6 inches (I 5.2cm) of inlet valve.

Drain
The drain hose supplied meets AHAM DW-1 test standards.
- The drain hose must have a high drain loop, 20 inches (50.8cm) above floor. This will help to prevent backllow or water siphoning during dishwasher operation.
- An air gap must be used in the high drain loop if the drain hose is connected to house plumbing lower than 20 inches (50.8cm).
- The waste tee or disposer inlet must be 20 inches (50.8cm) minimum above the floor.
- Drain hose must be installed to waste tee or inlet above drain trap in house plumbing.
- Drain line and fittings must be 1/2″ minimum I.D.
- If a longer drain hose is required, the maximum length is 12 feet (3.7m). Check that drain hose is resistant to heat and detergent.


Cabinet opening preparation
WARNING
Electrical Shock Hazard Disconnect electrical power at the fuse box or circuit breaker box before installing dishwasher.Failure to do so can result in death or electrical shock.
- Disconnect the power supply.
- Put on gloves and safety glasses.
Electrical - Pick one method to follow (“Direct wire” or “Flexible power supply cord”), depending upon your dishwasher and local codes.
- Complete wiring to cabinet opening according to wiring method you need. Follow all local codes and ordinances.

Direct wire method
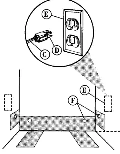
Local codes may pennit using flexible, annored or non-metallic sheathed, copper cable (A) (wid1 grounding wire) to connect dishwasher to junction box. - Cut a 3/4″(1.9cm) hole in rear, side or floor of cabinet (B) for direct wiring. Right side is easiest location. Wood cabinet: Sand hole uotil smooth. Metal cabinet: Cover hole with grommet (Part No. 302797) available from your dealer or parts supplier.
- Install a U.L.-listed conduit connector or strain relief to the junction box. Connect the power supply cable to the junction box. Run the other end of cable through cabinet hole (B). The cable must extend 24 inches ( 61 cm) from the back wall into cabinet opening.

Flexible power supply cord method
Local codes may pennit a U.L.-listed, flexible, power supply cord (Part No. 4317824) ( C) with a three-prong, grounding-type plug (D) to connect dishwasher to grounded outlet (E).
Cut a l-l/2″(3.8cm) hole in rear or right side of cabinet (F) for power supply cord. Right side is easiest location.
Wood cabinet: Sand hole until smooth. Metal cabinet: Cover hole with grommet (Part No. 302797) available from your dealer or part supplier.
Install a mating three-prong grounding-type wall receptacle in an adjacent cabinet.
Water line (protect from freezing) - Cut a 1/2″ (1.3cm) minimum hole (G) in cabinet wall or floor for water line. Left side is easiest location.
- Rough water line (H) to the cabinet opening.
- Install a manual shutoff valve in the water line where it can be easily used.
- Flush water line into a bucket to get rid of any particles that may clog inlet valve. Check that there are no sharp bends or kinks in the water line that may restrict the water flow. Tum shutoff valve to the “OFF” position.
Drain hose - Cut a 1-1/2″ (3.8cm) diameter drain line opening (I) in the cabinet wall or floor.
Leveling the dishwasher
WARNING
Tip Over Hazard
Do not use dishwasher until completely installed.
Do not push down on open door.
Doing so can result in serious injury or cuts.
- Keep cardboard shipping base or hardboard under dishwasher until it is installed. The shipping base or hardboard will help to protect floor covering during installation.
- Remove the four screws attaching access pauel (A) aud lower panel (B) lo dishwasher using a 1/4″ hex socket, nut driver or Phillips screwdriver. Remove panels and set panels aside on a protective surface.

| Min. Cutout Height | Wheel Position (See Illustration) | Number Of Turns To Adjust Levelers |
| 34″ (86.4cm) | 1 | 9 |
| 34-1/8″‘ (86.7cm) | 2 | 6 |
| 34-5/16″‘ (87.2cm) | 3 | 3 |
| 34-1/2″‘(87.6cm) | 4 | 0 |
For additional height
- Add shims under the wheels.
- Turn front levelers (each turn is approximately 1/16″ (1.6mm) in height).
- Measure height of cabinet opening ( C) from underside of countertop to floor. Check chart for that height opening. Put wheels (D) in the required position.

- Adjust the front leveling legs (E) the number of turns listed in the chart. The dishwasher should be installed as level as possible from front to hack
- Put the spring-type drain hose clamp (F) over the drain connector ( G). Push drain hose (H) onto drain connector. Use pliers to open clamp and slide clamp over drain hose and drain connector. Check that drain hose is securely attached to drain connector.
- Tilt dishwasher backwards on wheels when moving across floor to prevent damage to floor covering.
Latch (I) the dishwasher door. Grasp the sides of the dishwasher door near the console 0). Tilt dishwasher backwards on wheels. Move dishwasher close to cabinet opening. Do Not push on the center of the console. Discard shipping base or hardboard. - Insert drain hose into hole cut into cabinet. Check that drain hose does not contact door springs, motor or water line.
- Do Not run drain hose over top of tub. Check that drn.in hose is not kinked or twisted.
- Insert power supply cord into hole cut into cabinet. If using power supply cable, adjust cable and pull towards dishwasher tenninal box.
- Do Not pinch power supply cord or kink power supply cable between dishwasher and cabinet.
- Move dishwasher completely into cabinet opening. Center dishwasher in opening. Check that leveling legs (K) are finnly against the floor. Align the dishwasher door with front of cabinet doors. Check that spacing (L) is the same on both sides.

- Measure height of cabinet opening ( C) from underside of countertop to floor. Check chart for that height opening. Put wheels (D) in the required position.
Drain hose connection
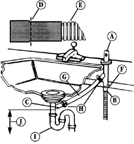
Connect drain hose to an air gap or waste tee using one of the recommended or alternate methods.

Recommended Connection Methods Air Gap
Install Air Gap Kit (Part l\o. 300096) (A) according to kit instructions. If a different air gap is used, it should be checked to make sure it allows for the same air flow.
Drain hose (B) to air gap {A) to waste tee (C)
- Cut drain eud of dmin hose as shown (D). Do Not cut ribbed section to shorten drain hose (E).
- Secure drain hose to air gap with spring-type clamp (F). If spring-type clamp does not fit smaller section of drain hose connector, use a smaller clamp. Smaller clamps are available at plumbing supply stores.
- Connect the air gap to waste tee using a rubber connector ( G)* and spring- or screw-type clamps (H).
- The waste tee connection MUST be ahead of the drain trap (I) and 20 inches (50.8cm) minimum ahove the floor O).

Drain hose (K) to air gap (L) to disposer (M)
- Knock out disposer inlet plug {N) from inlet. If inlet plug falls inside disposer, you must remove inlet plug before connecting drain hose. If disposer is already installed in sink, you may need to remove disposer from sink to remove plug.
- DO ‘.IIOT cut end of drain hose.
- Secure drain hose to air gap with spring-type clamp ( 0).
- Connect the air gap to disposer using a rubber connector {P)* and spring- or screw-type clamps { Q).
- Most disposers have 7 /8″ connectors, or special connectors are available at plumbing snpply stores.
- The disposer connection MUST be ahead of the drain trap (R) and 20 inches (50.8cm) minimum above the floor {S).
All parts are available from your dealer.
Alternate Connection Methods No Air Gap
If local codes permit, the dishwasher drain hose may be connected directly to a waste tee or waste disposer.
Drain hose {A) to waste tee {B)
- Cut drain end of drain hose as shown (C). Do Not cut ribbed section to shorten drain hose (D).
- Secure drain hose to waste tee with spring- or screw-type clamp (E). If spring-type clamp does not fit smaller section of drain hose connector, use a smaller clamp. Smaller clamps are available at plumbing supply stores.
- The waste tee connection MUST be ahead of the drain trap {F) and 20 inches (50.8cm) minimum above the floor {G).

Drain hose {H) to disposer {I)
- Knock out disposer inlet plug from inlet 0). If inlet plug falls inside disposer, you must remove inlet plug before connecting drain hose. If disposer is already installed in sink, you may need to remove disposer from sink to remove plug.
- DO NOT cut end of drain hose.
- Secure dmin hose to disposer with spring- or screw-type clamp {K).
- Most disposers have 7/8″ connectors, or special connectors are available at plumbing supply stores.
- The disposer connection MUSI’ be ahead of the drain trap (L) and 20 inches (50.8cm) minimum above the floor (M).

Water and electrical connection
WARNING
Fire Hazard
Do not use an extension cord.
Failure to do so can result in death, fire, or electrical shock.
Electrical Shock Hazard
Electrically ground dishwasher.
Connect grounding wire to green grounding nut in terminal box.
Failure to do so can result in death or electrical shock.
- Apply Teflon tape to 90° elbow fitting (A) and connect water pipe or tubing (A) directly to water inlet valve (B). Attach other end of fitting to your water supply line (C). Do Not allow the water pipe or tubing to contact the motor or dishwasher legs (D). Tum on water supply and check for leaks.
- Check electrical requirements. Be sure you have correct electrical supply and recommended grounding method. See Page 4.

If connecting dishwasher with power supply cable, check that power supply is disconnected.
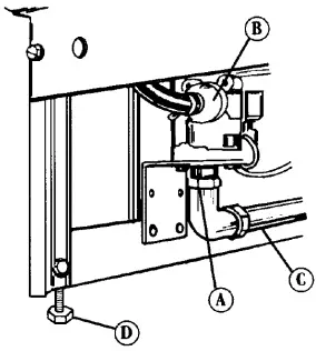
- Remove the dishwasher terminal box cover (D).
- Install a U.L.-listed conduit connector or strain relief (E) to the terminal box.
- Connect the white wire (F) from the power supply cable to the white wire in the terminal box with twist-on wire connector.
- Connect the black wire ( G) from the power supply cable to the black wire in the terminal box with twist-on wire connector.
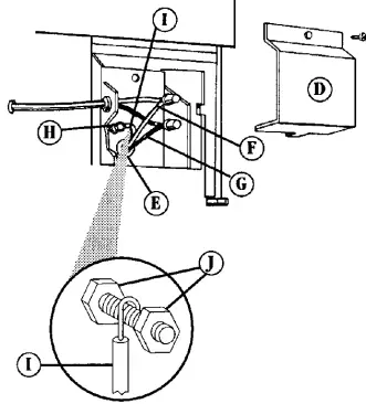
- Loosen front nut (ff) on the grounding connection stud located on the back of terminal box. Do Not loosen the rear nut on the grounding connection stud.
- Form the bare grounding wire (I) into a U-shaped hook. Wrap grounding wire hook around grounding connection stud and between the rear and front nuts 0). Securely tighten the front nut over the grounding wire.
- Tighten conduit connector screws. Replace terminal cover.

If connecting dishwasher with power supply cord, check that power supply is disconnected.
- Use power supply cord kit (Part No. 4317824) available from vour dealer or parts supplier. Follow instructions with kit for installing power supply cord.
If the cord kit is not available, a C.L.-listed, flexible power supply cord must be used. Four feet (l.2m)is the recommended length of power supply cord. - Route power supply cord so it does not touch dishwasher motor or lower part of dishwasher tub.
- Secure power supply cord to dishwasher terminal box with strain relief.
- Plug power supply cord (K) into mating grounded outlet (L).

Attachment
WARNING
Tip Over Hazard
Do not use dishwasher until completely installed.
Do not push down on open door.
Doing so can result in serious injury or cuts.
- Open dishwasher door and remove all shipping materials. Remove bottom rack. Place newspaper (A) or towel over bottom of dishwasher to prevent screws from falling into pump area when securing dishwasher to countertop.
- The dishwasher MUST be secured to countcrtop or floor to keep it from tipping when door is opened.
Countertop attachment: Secure dishwasher to countertop with two, r;o. 10 x 1/2″ Phillips-head screws (B). - Do Not drop screws into the bottom of the dishwasher. Screws, if dropped in pump area, may cause damage to pump or motor.
- Floor attachment: Use floor attachment kit (Part No. 4378968) available from your dealer.










Drain hose
























