KUCHT Professional K6502D Built In Dishwasher
BEFORE YOU BEGIN
Read these instructions completely and carefully.
IMPORTANT
Observe all governing codes and ordinances.
- Note to Installer – Be sure to leave these instructions for the consumer’s and local inspector’s use.
- Note to Consumer – Keep these instructions with your Owner’s Manual for future reference.
- Skill Level – Installation of this dishwasher requires basic mechanical and electrical skills. Proper installation is the responsibility of the installer. Product failure due to improper installation is not covered under the GE Appliance Warranty.
- Completion Time – 1 to 3 Hours. New installations require more time than replacement installations.
IMPORTANT
The dishwasher MUST be installed to allow for future removal from the enclosure if service is required.
If you received a damaged dishwasher, you should immediately contact your dealer or builder.
FOR YOUR SAFETY
Read and observe all CAUTIONS and WARNINGS shown throughout these instructions. While performing installations described in this booklet, gloves, safety glasses or goggles should be worn.
WARNING
To reduce the risk of electrical shock, re, or injury to persons, the installer must ensure that the dishwasher is completely enclosed at the time of installation.
READ CAREFULLY.
KEEP THESE INSTRUCTIONS.
If you have an installation problem, contact your dealer or installer. You are responsible for providing adequate electrical, exhausting and other connecting facilities.
Installation Preparation
PARTS SUPPLIED:
- 4 Wood Screws

- 2 Side Mounting Clips

- 2 Top Mounting Clips

- Screw Type Hose Clamp

- Drain Hose
- Four flat head wood screws to secure dishwasher to underside of countertop (in literature package).
- Screw type hose clamps and one drain hose.
- side mounting clips.
- top mounting clips.
MATERIALS YOU WILL NEED :
- 90° Elbow, Ferrule and Compression Nut

- Hand Shut-Off Valve

- Thread Seal Tape

- Wire Nuts (3)

- Waste Tee

- Electrical Cable
(or Power Cord, if applicable)
- Hot Water line

- Air Gap

- Screw Type Hose Clamps

- Strain Relief

- Coupler
- Ferrule, compression nut and 90° Elbow (3/8″NPT external thread on one end, opposite end sized to t water supply)
- Thread seal tape
- UL Listed wire nuts (3)
Materials For New Installations Only:
- Air gap for drain hose, if required
- Waste tee for house plumbing, if applicable
- Electrical cable or power cord, if applicable
- Screw type hose clamps
- Strain relief for electrical connection.
- Hand shut-off valve
- Water line 3/8″ min. copper
- Coupler for extending drain line, if applicable
TOOLS YOU WILL NEED:
- Phillips Head Screwdriver

- 1/4″ and 5/16″ Nut- driver

- Level

- Flashlight

- 6″ Adjustable Wrench

- Tubing Cutter

- Carpenters Square

- Bucket

- Safety Glasses

- Measuring Tape

- Gloves

- Hole Saw Set

- Drill and Bits
- Phillips head screwdriver
- 5/16″ and 1/4″ nut driver
- 6″ Adjustable wrench
- Level
- Carpenters square
- Measuring tape
- Safety glasses
- Flashlight
- Bucket to catch water when ushing the line
- Gloves
For New Installations Only:
- Tubing cutter
- Drill and appropriate bits
- Hole saw set
PREPARE DISHWASHER ENCLOSURE
- The rough cabinet opening must be at least 24”(609.6mm) deep and to 24”(609.6mm) wide. The opening should be to 35”(889mm) max height.
- The dishwasher must be installed so that the drain hose is no more than 10 feet(3.05mm) in length for proper drainage.
- The dishwasher must be fully enclosed on the top, side and back, and must not support any part of the enclosure.
CLEARANCES: When installed into a corner, allow 2”(50.8mm) min. clearance between dishwasher and adjacent cabinet, wall or other appliances. Allow 25-5/8”(650.9mm) min. clearance from the front of the dish-washer for the door opening.
DRAIN REQUIREMENTS:
- Follow local codes and ordinances.
- Do not exceed 10 feet(3.05mm) in distance to the drain.
- Do not connect drain lines from other devices to the dishwasher drain hose.
- Dishwasher must be connected to waste line with an air gap (not supplied) or 32”(812.8mm) minimum high drain loop, depending on local codes and ordinances to prevent back flow into the dish- washer. Air gap must be used if waste tee or disposer connection is less than 18”(457mm) above the floor to prevent siphoning.
DRAIN PREPARATION:
The type of drain installation depends on answers to the following questions:
- Do local codes or ordinances require installation of an air gap?
- Will waste tee or disposer connection be less than 18”(457mm) above the floor?
If the answer to ANY of the 2 questions above is YES, METHOD 1 MUST BE USED. Otherwise either Method 1 or Method 2 may be used.

CAUTION:
An air gap MUST BE USED if the drain hose is connected to waste tee or disposer lower than 18”(457mm) above the floor.
Failure to provide the proper drain connection height with an air gap or 32”(812.8mm) minimum high drain loop will result in improper draining of the dishwasher.
- Method 1 Air Gap with Waste Tee or disposer
- Method 2 High Drain with Waste
Tee or Disposer
Provide a method to attach drain hose to underside of countertop.
CABINET PREPARATION:
- Drill a 1-1/2”(38.1mm) dia. hole in the cabinet wall within the

for drain hose connection. The hole should be smooth with no sharp edges.
PREPARE ELECTRICAL WIRING
WARNING:
FOR PERSONAL SAFETY:
Remove house fuse or open circuit breaker before beginning installation. Do not use an extension cord or adapter plug with this appliance.
Electrical Requirements:
- This appliance must be supplied with 120V / 60 Hz., and connected to an individual properly grounded branch circuit, protected by a 15 or 20 ampere circuit breaker or time delay fuse.
- Wiring must be two wire with ground.
- If the electrical supply does not meet the above requirements, call a licensed electrician before proceeding.
Grounding Instructions
This appliance must be connected to a grounded metal, permanent wiring system, or an equipment grounding conductor must be run with the circuit conductors and be connected to the equipment grounding terminal or lead on the appliance.
WARNING:
Improper connection of the equipment grounding conductor can result in a risk of electric shock. Check with a qualified electrician or service representative if you are in doubt that the appliance is properly grounded.
Cabinet Preparation & Wire Routing:
- The wiring may enter the opening from either side, rear or the floor within the shaded area.
- Cut a 1-1/2”(38.1mm) max. dia. hole to admit the electrical cable. The hole must be free of sharp edges. If the cabinet wall is metal, the hole edge must be covered with a bushing/grommet.
- Cable direct connections may pass through the same hole as the drain hose and hot water line, if convenient.
Electrical Connection to Dishwasher:
- The electrical connection is located on the right front side of the dishwasher.
- The cable must be routed as shown in

Cable must extend a minimum of 24”(609.6mm) from the rear wall.
PREPARE HOT WATER LINE:
- The hot water line may enter from either side, rear or floor within the shaded area shown in

- The line may pass through the same hole as the electrical cable and drain hose. Or, cut an additional 1-1/2”(38.1mm) dia. hole to accommodate the water line.
WATER LINE CONNECTION:
- Turn off the water supply.
- Install a hand shut-off valve in an accessible location, such as under the sink.
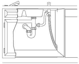
- The water connection is located on the left front side of the dishwasher. Install the hot water inlet line, using a braided flexible hose (available at most hardware stores). Route the line as shown in Fig. 6 and extend it forward at least 18”(457mm) from the rear wall.
- Adjust water tank (heater) for 120 F to 150 F (49C to 65.5C) temperature.
- Flush water line to clean out debris.
- The hot water supply line pressure must be 20 ~ 120psi
CAUTION:
DO NOT OPEN THE DOOR UNTIL YOU ARE READY TO INSTALL THE DISHWASHER.
Opening the door will cause the dishwasher to tip forward. If it is necessary to open the door, hold the top of the dishwasher securely with one hand and hold the door with the other hand.
BEFORE YOU BEGIN
Locate and set aside the package containing the 2 Phillips Head Countertop Mounting Screws.
- STEP: 1 CHECK DOOR BALANCE
To check the door balance, hold the top of the dish-washer firmly.
- Open the door slowly, if the door drops when released, increase spring tension. If the door closes when released, decrease spring tension.
- Pull the spring adjustment pin out of the holes, insert into the next highest or lowest hole and test again.
- Adjust both door springs to the same tension.
- Continue moving the spring pin until the door is balanced.
Installation Instructions
- STEP: 1 SELECT THE BEST LOCATION
- The location must have a solid floor that is able to support the weight of the dishwasher.
- The location must be near a sink with easy access to the water supply, drain, and electrical outlet.
- To operate properly, the dishwasher should be installed within 9.8 ft (3 m) of the sink.
- The location must have sufficient space for the dishwasher door to open easily and provide enough space between the dishwasher and the cabinet sides (at least 0.1 in (2 mm)).
- If the dishwasher is installed in a comer, ensure that the side of the dishwasher is more than 2 in (50 mm) from the wall or cabinet to its right or left.
- STEP: 2 CHECK THE ELECTRICAL REQUIREMENTS
- In the United States, install in accordance with the National Electric Code/State and Municipal codes and/or local codes.
In Canada, install in accordance with the Canadian Electric Code C22.1-latest edition/Provincial and Municipal codes and/or local codes.
- Use flexible, armored or non-metallic sheathed, copper wire with a grounding wire that meets the wiring requirements for your local codes and ordinances.

- STEP: 3 UNPACKING THE DISHWASHER
- unbox the dishwasher in an open area free of obstruction both around the carton and overhead.
We recommend that you retain the carton and all of the acking materials until the dishwasher is fully installed and operational to ensure you have removed all the product’s components from the carton prior to disposal.
- Unbuckle or cut the four straps securing the carton top.
- Lift the top of the telescoping carton clear of the carton tray and the contents, and then turn it over and place it on the floor
- Put the straps and all of the packing materials around the dishwasher inside the carton top, inpecting them for any sign of damage.
- Lift the dishwasher from the carton tray, and then place it on the floor. Put the tray into the carton top.
- Remove the bag that protects the dishwasher.
ALWAYS LIFT THE DISHWASHER TO MOVE IT! Sliding it over rough surfaces can damage the dishwasher´s legs and can also damage the finish or the underlying surface. - Do not remove the sound-absorbent padding that surrounds de exterior of the tub of the dishwasher.
- STEP: 4 INSPECTING THE DISHWASHER
- Check the dishwasher’s legs to ensure they are in place and can be adjusted so you can level and secure the dishwasher.
- Check all the visible components on the bottom of the dishwasher to ensure they are intact and secure.
- Check the operation of the hinge, and confirm the door is properly secured to the dishwasher.
- Check the drain hose for any holes or deformities that could allow a water leak during draining.
- Confirm there are no dents or major scratches on the front (visible part) of the dishwasher.
- STEP: 5 PREPARING THE DISHWASHER
- Ensure that the circuit breaker and water supply valve are turned off before proceeding with the following steps.
- Make sure there are no kinks and that the hose is not bent at any extreme angles that could constrict the flow of water.
- Adjust the height of the legs so the legs are as short as possible. This prevents the legs from breaking. Level the dishwasher by adjusting the height of the legs after you have the dishwasher in place.
- STEP: 6 INSTALL DRAIN HOSE
- Install the screw type hose clamps to the drain hose.
- Install the drain hose to the drain hose installation hose, then tighten the screw type hose hose.

- STEP: 7 INSERT DRAIN HOSE THROUGH CABINET
- Upright the dishwasher and position in front of the opening. Insert drain hose into cabinet wall hole. If a power cord is used, guide the end through a separate hole.

TIP: Position water line and house wiring on the oor to avoid interference with base of dishwasher.
- STEP: 8 SLIDE DISHWASHER PARTIALLY INTO CABINET
DO NOT PUSH AGAINST FRONT PANEL WITH KNEES. DAMAGE WILL OCCUR. - Slide dishwasher into the opening a few inches at a time.

- As you proceed, pull the drain hose through the opening under the sink. Stop pushing when the dish-washer is a few inches forward of adjacent cabinetry.
- Make sure drain hose is not kinked under the dish-washer and there is no interference with the water line and wiring or any other component.
- STEP: 9 POSITION DISHWASHER UNDER COUNTERTOP

- Check to be sure that wires are secure under the dishwasher and not pinched or in contact with door springs or other dishwasher components.
TIP: Check tub insulation blanket, if equipped. It should be positioned so it is not bunched up or interfering with door springs. Check by opening and closing the door.
- Push dishwasher into cabinet. The front corners of the dishwasher door should be ush with cabinet doors. Be careful not to dent font panel with knees or dam-age countertop or cabinets with dishwasher parts.
- STEP :10 LEVEL DISHWASHER
IMPORTANT
Dishwasher must be level for proper dish rack operation and wash performance.
- Place level on door and rack track inside the tub as shown to check that the dishwasher is level.

- Level the dishwasher by adjusting the four leveling legs individually.

TIP: Pull lower rack out, about halfway. Check to be sure the rack does not roll forward or back into dishwasher. If the rack rolls in either direction, the dish-washer must be leveled again.
- If door hits the tub, the dishwasher is not installed correctly. Adjust leveling legs to align door to tub.
- STEP :11 SECURE DISHWASHER TO THE COUNTERTOP
For countertops made of wood or that will not be damaged by drilling, use Method 1.
For countertops made of granite, marble, or other materials that could be damaged by drilling, use Method 2.
METHOD 1
- Use longer brackets.
- Insert the installation brackets into the slot.
- Bend the brackets to secure them to the dishwasher tub.
- Using the provided screws, secure the dishwasher to the countertop through the holes in the bracket.

METHOD 2
- Remove the plastic caps on the mounted bracket access holes.
- Driver a wood screw through the mounted bracket and into the cabinet frame.
- Reinstall the plastic caps.
Open the door remove the tub cap on both sides of the tub. Install screw through the dishwasher side hole to the wall of cabinet. Reinstall tub cap.
IMPORTANT
Drive screws straight and flush. Protruding screw heads will scratch the top of the control panel and can interfere with door closing.
- STEP: 12 CONNECT WATER SUPPLY
Connect water supply line to 90° elbow.
- Slide compression nut, then ferrule over end of water line.
- Insert water line into 90° elbow.
- Slide ferrule against elbow and secure with compression nut.

IMPORTANT
Check to be sure that door spring does not rub or contact the fill hose or water supply line. Test by opening and closing the door. Re-route the lines if a rubbing noise or interference occurs.
- STEP: 12 CONNECT DRAIN LINE
FOLLOW ALL LOCAL CODES AND ORDINANCES
The drain hose molded end will fit 5/8”(15.9mm), 3/4”(19.1mm) or 1”(25mm)diameter connections on the air gap, waste tee or disposer. Cut the marked line as required for your installation.
- If a longer drain hose is required, add up to 42” (1067mm) length for a total of 10ft.(3.05mm) to the factory installed hose. Use 5/8”(15.9mm) or 7/8”(22M) inside diameter hose and a coupler to connect two hose ends.. Secure the connection with hose clamps.

- Secure the drain hose to the air gap, waste tee or disposer with clamps.
NOTE: TOTAL DRAIN HOSE LENGTH MUST NOT EXCEED 10 FEET FOR PROPER DRAIN OPERATION.
DRAIN LINE INSTALLATION
- Connect drain line to air gap, waste tee or disposer using either of the previously determined method.
- Method 1 – Air gap with waste tee or disposer

- Waste Tree Installation

- Disposer Installation
- Method 2 – High drain loop with waste tee or disposer

- Waste Tree Installation

- Disposer Installation
IMPORTANT
When connecting the drain line to the disposer, check to be sure that the drain plug has been removed.
DISHWASHER WILL NOT DRAIN IF PLUG IS LEFT IN PLACE.
TIP: Avoid unnecessary service call charges. Always be sure disposer drain plug has been removed before attaching dishwasher drain hose to dispenser.
STEP :14 CONNECT POWER SUPPLY
Skip this step if equipped with power cord. Verify that power is turned off at the source.
- Remove junction box cover “A”.
- Locate the three dishwasher wires, (white, black and green) with stripped ends. Insert dishwasher wires through the small hole in the junction box “B”.
- Secure house wiring to the bottom of the junction box with a strain relief “C”.
- Use wire nuts to connect incoming ground to green, white to white and black to black “D”.
- Replace junction box cover “E”. Check to be sure that wires are not pinched under the cover.

- Replace Junction Box Cover
WARNING
If house wiring is not 2-wire with ground, a ground must be provided by the installer. When house wiring is aluminum, be sure to use cUL/UL Listed anti-oxidant compound and aluminum-to-copper connectors
- STEP: 15 PRE-TEST CHECKLIST
Review this list after installing your dishwasher to avoid charges for a service call that is not covered by your warranty.
- Check to be sure power is OFF.
- Open door and remove all foam and paper packaging.
- Locate the Owner’s Manual in the literature package.
- Read the Owner’s Manual for operating i nstructions.
- Check door opening and closing. If door does not open and close freely or tends to fall, check spring adjustments. See Step 1.
- Check to be sure that wiring is secure under the dishwasher, not pinched or in contact with door springs or other components. See Step 9.
- Check door alignment with tub. If door hits tub, level dishwasher. See Step 10.
- Pull lower rack out, about half way. Check to be sure it does not roll back or forward on the door. If the rack moves, adjust leveling legs. See Step 10.
- Check door alignment with cabinet. If door hits cab-inet, reposition or relevel dishwasher. See Step 10.
- Verify water supply and drain lines are not kinked or in contact with other components. Contact with motor or dishwasher frame could cause noise. See Step 8.
- Turn on the sink hot water faucet and verify water temperature. Incoming water temperature must be between 120°F and 150°F. A minimum of 120°F tem-perature is required for best wash performance. See “Prepare Hot Water Line,” page 5.
- Add 2 litres of water to the bottom of the dish-washer to lubricate the pump seal.
- Turn on water supply. Check for leaks. Tighten con-nections if needed.
- Remove protective lm if present from the control panel and door.
- STEP :16 DISHWASHER WET TEST
- Turn on power supply (or plug power cord into outlet, if equipped).
- Turn on your dishwasher (please refer to the Owner’s Manual for instructions).
- Close door, select RINSE ONLY cycle and press START/CANCEL.
- Check to be sure that water enters the dishwasher If water does not enter the dishwasher, check to be sure that water and power are turned on.
- Check for leaks under the dishwasher. If a leak is found, turn power supply off, then tighten connections. Restore power after leak is corrected.
- Check for leaks around the door. A leak around the door could be caused by door rubbing or hitting against adjacent cabinetry. Reposition the dish-washer if necessary.
See Step 9. - When the dishwasher is draining, check the drain lines. If leaks are found, turn power off at the breaker and correct plumbing as necessary. Restore power after corrections are made. See Step 12.
- Open dishwasher door and make sure most of the water has drained. If not, check that disposer plug has been removed and/or air gap is not plugged. See Step 13. Also check drain line for kinking.
- Run the dishwasher through another ll and drain cycle. Check for leaks and correct if required.
- STEP :17 REPLACE TOEKICK

- Place 1-piece toe kick against the legs of the dishwasher. The slots should align with toe kick bracket screw holes. Allow the toe kick to touch the floor. Install the toe kick screws.



























































