Installation Instructions
30 and 36”
Electric Cooktop – Induction
BEFORE YOU BEGINQuestions? Call us at 1.800.432.2737 or visit GEAppliances.com. In Canada, call 1.800.561.3344 or visit GEAppliances.ca.
Read these instructions completely and carefully.
- IMPORTANT — Save these instructions for the local inspector’s use.
- IMPORTANT — Observe all governing codes and ordinances.
- Note to Installer – Be sure to leave these instructions with the Consumer.
- Note to Consumer – Keep these instructions for future reference.
- Product failure due to improper installation is not covered under the Warranty.
WARNING This appliance must be properly grounded. - ATTENTION INSTALLER
— ALL COOKTOPS MUST BE HARD-WIRED (DIRECT WIRED) INTO AN APPROVED JUNCTION BOX. A “PLUG AND RECEPTACLE” IS NOT PERMITTED ON THESE PRODUCTS. - Proper installation is the responsibility of the installer and product failure due to improper installation is NOT covered under warranty.
PARTS INCLUDED

MATERIALS YOU WILL NEED

TOOLS YOU MAY NEED

CUTTING THE COUNTERTOP
If you are installing the cooktop in a solid surface material such as granite, quartz, or any other natural or synthetic solid surface, we recommend that the cutout be prepared by a professional cabinet or countertop installer.
Cooktop cutouts in wood or wood-laminate countertops may be able to be prepared using a saber saw and electric drill.
Installation Instructions
IMPORTANT SAFETY INSTRUCTIONS
FOR YOUR SAFETY
- For Personal Safety, remove the house fuse or open circuit breaker before beginning installation. Failure to do so could result in serious injury or death.
- Be sure your cooktop is installed properly by a qualified installer or service technician.
- To eliminate the risk of bums or fire due to reaching over heated surface elements, cabinet storage located above the surface units should be avoided. If cabinet storage space is to be provided, the risk can be reduced by installing a range hood that projects horizontally a minimum of 5″ beyond the bottom of the cabinets. Cabinet installation above the cooktop may be no deeper than 13″.
- Make sure the cabinets and wall coverings around the cooktop can withstand the temperatures (up to 200°F) generated by the cooktop.
- The cooktop should be easy to reach and lighted with natural light during the day.
- Always disconnect the electrical service to the cooktop before repairing or servicing the cooktop. This can be done by disconnecting the fuse or circuit breaker. Failure to do this could result in a dangerous or fatal Know where your main disconnect switch is located. If you do not know, have your electrician show you.
ELECTRICAL REQUIREMENTS
This appliance must be supplied with the proper voltage and frequency and connected to an individual, properly grounded branch circuit, protected by a circuit breaker or a time delay fuse as noted on the nameplate and on the chart below. Use the chart below to determine the minimum recommended dedicated circuit protection:
| KW Rating 240V | KW Rating 208V | Recommended Circuit Size (Dedicated) |
| ≤4.8 KW | ≤4.1 KW | 20 Amp |
| 4.9 KW-7.2 KW | 4.2 KW-6.2 KW | 30 Amp |
| 7.3 KW-9.6 KW | 6.3 KW-8.3 KW | 40 Amp |
| 9.7 KW-12.0 KW | 8.4 KW-10.4 KW | 50 Amp |
We recommend you have the electrical wiring and hookup of your cooktop connected by a qualified electrician. After installation, have the electrician show you where your main cooktop disconnect is located.
Wiring must conform to National Electrical Code and all local electrical codes. You can get a copy of the National Electrical Code, ANSI/NFPA No. 70-Latest Edition, by writing to:
National Fire Protection Association
Batterymarch Park
Quincy, MA 02269
In Canada, wiring must conform to the Canadian Electrical Code (CEC).
The cooktop conduit wiring is approved for copper wire connection only, and if you have aluminum house wiring, you must use special UL-approved connectors for joining copper to aluminum. In Canada, you must use special CSA-approved connectors for joining copper to aluminum.
You must use a two-wire, three conductors 208/240 VAC, 60 Hertz electrical system. A white (neutral) wire is not needed for this unit. The cooktop must be installed in a circuit that does not exceed 125 VAC nominal to ground.
Refer to the nameplate on your cooktop for the KW rating for your cooktop.
These cooktops require 40 amp service for 30” units, 50 amp service for 36” units.

PRE-INSTALLATION CHECKLIST
BEFORE YOU BEGIN
WARNING The electrical power to the cooktop supply line must be shut off while connections are being made. Failure to do so could result in serious injury or death.
A When preparing the cooktop opening, make sure the inside of the cabinet and the cooktop do not interfere with each other. (See section on preparing the opening.)
B Remove packaging materials and literature package from the cooktop before beginning installation.

C Be sure to place all literature, Owner’s Manual, Installations Instructions, etc. in a safe place for future reference.
D Make sure you have all the tools and materials you need before starting the installation of the cooktop.
E Your home must provide the adequate electrical service needed to safely and properly use your cooktop. (Refer to the section on electrical requirements.)
F When installing your cooktop in your home, make sure all local codes and ordinances are followed exactly as stated.
G Make sure the wall coverings, countertop, and cabinets around the cooktop can withstand heat (up to 200°F) generated by the cooktop.
H Installing cooktop in combination with other products. Both products must be installed according to their specific product installation instructions. Consideration must be given to the separate electrical requirements and locations:
Over one or two wall ovens:
- Only certain models may be installed over the wall The wall oven and cooktop will both have a label stating which models are approved in combination.
Over a Microwave:
- See microwave installation instructions for how to install microwave under a cooktop. For the vertical dimension of the cooktop, see the Approximate Cooktop Dimensions section.
In combination with telescopic downdraft vent:
- See telescopic downdraft vent instructions for how to install a vent behind a
- The countertop must have a deep flat surface to accommodate the combined installation of the cooktop and
- Allow 12″ clearance between the inlet airports on the bottom of the
Over a warming drawer:
- See warming drawer instructions for how to install a warming drawer under a For the vertical dimension of cooktop, see Approximate Cooktop Dimensions section.
I Monogram Flush Mount Kit
- If you intend to mount your cooktop flush to the counter, please order the kit number The flush mount kit provides supplemental cut-out instructions to mount the product flush with the counter.
- APPROXIMATE COOKTOP DIMENSIONS

Size Models X Y Z Front Z Rear 30″ PHP9030DJBB CHP9530SJSS ZHU3ORSPSS ZHU3ORDPBB 29 3/4″ 21″ 4 5/8″ 3 114″ 30° PHP9030SJSS 29 7/8″ 21″ 4 5/8″ 3 1/4″ 36″ PHP9036DJBB CHP9536SJSS ZHU36RSPSS ZHU36RDPBB 36″ 20 1/2″ 4 518″ 3 1/4″ 36″ PHP9036SJSS 36 1/8″ 20 1/2″ 4 5/8″ 3 1/4″ • Depth at the rear of cooktop at conduit location.

- CUTOUT DIMENSIONS OF THE COUNTERTOP
To ensure accuracy, it is best to make a template when cutting the opening on the counter.
- The following MINIMUM clearance dimensions must be maintained.

If a 30” clearance between the cooking surface and overhead combustible materials or metal cabinets cannot be maintained, a minimum clearance of 24” is required and the underside of the cabinets above the cooktop must be protected with not less than 1/4” insulating millboard covered with sheet metal not less than 30 gages (0.0125”) thick. A ventilation hood may be installed above the cooktop. See the ventilation hood installation instructions for the appropriate dimensions and clearances. - Make sure the wall coverings, countertop, and cabinets around the cooktop can withstand heat (up to 200°F) generated by the cooktop.

- VERTICAL CLEARANCES
Allow 3” minimum vertical clearance for air space from the cooktop bottom (or 5-7/8” minimum depth from the countertop) to any combustible surfaces, such as the
top of a cabinet drawer.
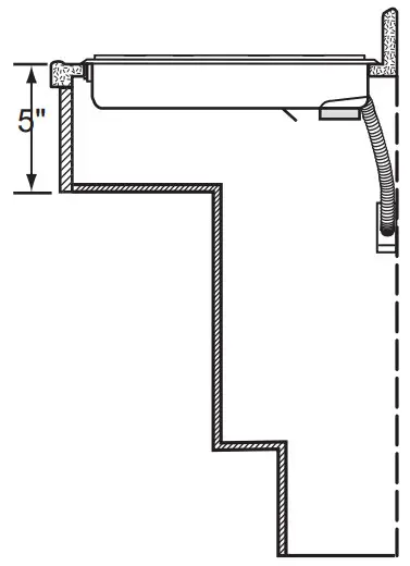
- FOR AMERICANS WITH DISABILITIES ACT (ADA) FORWARD APPROACH INSTALLATION ONLY
Allow 5” minimum depth between the countertop and an enclosure.
NOTE: The enclosure must be made of at least 1/4” wood material. Also, an access panel is required for the junction box, hold-down brackets, and service.
INSTALLING THE COOKTOP
- INSTALLING THE JUNCTION BOX
Install an approved junction box where it will be easily reached through the front of the cabinet where the cooktop will be located. The cooktop conduit is 4 feet long.
WARNING The junction box must be located where it will allow considerable slack in the conduit for serviceability.
- PROTECT SURFACE OF COOKTOP
Place a towel or tablecloth onto the countertop. Lay the cooktop upside down onto the protected surface.
- INSTALL BAFFLE
Secure the baffle to the cooktop with screws.
NOTE: Do not install the baffle when the cooktop is installed over a single oven.
INSTALLING THE COOKTOP (Cont) - ATTACH FOAM TAPE
Apply the foam tape around the outer edge of the glass. Do not overlap the foam tape.
- MOUNTING PARTS
Remove the hold-down brackets and screws from the literature package. Screw the Hold Down Bracket to the side of the cooktop unit. Repeat for the opposite side of the cooktop.
Alternate Installation:
You can order an alternate installation kit WB01X24570 with wing nuts and brackets by calling GE Appliances at 800. GE.CARES (800.432.2737). See diagram for instructions. Open the cabinet door. Install the second screw through the bracket and tighten. Then tighten the first screw. Install thumbscrew until it touches the bottom
of the countertop.
IMPORTANT: Turn the thumbscrew until it touches the bottom of the countertop. Do not overtighten. - INSERT COOKTOP INTO CUTOUT
Insert the cooktop centered into the cutout opening. Make sure the front edge of the countertop is parallel to the cooktop. Make a final check that all required clearances are met.
Attach Hold Down Brackets to the cabinet.
NOTE FOR INSTALLING ABOVE A WALL OVEN: When installing the cooktop above a single wall oven, do not install the baffle. The wall oven will need to be removed during the cooktop installation and then re-installed into its space.
IMPORTANT: Maintain a minimum distance of 31-1/4” from the top surface of the countertop to the wall oven platform to ensure that the cooktop and wall oven do not interfere with each other (see picture).
ELECTRICAL CONNECTIONS
A When making the wire connections, use the entire length of a conduit provided. The conduit must not be shortened.
B With the cooktop in place, open the front of the cabinet door.
C Insert the wires from the conduit through the opening of the junction box. The conduit strain relief clamp must be securely attached to the junction box and the flexible conduit must be securely attached to the clamp.
WARNING Improper connection of aluminum house wiring to copper leads can result in an electrical hazard or fire. Use only con NEC tors designed for joining copper to aluminum and follow the manufacturer’s rec om mend ed procedure closely.
THREE-CONDUCTOR BRANCH CIRCUIT CONNECTION
When connecting to a three-conductor branch circuit, if local codes permit:
D Connect the cooktop green ground conductor lead to the branch circuit ground (green) using a wire nut.
E Connect the cooktop red lead to the branch circuit red lead in ac cor dance with local codes, using a wire nut.
F Connect the cooktop black lead to the branch circuit black lead in ac cor dance with local codes, using a wire nut. If the residence red, black or white leads are aluminum conductors, see WARNING.
G Install Junction Box Cover.
NEW CONSTRUCTION AND BRANCH CIRCUIT CONNECTION
- When installing in new construction, or
- When installing in a mobile home, or
- When installing in a recreational vehicle, or
- When local codes do not permit grounding through neutral:
D Attach the appliance grounding lead (green or bare copper) in accordance with local codes. If the residence grounding conductor is aluminum, see WARNING.

E Connect the red and black leads from the cooktop conduit to the corresponding leads in the junction box. Connect the ground wire.
F Once the connections are made, secure wires together using wire nuts.
G Install Junction Box Cover.

CHECKLISTS
- PRE-TEST CHECKLIST
A Remove all protective film, if present, and any stickers.
B Check to be sure that all wiring is secure and not pinched or in contact with moving parts.
C Check level of the appliance.
D Check that the cooktop is properly grounded. - OPERATION CHECKLIST
A Remove all items from the top of the cooktop surface.
B Turn on the power to the cooktop. (Refer to your Owner’s Manual.) Verify that all surface burners operate properly.
C Check that the circuit breaker is not tripped or the house fuse blew.
D Check that conduit is securely connected to the junction box.
NOTE TO ELECTRICIAN:
The power leads supplied with this appliance is UL recognized for connections to a larger gauge household wiring. The insulation of these leads is rated at temperatures much higher than the temperature rating of household wiring. The current carrying capacity of a conductor is governed by the wire gauge and also the temperature rating of the insulation around the wire.
NOTE: ALUMINUM WIRING
WARNING IMPROPER CONNECTION OF ALUMINUM HOUSE WIRING TO THE COPPER LEADS CAN RESULT IN A SERIOUS PROBLEM.- Splice copper wires to aluminum wiring using special connectors designed and UL approved for joining copper to aluminum and follow the manufacturer’s recommended connector procedure closely.
NOTE: Wire used, location, and enclosure of splices, etc., must conform to good wiring practice and local codes.
31-2000021 Rev. 3











Alternate Installation:
Attach Hold Down Brackets to the cabinet.


















