CBIS3618B STUDIO Induction Cooktop
Installation Guide
Before Installing
Before You Begin
Installation and service must be performed by a qualified installer.
Important: Save these instructions for local electrical inspectors use. Read and save these instructions for future reference.
Read these instructions completely and carefully.
CAUTION
- If storage is located under the cooktop, do not use it to store flammable or heat-sensitive items such as detergents, aerosols, cleaners, water, food, or plastics.
NOTE
Installer:
- Read all installation instructions before installing the cooktop.
- Remove all packing material before connecting the electrical supply to the cooktop.
- Observe all governing codes and ordinances.
- Only certain cooktop models may be installed over certain built-in electric oven models.
- Be sure to leave these instructions with the consumer.
NOTE
Consumer:
- Keep this owners manual and Installation instructions for future reference.
NOTE
- This appliance must be properly grounded.
- Damage caused by failure to follow these instructions is not covered by the cooktop warranty.
Tools Needed
- Pencil
- Saber Saw
- Phillips Screwdriver
- Flat-blade Screwdriver
- Pliers
- Tape measure
- Level
- Drill
- Safety Glasses
- Gloves
Parts not Provided
- Junction Box
- Wire Nuts
- Strain Relief (Conduit Connector)
Unpacking the Cooktop
- Unpack and visually inspect the cooktop for any damage or missing components.
- Be sure the bottle of cleaner and conditioner packed in the literature bag is left where the user can find it easily. It is important that the ceramic-glass cooktop be pretreated before use. See Care and Cleaning.
Model and Serial Number Location
The model and serial numbers are located on a plate on the front side of the cooktop. Please record them in this guide; you will need them for warranty registration.
Technical Specifications
| Models | CBIS3618B | |||
| Description | Induction Cooktop | |||
| Electrical Specifications | Connection voltage | 240/208 VAC 60 Hz., 44.4 A / 41.6 A | ||
| Maximum connected power load | 10650 W / 8650 W | |||
| Cooktop Dimensions | 36 5/8″ (930 mm) (W) x 3 9/16″ (91 mm) (H) x 21 1/16″ (535 mm) (D) | |||
| Countertop Cutout Dimensions | Standard Installation 34 3/8″ (873 mm) (W) x 5 5/8″ (142 mm) (H) x 19 13/16″ (503 mm) (D) | |||
| Cooking Zones | Position | Size | Power (Level 9 / Boost) | |
| Front Left | 8 1/2″ x 7 1/8″ (216 mm x 180 mm) | 1500/3000 W (208 V) 1850/3700 W (240 V) | ||
| Front Right | 8 3/16″ (208 mm) | 1500/3000 W (208 V) 1850/3700 W (240 V) | ||
| Rear Left | 8 1/2″ x 7 1/8″ (216 mm x 180 mm) | 1500/3000 W (208 V) 1850/3700 W (240 V) | ||
| Rear Right | 6″ (152 mm) | 1150/1450 W (208 V) 1400/1800 W (240 V) | ||
| Flex Left | 8 1/2″ x 14 3/16″ (216 mm x 360 mm) | 2700/3000 W (208 V) 3300/3700 W (240 V) | ||
| Center | 11″ / 7″ (280 mm / 178 mm) | Inner Burner: 1500/3000 W (208 V) 1850/3700 W (240 V) Dual Burner: 3000/4900 W (208 V) 3700/6000 W (240 V) | ||
NOTE
- The maximum power of each cooking zone depends on the size and material of the cookware used.
Preparing the Installation Location
Important Installation Information
- All electric cooktops run off a single phase, three-wire or four-wire cable, 240/208 volt, 60 hertz, AC-only electrical supply with ground.
- Minimum distance between cooktop and overhead cabinetry is 30″ (762 mm).
- Make sure the cabinets and wall coverings around the cooktop can withstand the temperatures (up to 93 °C [200 °F]) generated by the cooktop.
Dimensions and Clearances

- Do not obstruct these areas.
- Right side
- Radius: 3/8″ (10 mm)
- 47X 8”(102 mm x 203 mm) opening to route armored cable if panel is present.
- Approximate location of junction box
| – | Dimension/Clearance | 36″ Cooktop |
| A | Width of upper plate | 36 5/8″ (930 mm) |
| B | Depth of upper plate | 211/16″ (535 mm) |
| C | Distance from bottom of upper plate to bottom of conduit | 37/16″ (87 mm) |
| D | Width of cooktop base | 337/8″ (860 mm) |
| E | Depth of cooktop base | 195/16″ (490 mm) |
| F | Distance from bottom of upper plate to bottom of cooktop base | 25/16″ (58 mm) |
| G | Height of conduit | 11/8″ (29 mm) |
| H | Distance from side edge of cutout to side of counter | ≥11/8″ (28 mm) |
| I | Width of cutout | ≥ 34 3/8″ (873 mm) ≤34.1/2″ (876 mm) |
| J | Depth of cutout | ≥ 19 13/16″ (503 mm) ≤ 19 15/16″ (506 mm) |
| K | Depth of bottom cabinets | 24″ (610 mm) |
| L | Distance from front of counter to front edge of cutout | ≥ 23/16″ (55 mm) |
| M | Distance from rear edge of cutout to nearest combustible surface | ≥ 21/16″ (52 mm) |
| N | Height below cutout (Empty space is needed underneath the cooktop for optimum performance.) | ≥ 5 5/8″ (142 mm) |
| O | Depth of overhead cabinets | ≤13”(330 mm) |
| P | Clearance from top of cooking surface to bottom of overhead cabinets | ≥ 30″ (762 mm) |
| Q | Clearance from top of cooking surface to bottom of overhead cabinets | ≥ 36” (914 mm) |
| R | Clearance from countertop to bottom of adjacent cabinets | ≥ 18″ (457 mm) |
| S | Distance from edge of cooktop to nearest combustible wall (either side of unit) | ≥ 2″ (50 mm) |
| T | Junction box (approximate location) | 10” (254 mm) |
| U | Junction box (approximate location) | 127 (305 mm) |
All dimensions are stated in inches and millimeters (mm).
Allow 2” (50 mm) space below the armored cable opening to clear the electric cable and allow space for installation of the junction box on the wall at the back of the cooktop.
Thickness of glass: 3/16″ (4 mm)
CAUTION
- To eliminate the risk of burns or fire by reaching over heated surfaces, cabinet storage space located above the cooktop should be avoided. If cabinet storage is provided, risk can be reduced by installing a range hood that projects horizontally a minimum of 5” (127 mm) beyond the face of the cabinets.
- It is very important to keep 3 5/16″ (84 mm) distance between the cooktop and a drawer or oven 1 underneath it.
Installing the Cooktop
Electrical Connections
Important Safety Instructions
- Be sure the cooktop is installed and grounded properly by a qualified installer or service technician.
- This cooktop must be electrically grounded in accordance with local codes or, in their absence, with the National Electrical Code ANSI/NFPA No. 70, latest edition in the United States.
WARNING
- The electrical power to the cooktop must be shut off while line connections are being made. Failure to do so could result in serious injury or death.
Providing the Electrical Connection
- Install the junction box under the cabinet and run 120/240 or 120/208 Volt, AC wire from the main circuit panel.
NOTE
- DO NOT connect the wire to the circuit panel at this time.
Electrical Requirements
Observe all governing codes and local ordinances
- A3-wire or 4-wire single-phase 120/240 or 120/208 Volt, 60 Hz AC-only electrical supply is required on a separate circuit fused on both sides of the line (time-delay fuse or circuit breaker is recommended). DO NOT fuse neutral. The fuse size must not exceed the circuit rating of the appliance specified on the nameplate.
- 36″ induction cooktop can consume up to 10650 W at 240 VAC. A 50 Amp circuit breaker with wire guage #8 AWG must be used.
WARNING
• Do not use an extension cord with this appliance. Such use may result in a fire, electrical shock, or other personal injury.
NOTE
• Wire sizes and connections must conform to the fuse size and rating of the appliance in accordance with the National Electrical Code ANSI/NFPA No. 70, latest edition, and local codes and ordinances. - The appliance should be connected to the fused disconnect (or circuit breaker) box through flexible armored or nonmetallic sheathed cable. The flexible armored cable extending from this appliance should be connected directly to the grounded junction box. The junction box should be located as shown in Dimensions and Clearances with as much slack as possible remaining in the cable between the box and the appliance, so it can be moved if servicing is ever necessary.
- Asuitable strain relief must be provided to attach the flexible armored cable to the junction box.
Electrical Connection
Connect the flexible armored cable that extends from the surface unit to the junction box using a suitable strain relief at the point the armored cable enters the junction box. Then make the electrical connection as follows.
Electrical ground is required on this appliance.
This appliance is manufactured with a supply wire and a frame-connected green or bare copper grounding wire.
NOTE
TO ELECTRICIAN:
- The armored cable leads supplied with the appliance are UL-listed for connection to larger gauge household wiring. The insulation of the leads is rated at temperatures much higher than the temperature rating of household wiring. The current-carrying capacity of the conductor wire is governed by the temperature rating of the insulation around the wire, rather than the wire gauge alone.
WARNING
- DO NOT ground to a gas supply pipe. DO NOT connect to electrical power supply until appliance is permanently grounded. Connect the ground wire before turning on the power.
WARNING
- This appliance is equipped with a copper conductor flexible cable. If connection is made to aluminum house wiring, use only special connectors which are approved for joining copper and aluminum wires in accordance with the National Electrical Code and local codes and ordinances. Improper connection of aluminum house wiring to copper leads can result in a short circuit or fire. Follow the connector manufacturer’s recommended procedure closely.
Where Local Codes Permit Connecting the Appliance-Grounding Conductorto the Neutral (White) Wire
Observe all governing codes and local ordinances.
- Disconnect the power supply.
- Atthe circuit breaker box, fuse box orjunction box, connect appliance and power supply cable wires as shown.
WARNING
- You may not ground the cooktop through the neutral (white) wire if cooktop is used in a new branch circuit installation (1996 NEC), mobile home, recreational vehicle, or where local codes do not permit grounding to the neutral (white) wire. When grounding to the neutral (white) wire is prohibited, you must use a 4-wire power supply cable. Failure to heed this warning may result in electrocution or other serious personal injury.
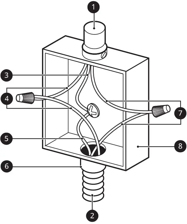
3-Wire Grounded Junction Box 
- Cable from Power Supply
- Cable from Cooktop
- White Wire (Neutral)
- Red Wires
- Green Wire (Ground)
- UL-listed Conduit Connector
- Black Wires
- Junction Box
If Cooktop is Used in a New Branch Circuit Installation (1996 NEC), Mobile Home, Recreational Vehicle, or where Local Codes Do Not Permit Grounding to the Neutral (White) Wire
opserve all governing codes and local ordinances.
- Disconnect the power supply.
- At the circuit breaker box, fuse box or junction box, connect appliance and power supply cable wires as shown.
WARNING
- If connecting to a 4-wire power supply cable electrical system, the appliance frame connected ground wire MUST NOT be connected to the neutral wire of the 4-wire electrical system.
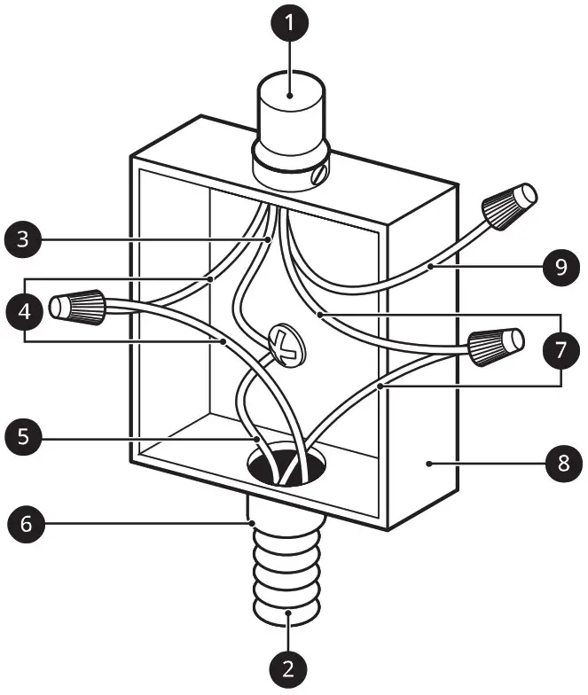
4-Wire Grounded Junction Box 
- Cable from Power Supply
- Cable from Cooktop
- Ground Wire
- Red Wires
- Green Wire (Ground)
- UL-listed Conduit Connector
- Black Wires
- Junction Box
- White Wire (No Connection)
Installing the Cooktop Unit
- Visually inspect the cooktop for damage.
Make sure all cooktop screws are tight (see below for locations).
1. 3 Screws (Same Both Side)
2. 4 Screws (Same Both Side) - Check and prepare the installation location.
• See Dimensions and Clearances. - Carefully lower the cooktop into the countertop cutout, making sure not to trap any wires.
NOTE
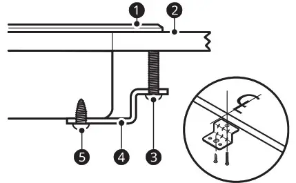
• Do not use caulking compound. The cooktop must be removable, should service be required. - Attach the retainer brackets 1 to the bottom of the cooktop; then snug the bolts against the bottom of the countertop as shown.
NOTE
- The retainer brackets MUST be installed to meet local codes or, in their absence, with the National Electrical Code ANSI/NFPA No. 70, latest edition.

- Cooktop
- Countertop
- Bolt
- Retainer Brackets
- Type A Screw
Final Check
Perform a final operational check of the cooktop, making sure the cooktop powers on properly and that each cooking zone operates correctly. Refer to the Operating Instructions in this guide for details.

1. 3 Screws (Same Both Side)
NOTE


















