LUCYBALU Straight Wandliege Cat Wall Lounger

Included in the package

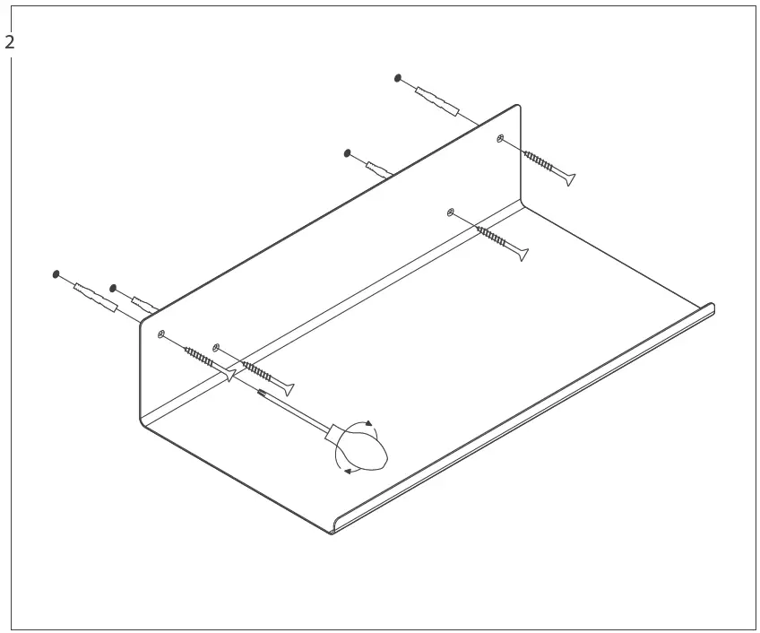
You will need

Installation



Attention!
Please use the appropriate fixing (screws and plugs) for your kind of wall. The supplied standard fitting kit is appropriate for conventional walls made of concrete and full brick. For other wall types, such as plasterboard, special plugs are required.
Please take care you always drill at a 90-degree angle.
LucyBalu GmbH . Hellabrunner Str. 30 . 81543 München, Germany . T +49 (0) 89 121 29 420 . [email protected]. www.lucybalu.com.



















