THE HOME DEPOT HW63199-SA Chaise Lounge

Product Information
Chaise Lounge
The Chaise Lounge is a piece of furniture for outdoor use. It has a wooden frame and comes with cushions for added comfort. The package includes all necessary hardware and tools for assembly.
Package Contents
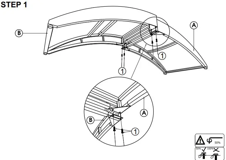
- A wooden frame consisting of pieces A, B, C, and D
- Cushions (1 pc)
- Bolts – M6 x 20 (8 pcs)
- Allen key – 4 x 98 (1 pc)
Care and Maintenance
To keep your Chaise Lounge in good condition, use a soft, clean cloth to dust it regularly. Do not use furniture polish unless you have tested it in an inconspicuous area first. Avoid using solvents on the furniture as they may damage the finish. If there is a liquid spill, gently blot it with a clean cloth. Check bolts and screws periodically and tighten them if necessary.
To protect your outdoor furniture from long-term sunlight exposure, use a cover when it is not in use. Extreme temperature and humidity can also damage the wood and metal frame. By following these tips, you can extend the life of your Chaise Lounge.
Product Usage Instructions
- Unpack all the components from the package.
- Identify the wooden frame pieces: A, B, C, and D.
- Use the bolts (M6 x 20) and Allen key (4 x 98) to assemble the wooden frame according to the instructions in Steps 1-4 of the manual.
- Attach the cushions to the wooden frame.
- Your Chaise Lounge is now ready for use!
Note: Make sure to check the bolts and screws periodically and tighten them if necessary to ensure the stability of the Chaise Lounge.
Before You Start
Read each step carefully before starting. It is very important to ensure each step followed in correct order, otherwise assembly difficulties may occur.
Most of board parts are labeled or stamped on the raw edges. Have a check to make sure all parts are included.
Work in a spacious area, preferably on a carpet close to where the unit will be used.
Keep the handtools close at hand. Do not use power tools to assemble your furniture.
They may scratch or damage the parts.

OVERVIEW

PARTS & TOOLS

INSTALLATION



Care and Maintenance
Use a soft, clean cloth that will not scratch the surface when dusting. Use of furniture polish is not necessary.
Should you choose to use polish, test first in an inconspicuous area. Using solvents of any kind on your furniture may damage the finish. Liquid spills should be removed immediately. Using a soft clean cloth, blot the spill gently. Avoid rubbing.
Check bolts/screws periodically and tighten them if necessary.
Further advice about wood furniture care
Please protect your outdoor furniture with a cover when not in use since Long-term sunlight exposure will result in the damage on the surface.
In addition to sunlight damage, wood and metal frame suffers when exposed to extremes in temperature and humidity.
Proper care and cleaning at home will extend the life of your purchase. Following these important and helpful tips will enhance your furniture as it ages.




























