molift BM43099 Raiser Pro Patient Transfer Aid

Molift Raiser Pro
User manual
BM43099 Rev. B 2018-11-22
Contents
User manual – English – 4
Bruksanvisning – Svenska – 8
Brukermanual – Norsk – 12
Brugsvejledning – Dansk – 16
Handleiding – Nederlands – 28
Manual d`utilisation – Francais – 32
Molift Raiser Pro / www.etac.com
General
Labels and symbols: CE marked
Declaration of conformity: The Molift Raiser Pro described in this user manual is CE marked in accordance with EU Council Directive 93/42/EEC concerning medical devices, class 1, and has been tested according to standard SS-EN12182:2012
Conditions for Use: Transferring a person may pose an element of risk. Only trained personnel should use the equipment covered by this user manual.
Warranty: 2-year warranty against defects in workmanship and materials of the Product. For Terms and conditions, see www.etac.com
Product label:
The label contains art. number and serial number (bar codes). The EAN code contains;
- (01) (EAN no.): xxxxxxxxxxxxxx
- (11) (Batch): YYMMDD
- (21) (Serial number): xxxxx
- Art.no. 16090204 RAISER PRO
- (01)07071865112224(11)YYMMDD(21)xxxxx
- Serial no. xxxxx
Symbols: CE marked
Important: We recommend only using Etac components and spare parts. Declaration of conformity is not valid and Etac is not responsible for warranty if any modifications are made to the Product. Etac shall not be liable for faults or accidents that can occur when using components made by other manufacturers.
- Refer to user manual: Max temperature/time 70 10 when washing. pH when washing 170 375
- Max user weight (SWL): 170kg (375 lbs)
Important safety information
Risk assessment: It is important that the Molift Raiser has been tested with the individual user and for the intended transfer. Assess the risks and take notes. Evaluate the user’s ability to use the Product and if needed use any suitable Molift Raiser Pro accessories. You as a carer are responsible for the safety of the user.
Molift Raiser Pro Handle: Only technical personnel are
allowed to perform repairs.
Molift Raiser Pro – intended use: Molift Raiser Pro is a sit-to-stand transfer aid used indoors on flat surfaces for shorter from one sitting position to another sitting position. Transfer between wheelchair and bed/toilet or chair. Can also be used for repositioning farther back in the wheelchair. Users must be active, able to grip and pull up their own body weight. Raiser Pro is designed for easy maneuvering and works well in confined spaces.
Technical data
- Safe Working Load (SWL): 170kg (375 lbs)
- Weight of unit: 10kg
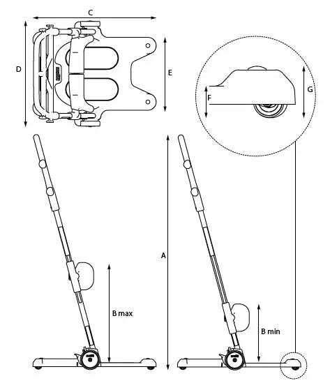
Dimensions:
- Height(A): 1,2 m
- Height (B): 0,3-0,51 m
- Depth (C): 0,63 m
- Width (D): 0,54 m
- Width (E): 0,37m
- Step in height (F): 0,035m
- Clearence (G): 0,057m
Material: Powder coated aluminum, Plastic, Steel.
Expected Lifetime: The Molift Raiser Pro has an expected
lifetime of 5 years or 15000 transport cycles.
Product Usage Instructions
- Place the base plate on an even surface and lock brakes.
- Insert the pipe with holes facing towards the center of the plate. The pipe with the label must be at the right, standing on the assistant side.
- Insert the knob to secure the pipe to the base plate.
- The Molift Raiser Pro is intended for use as a sit-to-stand transfer aid indoors on flat surfaces for shorter transfer from one sitting position to another sitting position, transfer between wheelchair and bed/toilet or chair, and for repositioning farther back in the wheelchair.
- Ensure that users are active, able to grip and pull up their own body weight before using the Molift Raiser Pro.
- Assess the risks and evaluate the user’s ability to use the product before use. Only trained personnel should use the equipment covered by this user manual.
- Use suitable Molift Raiser Pro accessories if needed.
- Only technical personnel are allowed to perform repairs.
- Wash the product with a maximum temperature of 70 degrees Celsius for a maximum of 10 minutes and a pH between 170 and 375.
General
Declaration of conformity
The Molift Raiser Pro described in this user manual is CE marked in accordance with EU Council Directive 93/42/EEC concerning medical devices, class 1, and has been tested according to standard SS-EN12182:2012
Conditions for Use:
Transferring a person may pose an element of risk. Only trained personnel should use the equipment covered by this user manual.
Warranty:
2-year warranty against defects in workmanship and materials of the Product. For Terms and conditions,
see www.etac.com
Visit www.etac.com to download the latest version of our documentation.
Important
Read User Manual before use!
It is important to fully understand the content of the user manual before attempting to use the equipment. This User Manual contains important safety instructions and information regarding the use of the Molift Raiser Pro. For instructions/information regarding the accessories, see separate user manual.
In this manual the user is the person being transferred.
The assistant is the person operating the Molift Raiser Pro. Modifications and use of components made by other manufacturers:
We recommend only using Etac components and spare parts. Declaration of conformity is not valid and Etac is not responsible for warranty if any modifications are made to the Product. Etac shall not be liable for faults or accidents that can occur when using components made by other manufacturers.
Risk assessment
It is important that the Molift Raiser Pro has been tested with the individual user and for the intended transfer. Assess the risks and take notes. Evaluate the user’s ability to use the Product and if needed use any suitable Molift Raiser Pro accessories. You as a career are responsible for the safety of the user.
Only technical personnel are allowed to perform repairs.
Molift Raiser Pro – intended use
Molift Raiser Pro is a sit-to-stand transfer aid used indoors on flat surfaces for shorter transfer from one sitting position to another sitting position. Transfer between wheelchair and bed/toilet
or chair. Can also be used for repositioning farther back in the wheelchair. Users must be active, able to grip and pull up their own body weight. Raiser Pro is designed for easy maneuvering and works well in confined spaces.
Labels and symbols
Product label:
The label contains art. number and serial number (bar codes). The EAN code contains;
- (01) (EAN no.): xxxxxxxxxxxxxx
- (11) (Batch): YYMMDD
- (21) (Serial number): xxxxx
Symbols:
CE marked
Refer to user manual
Max temperature/time when washing.
170 375 Max user weight (SWL)
pH when washing
Important safety information- Short user guide:


Molift Raiser Pro

Technical data
- Safe Working Load (SWL): 170kg (375 lbs)
- Weight of unit: 10kg
Dimensions:
- Height(A): 1,2 m
- Height (B): 0,3-0,51 m
- Depth (C): 0,63 m
- Width (D): 0,54 m
- Width (E): 0,37m
- Step in height (F): 0,035m
- Clearence (G): 0,057m
Material:
- Powder coated aluminum, Plastic, Steel.
Expected Lifetime:
- The Molift Raiser Pro has an expected lifetime of 5 years or 15000 transport cycle

Supplied parts

Mounting pipes to base plate

- Place the base plate on an even surface and lock brakes. Insert pipe with holes facing towards center of plate. Pipe with label must be at the right, standing on the assistant side. Insert knob.
- Tighten knob firmly by turning knob clockwise.
Make sure that knob are Properly fastened. Loose knobs can make the pipes wobbly and the Molift Raiser Pro unsafe to use.
Mounting leg support
The knee cushions are adjusted individually. The leg support has 7 step adjustment from 0,3 to 0,51 meters. Follow these two steps when mounting the leg support:

- Pull release wire and slide the leg support on pipes, cushion faceing user side.
- Release wire and let the leg support settle in desired position.
Mounting handle

- Slide the handle on pipe so holes on pipe marching holes on handle. Insert unbrace screws and tighten with Allen key.
- Make sure unbrace screws are pointing towards assistant side.
Checklist after assembly
Don’t start using Molift Raiser Pro before completing the checklist after assembly.
Use this checklist to verify that the Molift Raiser Pro is Properly installed and can operate correctly and safely before use. See assembly information on the previous page for details.
- Make sure that the leg support is mounted correctly.
- Make sure that both knobs between outer pipes and base plate are mounted correctly and Properly tightened Make sure that the handle is mounted correctly.
- Make sure Molift Raiser Pro moves freely.
- Make sure brake works.
Adjusting leg support height

- Pull wire on the back side of cushions. Move leg sup-port up or down to desired height.
- When correct knee support height is obtained, release wire and let the leg support settle in desired height. You will hear the leg support “click” in place and the red wire is straight.
The knee support height can be read from the scale on the pipe. The number above the leg support bracket referes to the correct height.
Make sure both sides are properly settled. Push up or down until you get the auditiv feedback click.
Unattached leg support can cause knee support to slide down and make the Molift Raiser Pro unsafe to use.
Positioning Molift Raiser Pro

- The user’s feet are placed on the footplate.
- Adjust the height of the leg support so that the top of the support is below the knee of the user.
- When desired height is reached the leg support “click” in place.
Transferring user

- Lock both wheels by pressing down the brake on one side. Both wheels lock regardless of which side assistant steps on.
Place one foot on the edge of the base plate. Choose a grip on the handle that is comfortable for both assis-tant and the user. - Encourage the user to stand up, at the same time, counter balancing the users weight using a foot and hands (use your body-weight by leaning backwards).
The wheels must always be locked when the user stands up and sits down.
- Release the brake with one foot. Pull the Molift Raiser backwards and then steer it toward the new seating position. Make sure that any wheels are locked in the new seating. The transfer is best done with the user faced in the direction of travel.
- Lock both wheels. Place a foot on the edge of the footplate before the user sits down. Counter balance while the user sits down. Maintain eye contact with the user during the entire transfer Process.
The care must always counter balance the weight of the user when she/he stands up or sits down.
Transport and storage
Molift Raiser Pro can be stored and transported under temperatures between -25 – 70 °C and relative humidity between 15 – 93 % Don`t use the Molift Raiser Pro for transportation of goods.
User / Assistant
The assistant has to be able to handle the weight of the user.


Make sure the users weight is close to the center of the base plate.
Accessories
- Molift Raiser Soft Handles

- Molift Raiser Strap

- Molift Raiser Strap +

- Molift Raiser Belt

Cleaning and disinfection
Clean on a regular basis. Clean surfaces with a damp cloth using an appropriate pH-neutral detergent. Do not use solvents or strong liquids, this may damage surfaces on the Molift Raiser Pro. For disinfection when needed; use isopropyl alcohol or similar. Avoid abrasive cleaning Products. Remove hair and pile from the wheels, verify that the wheels rotates freely and brakes functions Properly. Make sure not to damage or remove labels when cleaning.
Reconditioning
Follow cleaning and assembly Procedure. Separate reconditioning document is available at Etac.com.
Recycling
Molift Raiser Pro can be disposed of as metal and plastic waste. Recycling instructions is available at Etac.com
Spare parts
A list of spare parts is available at Etac.com.

Refer to user manual
Max temperature/time when washing.
170 375 Max user weight (SWL)
pH when washing
Important safety information






















