Homewell HMW-GR103S Electric BBQ Grill

Important Safeguards
When using electrical appliances, basic safety precautions should always be followed, including the following:
- READ AND FOLLOW all instructions carefully and thoroughly, before assembly, installation, use or service.
- DO NOT TOUCH HOT SURFACES such as the Lid, Bowl and Cooking Grill. Use handles or knobs … wear oven mitts when handling hot components or touching hot surfaces.
- TO PROTECT AGAINST fire, electric shock or personal injury, do not immerse unit, cord, plug, heating element or temperature control in water or any other liquids. Do not rinse under tap.
- CLOSE SUPERVISION is necessary when any appliance is used by or near children.
- THIS APPLIANCE IS NOT INTENDED for use by persons with reduced physical, sensory, or mental capabilities, or lack of experience and knowledge, unless they are under the supervision of a responsible person or have been given proper instruction in using the appliance.
This appliance is not intended for use by children. - ALWAYS UNPLUG FROM OUTLET when not in use and before cleaning.
Allow to cool completely before putting on or taking off parts. - DO NOT operate any appliance with a damaged cord or plug, or after the appliance malfunctions or has been damaged in any manner.
Return appliance to the nearest authorized service facility for examination, repair or adjustment. - THE USE OF ACCESSORY ATTACHMENTS not recommended by the appliance manufacturer may cause injuries.
- DO NOT use any replacement parts not provided by the appliance manufacturer. Use only identical replacement parts.
- THIS PRODUCT is intended for household use only, and is suitable for outdoor use.
- DO NOT let power cord hang over edge of table or counter, or touch hot surfaces.
DO NOT place on or near a hot gas or electric burner, or in a heated oven. - EXTREME CAUTION must be used when moving an appliance, hot racks, pans and other cooking vessels containing hot oil or other hot liquids.
- ALWAYS ATTACH the Temperature Control to the appliance first, then plug cord into the wall outlet. To disconnect, turn any control to “off”, then remove plug from wall outlet.
- DO NOT use appliance for other than its intended use.
- SAVE THESE INSTRUCTIONS.
- USE ONLY manufacturer designation temperature-controlling probe or plug set supplied with the product. Use only DCT-00lC Dachang Hardware and Electronics Technology Co. Ltd.
temperature controlling plug. - RISK OF ELECTRIC SHOCK. Cook only when unit completely assembled, and all parts are securely fastened and tightened.
- KEEP THE barbecue and electric controller dry at all times. Keep electric plugs off the ground and dry at all times.
- DO NOT use in humid or wet conditions.
- ONLY USE A PROPERLY-GROUNDED power source; use with a properly-grounded Ground-fault circuit-interrupter (GFCI) household circuit.
- NEVER alter or remove grounding plugs on the power cord or replacement information.
- IN CASE OF FIRE, turn the controller to “off”, unplug the barbecue from the power source and allow the fire to burn out on its own.
Do not use water to try to extinguish a fire. - KEEP THE APPLIANCE and its power cord out of the reach of children when it is in operation or in the “cooling down” process.
Do not place cord where it may become a tripping hazard. - DO NOT plug in the power cord or operate the Unit controls with wet hands.
- NEVER CONNECT THIS APPLIANCE to an external timer switch or separate remote-control system.
- DO NOT USE fuel, such as charcoal or lava rocks with this appliance.
Do not use barbecue lighter fluid, gasoline, kerosene or alcohol with this barbecue. - DO NOT OPERATE THE APPLIANCE on or near combustible materials such as tablecloths and curtains. Do not use in the presence of explosive or flammable gases, vapors or other substances.
- KEEP ANY COMBUSTIBLE materials at least 3 feet away from the grill at all times.
Do not use this barbecue under any overhang or near combustible structures. - WHEN COOKING, do not place the appliance against a wall or against other appliances. Leave at least 6″ free space on the back and sides and above the appliance. Do not place anything on top of the appliance.
WARNING
- Do not store or use gasoline or any other flammable vapors or liquids in the vicinity of this appliance.
- When cooking with oil or grease, do not allow the oil or grease to exceed 480°F/2S0°C on the grill. Do not store extra cooking oils in the vicinity of this appliance.
- A short power-supply cord (or detachable power supply cord) should be used to reduce the risk resulting from becoming entangled in or tripping over a longer cord.
- Longer detachable power-supply cords or extension cords are available and may be used if care is exercised in their use.
- If a longer detachable power-supply cord or extension cord is used:
1) The marked electrical rating of the cord set or extension cord should be at least as great as the electrical rating of the appliance; and - THIS APPLIANCE IS NOT DESIGNED for tabletop use. Do not set this appliance on a table.
- DO NOT USE this appliance for any purpose other than described in this manual.
- NEVER operate the appliance unattended.
- IMPROPER USE, assembly, installation, adjustment, service or maintenance can cause serious injury and property damage.
- FAILURE to follow instructions could result in electric shock, fire or explosion.
- AFTER A PERIOD OF STORAGE, inspect the barbecue for abrasion, wear, cuts, or damage to the controller and power cord.
- ALWAYS OPEN the barbecue lid carefully. Heat and steam trapped inside the lid can cause injuries.
- ALWAYS USE a meat thermometer to ensure food is cooked to a safe temperature.
2) The cord should be arranged so that it will not drape over the countertop or tabletop where it can be pulled on by children or tripped over unintentionally.
3) If the appliance is of the grounded type, the extension cord should be a grounding-type 3- wire cord.
CAUTION: To reduce the risk of electric shock, keep the extension cord dry and off the ground.
- The temperature control, thermostat prong side is protected with a detachable silicone jacket for outdoor moisture resistance.
DO NOT remove this jacket during normal operation, and if found to be broken, replace before use. - While it is still hot or still connected to the temperature control plug and energized, do not place the heating element on flammable materials such as wood tables.
CAUTION
- Always operate the appliance on a horizontal surface that is level, stable and noncombustible. Use caution when operating on wood decks.
Do not use in or on boats or recreation vehicles. - Do not use appliance on floor surfaces where heat or hot grease may cause damage.
- This appliance is intended for normal household use only.
It is not intended for use in commercial or retail environments.
Suitable for use outdoors. - If the appliance is used improperly or for professional or semi-professional purposes or if it is not used according to the instructions in the user manual, the warranty becomes invalid and we will not be held liable for damages.
SAVE THESE INSTRUCTIONS Outdoor extension cords should be used with outdoor use products and are surface marked with the suffix letter “W” and with a tag stating “Suitable for use with outdoor appliances:
The connection to an extension cord should be kept dry and off the ground.
Store products indoors when not in use-out of the reach of children.
Do not clean this product with a water spray or the like.
- Always unplug the appliance after use.
- Let the appliance cool completely before handling, removing parts, cleaning or storing indoors.
ELECTRIC POWER
If the electrical circuit is overloaded with other appliances, your new Unit may not operate properly.
It should be operated on a dedicated, separate electrical circuit.
ELECTROMAGNETIC FIELDS (EMF)
This appliance complies with all standards regarding electromagnetic fields (EMF).
If handled properly and according to the instructions in this user manual, the appliance is safe to use based on scientific evidence available today.
FOR HOUSEHOLD USE ONLY
Electric Barbecue Grill Parts
IMPORTANT: Your Electric Barbecue Grill has been shipped with the components shown below.
Check everything carefully before assembly or use. If any part is missing or damaged do not use this product and contact shipper using the customer service number located in the back of this owner’s manual.
PRODUCT DIAGRAM


- Lid
- Bowl
a. Opening for the Temperature Control - Cooking Grill
- Heat Reflector Plate
- Heating Element
- Bowl Handle (x2)
- Temperature Control
a. Thermostat Prong
b. Dial
c. Wall Plug
d. Off and Temperature Level Light Indicator
e. Silicone Jacket for Moisture Resistance - Lid Handle
- Air Vent
- Hinge Bracket
a. Upper
b. Lower - Connection Part
- Drip Tray
- Pillar
- Base
- Locking Pin M5*123
- Foldable Warming Rack
HARDWARE COMPONENTS
(Screws, Nuts, Washers)
| 17. Small Screw MS*12 (7 pcs) | ![]() |
| 18. Medium Screw M6*20 (13 pcs) | ![]() |
| 19. Long Screw M6*4S (4 pcs) (Affixed to Bowl Handles) | ![]() |
| 20. Small Wing Nut MS (6 pcs) | ![]() |
| 21. Large Wing Nut M6 (11 pcs) | ![]() |
| 22. Lock Washer (27 pcs) | ![]() |
| 23. Flat Washer (27 pcs) | ![]() |
| 24. Flat Nut MS (2 pcs) | ![]() |
Note: Hand tools such as a cross-head screw driver, pliers, and/or a small spanner may be required for assembly. Wear protective gloves during assembly.
Assembly Instructions
NOTE: In each step described below, tighten all connections by hand first. Once assembly is complete, tighten all connections fully.
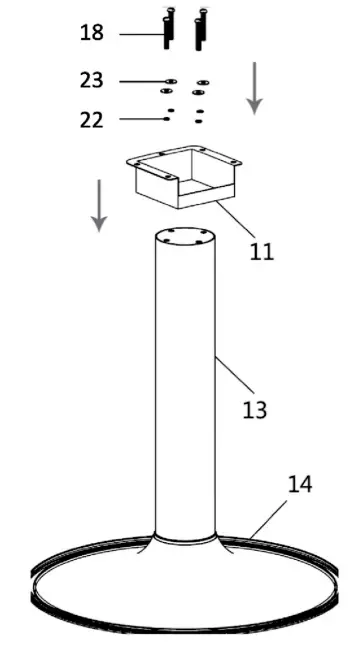
Step 1- Attach Pillar (part #13) to Base (part #14)
Hardware: M6*20 medium screws (part #18) – 4 pcs
flat washers (part #23) – 4 pcs
lock washers (part #22) – 4 pcs
Locate the Pillar and the Base. Set aside four (4) M6*20 medium screws, four (4) lock washers and four
(4) flat washers. Place a lock washer and then a flat washer on each screw. Put the Pillar on the Base as shown below, and align the holes. From the underside of the Base, screw the Base to the Pillar using the lock washers, flat washers and medium screws.
Step 2 – Connection Part (part #11)
Hardware: M6*20 medium screws (part #18) – 4 pcs
flat washers (part #23) – 4 pcs
lock washers (part #22) – 4 pcs
Place the Base on flat ground. Locate the Connection Part.
Set aside four (4) M6*20 medium screws, four (4) lock washers and four (4) flat washers.
Place a lock washer and then a flat washer on each screw.
Put the Connection Part on the Pillar as shown here, and align the holes. Screw the Connection Part to the Pillar using the lock washers, flat washers and medium screws.
Step 3 – Attach the Bowl (part #2)
Hardware: M6 large wing nuts (part #21) – 5 pcs
M6*20 medium screws (part #18) – 5 pcs
flat washers (part #23) – 5 pcs
lock washers (part #22) – 5 pcs
Ensure the assembled Base is on flat ground.
Locate the Bowl.
Set aside five (5) M6 large wing nuts, five (5) M6*20 medium screws, five (5) lock washers and five (5) flat washers. Place the Bowl on top of the Connection Part as shown below, and align the five (5) holes.
Insert a medium screw up from the underside of the Connection Part through the Bowl. From inside the Bowl, place a flat washer then lock washer on each screw and affix using the medium wing nut.
Step 4 – Bowl Handles (part #6) with M6*45 long screws (part #19)
Hardware: M6 large wing nuts (part #21) – 4 pcs
flat washers (part #23) – 4 pcs
lock washers (part #22) – 4 pcs
washers, two (2) lock washers, and two (2) M6 large wing nuts.
Place the screw ends of each Bowl Handle through the holes on the sides of the Bowl, as shown below. From inside the Bowl, place a flat washer, then lock washer on each screw and affix using the large wing nuts.
Step 5 – Lower Hinge Bracket (part #lOb)
Hardware: MS*12 small screws (part #17) – 2 pcs
flat washers (part #23) – 2 pcs
lock washers (part #22) – 2 pcs
flat nuts (part #24) – 2 pcs
Locate the Lower Hinge Bracket. Set aside two (2) MS*12 small screws, two (2) flat washers, two (2) lock washers and two (2) flat nuts. Place the Lower Hinge Bracket on the Bowl as shown here, and align the holes. Note the ‘Up’ marking on the Lower Hinge Bracket. Through each hole, insert a small screw from the outside of the Lower Hinge Bracket through the Bowl. From inside the Bowl, place a flat washer, then lock washer on each screw and affix using the flat nut.
Step 6 -Attach Upper Hinge Bracket (part #lOa)to the Lid (part #1)
Hardware: MS small wing nuts (part #20) – 2 pcs
M5*12 small screws (part #17) – 2 pcs
flat washers (part #23) – 2 pcs
lock washers (part #22) – 2 pcs
Locate the Lid and the Upper Hinge Bracket. Set aside two (2) MS*12 small screws, two (2) flat washers, two (2) lock washers and the two (2) small wing nuts.
Place the Upper Hinge Bracket on the Lid as shown below (on the side opposite the Cook’s Essentials logo), and align the holes.
Through each hole, insert a small screw from the outside of the Upper Hinge Bracket through the Lid. From inside the Lid, place a flat washer, then lock washer on each screw and affix using the small wing nuts.
Step 7 – MS*123 Locking Pin (part #15)
Hardware: MS small wing nut (part #20) -1 pc
flat washer (part #23) – 1 pc
lock washer (part #22) – 1 pc
Locate the MS*123 Locking Pin, and set aside one (1) flat washer, one (1) lock washer, and one (1) MS small wing nut. Place the Lid on the Bowl as shown here, so the Lower Hinge Bracket sits inside the Upper Hinge Bracket, and align the holes. Screw the Locking Pin through all four (4) holes of the Hinge Brackets.
From the other end, place a flat washer, then lock washer on the Locking Pin and affix using the small wing nut.
Step 8 – Air Vent (part #9)
Hardware: MS*12 small screw (part #17) – 1 pc
MS small wing nut (part #20) -1 pc
flat washer (part #23) – 1 pc
lock washer (part #22) – 1 pc
Locate the Air Vent, and set aside one (1) MS*12 small screw, one (1) flat washer, one (1) lock washer, l and one (1) MS small wing nut. Place the Air Vent on the outer middle of the Lid as shown here, and align the holes. Put the small screw from the outside 17 through the center of the Lid. From inside the Lid, place a flat washer then lock washer on the screw and affix using the small wing nut.
Step 9 – Lid Handle (part #8)
Hardware: M6 large wing nuts (part #21) – 2 pcs
flat washers (part #23) – 2 pcs
lock washers (part #22) – 2 pcs
Locate the Lid Handle and remove the cardboard from the Handle screws, careful not to let the short tube and washer come off, Set aside two (2) M6 large wing nuts, two (2) flat washers, and two (2) lock washers. With the Lid open, place the screw ends of the Lid Handle (with short tube and washer) through the holes on the outside of the Lid as shown here. From inside the Lid, place a flat washer and lock washer on each screw and affix using the large wing nuts.
Step 10 – Heat Reflector Plate (part #4) and Heating Element (part #5)
Hardware: MS*l2 small screws (part #17) – 2 pcs
MS small wing nuts (part #20) – 2 pcs
flat washers (part #23) – 2 pcs
lock washers (part #22) – 2 pcs
Locate the Heat Reflector Plate and the Heating Element. Set aside two (2) MS*12 small screws, two (2) MS small wing nuts, two (2) flat washers, and two (2) lock washers.
Place the Heat Reflector Plate into the Bowl with the metal bands facing up and parallel to the front of the Grill, as shown below. Then, place the Heating Element on top of the Heat Reflector Plate. Make sure the ‘Top’ of the Heating Element box is facing up and fits through the rectangular hole at the front center of the Bowl. Insert the small screws from outside the Bowl through the holes on each side of the Heating Element box. From inside the Bowl, place a flat washer then lock washer on each screw and affix the Heating Element to the Bowl using the small wing nuts. See Step 11 for final placement of Heating components.
Step 11- Cooking Grill (part #3)
Locate the Cooking Grill and place in the Bowl on top of the Heating Element, as shown here.
Step 12 – Foldable Warming Rack (part #16)
Locate the Foldable Warming Rack and unfold the legs. Insert the Foldable Warming Rack by placing the four (4) prongs into the side holes of the Lid and Bowl, as shown here.
Step 13 – Drip Tray (part #12)
Locate the Drip Tray and insert in the Connection Part, as shown here.
Using the Temperature Control
Powering Up the Barbecue
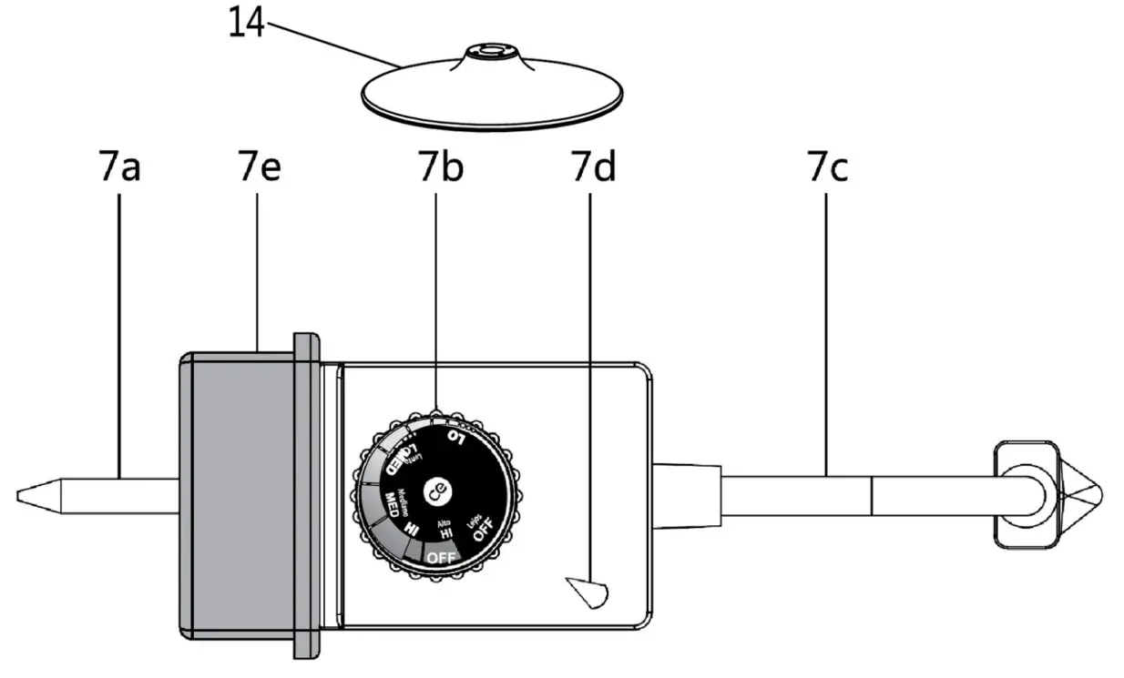
- Make sure the OFF symbol on the Temperature Control Dial (part #7b) is fully turned to the light Indicator location. (Fig. 1, page 12). The light should not be illuminated.

- Insert the Temperature Control Thermostat Prong (part #7a) with the Temperature Control Dial facing up, into the Opening for the Temperature Control (part #2a) at the front of the unit just below the rim of the Bowl. (Fig. 2, page 12). Push in all the way to be sure it is making full contact.

Hint: The tip of the Temperature Control Thermostat Prong should be above the nearby punch hole on the Heat Reflector Plate when it is fully inserted. (Fig. 3, page 12).
- Plug the Temperature Control Wall Plug (part #7c) into a dry ground fault circuit-interrupter (GFCI) power outlet.
WARNING: Using an extension cord is NOT recommended. If an extension cord is absolutely necessary, carefully follow the instructions in the Important Safeguards on page 2. - Adjust the setting on the Temperature Control Dial to desired temperature level. (Fig. 1, page 12).
Settings on the Temperature Control are indicated by temperature marks on the circular dial, including the ‘OFF’ position marking. The light indicator will illuminate while the unit is heating, and will switch on and off during the cooking cycle. The unit is usually packed with the Temperature Dial set to the “OFF’ position.
Turning Off the Barbecue
- Turn the Temperature Control Dial to the ‘OFF’ position.
- Unplug the power cord from the wall outlet.
- Once the Barbecue has cooled down, unplug the Temperature Control from the Barbecue.
General Operating Instructions
Before using the Electric Barbecue Grill for the first time …
Remove all packaging materials from the exterior and interior of the Barbecue Grill.
Follow all assembly instructions.
Before cooking any food on this appliance, operate the grill for about 15 minutes with the lid closed and the power turned to “HIGH”. This will ‘heat clean’ the internal parts and dissipate odors from the manufacturing process.
Using Your Electric Barbecue Grill
- While the Grill is in off, spray with a non-stick cooking spray.
- Set Temperature Control to the desired level and allow temperature to be reached.
- Place food on Cooking Grill.
- With Lid open or closed, cook until desired internal temperature is reached. Use heat-proof, non scratch utensils to remove food from Cooking Grill.
CAUTION: Lid is NOT intended to be locked while cooking.
WARNING: Do NOT touch hot surfaces. Use handles or knobs … wear oven mitts when handling hot components or touching hot surfaces.
Cleaning and Care
CAUTION:
- After using, turn the Temperature Control Dial to the ‘OFF’ position and unplug the power cord from the power source. Allow the Barbecue to cool completely, then unplug the Temperature Control from the Barbecue Grill and remove the Heating Element before cleaning.
- All cleaning and maintenance should only be performed when the Barbecue Grill is cold to the touch and only when the power supply is disconnected.
- Do not use water or any other liquid spray to clean the Barbecue Grill while it is still plugged in.
- Do not clean any parts in a self-cleaning oven or dishwasher.
The extreme heat will damage the finish. - NEVER immerse the Heater Element or Temperature Control Plug, Prong or Cord set in water.
Note: Do NOT use abrasive cleaning agents on this appliance. They will damage the finish. Never use oven cleaner on this product.
Cleaning Outsides of Appliance and Cooking Grill
- Remove the power cord from the wall socket and be certain the appliance is thoroughly cooled before cleaning the appliance.
- Remove the Temperature Control from the appliance before cleaning, and set aside.
- Remove the Cooking Grill.
- Remove the Heating Element before cleaning by unscrewing the wing nuts and lifting the element out, and putting it and the wing nuts aside.
- Wipe surface grime off the appliance, including the Lid top, Bowl, Cooking Grill and Heat Reflector Plate with a clean damp cloth, using mild dishwashing detergent or baking soda.
- For stubborn surface dirt, use a citrus-based degreaser and a nylon scrubbing brush.
- Rinse clean with a damp cloth.
- Allow surface to dry fully before use.
Cleaning the Heating Element
- Once the Heating Element is completely cool and has been removed as outlined above, gently clean
the Heating Element with a damp cloth.
CAUTION: Do not scratch the element’s surface or immerse in water.
Avoid impact to connection pins while cleaning as this may damage the contacts inside. - When fully dry, reinstall the Heating Element.
- Inspect the Temperature Control and Power Cord for any possible damage, and then re install.
Cleaning the Temperature Control
- If cleaning is required, once the Temperature Control is completely cool and has been removed from the appliance, gently wipe with a damp cloth.
- Dry thoroughly.
CAUTION: Do not immerse in water.
Cleaning the Drip Tray
- Once the Barbecue Grill is completely cool, remove the Drip Tray and empty the contents.
- Wash with warm soapy water.
- Rinse, and dry thoroughly.
Any other servicing should be performed by an authorized service representative.
Storage
- Unplug the appliance and let it cool down thoroughly.
- Make sure all components are clean and dry.
- Place the appliance in a clean, dry place.
Environment
Dispose of all unwanted appliances according to local environmental regulations. Preserve the planet.
ELECTRIC BBQ GRILL MODEL: HMW-GR103

IMPORTANT SAFEGUARDS
Thank you for choosing our Homewell product! To ensure proper and safe function of the product, please read the manual carefully before use. Please always follow the instructions for sae usage.
When using electrical appliances, basic safety precautions should always be followed, including the following:
- Read the instructions carefully before using the appliance, and save all the instructions.
- Keep appliance and electrical cord out of the reach of children.
- Always switch appliance off before unplugging from electrical power outlet.
- Do not wind the cord around the appliance and do not bend it. Unroll the power cord completely.
- Always use your appliance from a power outlet of the voltage (A.C. only) marked on the appliance.
- Always disconnect the appliance from the supply if it is left unattended and before assembling, disassembling or cleaning.
- Only use the appliance for domestic purposes and household or similar applications, such as:
● staff kitchen areas, in shops, offices and other working environments;
● farm houses;
● by clients in hotels, motels and other residential type environments;
● bed and breakfast type environments. - Allow appliance to cool before removing and cleaning.
- Keep the electrical cord away from other sources of heat.
- Do not immerse appliance or cord in water or other liquids.
- Do not touch hot surfaces – use handles or knobs.
- Never carry the appliance while still hot- use extreme caution when moving appliance containing hot oil or other hot liquids.
- Never place cloth or other flammable objects near appliance while still hot.
- Never use fuel, such as charcoal or lava rocks with this appliance.
- Use only the heat resistant spatulas to remove food.
- Use only with a properly-grounded GFCI (Ground-fault circuit-interrupter) household circuit.
- Only use original accessory parts for this appliance. Never use accessories, which are not recommended by the producer, they could constitute a danger to the user and risk to damage the appliance.
- Do not use appliance for anything other than its intended use.
No responsibility can be taken for any possible damaged caused by incorrect use or improper handling. - Do not operate any appliance with a damaged cord or plug, after the appliance
malfunctions or has been damaged in any manner.
Return appliance to the nearest authorized service facility for examination, repair or adjustment. - Do not let cord hand over edge of the table or counter or touch hot surfaces.
- Do not place on or near hot gas or electric burner or in a heated oven.
- CAUTION! To ensure continued protection against risk of electric shock, connect to properly grounded power outlets only.
- Keep the barbecue and electric controller dry at all times.
- Never alter or remove the grounding plugs on the power cord or replacement information.
- Keep electric plugs off of the ground and dry all the times.
- In case of fire, turn the controller ‘OFF’, unplug the barbecue from the power source and allow the fire to burn out its own. Never use water try to extinguish a fire.
- Before cleaning and storing, always unplug the appliance from the power supply and let it cool down.
- Remove the heating element before cleaning.
- Do not operate this barbecue while under the influence of drugs, alcohol or while fatigued.
- Do not use barbecue lighter fluid, lave rocks, gasoline, kerosene, or alcohol with this barbecue.
- Do not use in the presence of explosive or flammable gases, vapor or other substances.
- Keep all combustible material at least 21″(53cm) away from the grill at all times. Do not use this barbecue or any other gas product under any overhang or near combustible structures.
- Do not use this barbecue unless it is completely assembled and all parts are securely fastened and tightened.
- Use only identical replacement parts.
- Always open the barbecue lid carefully-Heat and steam trapped inside the lid can burn.
- Set up this barbecue on a hard, smooth level surface. Never use on wood decks.
- Incorrect operation and improper use can damage the appliance and cause injury to the user.
- Never leave the appliance unsupervised when in use
- Never use this appliance near bathtub, shower, wash-hand basins or other containers with water.
- Never use this appliance with the wet hands. If, unfortunately the appliance is wet, withdraw the cord of the socket-outlet immediately.
- The appliance is not intended to be operated by means of an external timer or separate remote-control system instructions for use.
- This appliance is not intended for use by persons (including children) with reduced physical, sensory or mental capabilities, or lack of experience and knowledge, unless they have been given supervision or instruction concerning use of the appliance by a person responsible for their safety.
- In order to ensure your children’s safety, please keep all packaging (plastic bags,
boxes, polystyrene ect. ) out of their reach. - CAUTION! Do not allow small children to play with the foil:THERE IS A DANGER OF SUFFOCATION!
- In order to protect children or frail individuals from the hazards of electrical equipment. Children should be supervised to ensure that they do not play with the appliance.
This device is not a top.
Do not allow small children or disabled person to play with it. - Never place it into the dishwasher.
- CAUTION! Certain parts of the appliance can get hot when the appliance is operating.
Do not touch them, as you may burn yourself.. - To reduce the risk of electric shock, ensuring the appliance is properly installed.
FOR HOUSEHOLD USE ONLY SAVE THESE INSTRUCTIONS
SPECIAL CORD SET INSTRUCTIONS
NOTE: Using an extension cord is NOT recommended. If an extension cord is absolutely necessary;
- Use a UL-approved 3-prong grounded extension cord that is rated for at least 15 A.
- NEVER connect two or more extension cords in series.
- Use the shortest extension cord possible.
- Use a min. 16 AWG gauge extension cord of less than 50′ in length.
- Keep the power cord connection dry and off of the ground.
- Avoid running the power or extension cord across walkways, drive ways, or anywhere that could pose a tripping hazard.
DESCRIPTION OF SYMBOLS
Before use, refer to the relevant paragraph in this user manual.![]()
CAUTION: The device may be hot, do not touch it without taking precautions.![]()
The pictogram of the crossed-out trash can indicate that the product must be sorted. It must be recycled in accordance with local waste regulations.
By sorting the products bearing this pictogram, you are helping to reduce the volume of incinerated or buried waste and to reduce any negative impact on human health and the environment.
GETTING TO KNOW YOUR BBQ GRILL

- Lid
- Bowl
- Cooking Grill
- Heating Reflector Plate
- Heating Element
- Handel x2
- Temperature Control
- Lid handle
- Air Vents
- Legs x4
- Hinge
- Warm Grill
Technical Date (FOR INDOOR USE ONLY)
| Model | HMW-GR103 |
| Input | 120V 60Hz |
| Power | 1600 Watt |
| Cable length | 1M (plug included) |
ASSEMBLY INSTRUCTIONS
HARD WARE

WARNING
- Do not store or use gasoline or any other flammable vapors or liquids in the vicinity of this appliance.
- When cooking with oil/grease, do not allow oil or grease to exceed 350° F (175°().
Do not store extra cooking oils in the vicinity of this appliance. - A short power-supply cord (or detachable power-supply cord) should be used to reduce the risk resulting from becoming entangled in or tripping over a longer cord.
- Longer detachable power-supply cords or extension cords are available and may be used if care is exercised in their use.
- If a longer detachable power-supply cord or extension cord is used: The marked electrical rating of the cord set or extension cord should be at least as great as the electrical rating of the appliance; and The cord should be arranged so that it will not drape over the countertop or tabletop where it can be pulled on by children or tripped over unintentionally. The extension cord should be a grounding-type 3-wire cord.
- Do not place heater element on the flammable material (such as wood table .. ,), while
heater element is still hot, or it is connected to the temperature control plug and energized.
Step 1
- Attach air vent to lid using small screw (A), small lock washer (G), and small wing out (C).
- Attach the handle to the lid using a washer (E), small lock washer (G), and small wing nut at each handle opening.

Step 2
- Attach the legs to bowl using 4 sets of medium screws (B), washer (E), large lock washers (H) and large wing nuts (D).
Attach the lock to bowl using 2 screws M3x6 and 2 nuts M3.
Step 3
- Attach side handles to the bowl with the handle supports (2).
Use a washer (E), large lock washer (H), and large wing nut for each handle opening. - Attach the hinge to the bowl using small screws (A), washer (E), small lock washers (G), and small wing nuts(C).

Step 4
- Insert heat reflector plate into the bottom of the bowl. Align the cutouts on the side of the heat reflector plate with the handle indentations in the bowl.
- Attach the heating element to the bottom bowl using small screws (A), washers (E), small lock washers (G) and small wing nuts(C).
- Insert cooking grill and warm grill into the bottom bowl.

Step 5
- Insert the temperature controller fully into the heating element.

Step 6
- Insert the top hinge (lid) into the bottom hinge (bowl).
- Secure the hinges by inserting the pin (I) and cotter pin (F) through the aligned holes.

Step 7
- To lock the lid, lift up on the lock handle, place the lock bracket onto the ridge of the lid, and push the lock handle down to lock in place. To unlock, lift up on the lock handle, remove the bracket from the ridge on the lid, and push the lock handle down.

OPERATING INSTRUCTION
Before Using the appliance for the First Time
- Remove all packaging and ensure all parts are included.
- Make sure that the control knob is turned fully to the ‘OFF’ position before plugging.
- Before plugging in your new BBQ Grill, make sure that the electric circuit is not overloaded with other appliances.
- Be certain that the appliance is resting level.
- The metal surfaces will become hot. Do not touch while is in use. When cooking is finished, turn the temperature control knob to “OFF” position.
- Never touch the hot surface before cooled to avoid scald.
- If the appliance is not to be in use for a long period of time, it is recommended to unplug until from the power outlet. This helps to prevent accidental burns.
- Unplug the temperature controller from the barbecue when finished.
NOTE: It is possible that slight smoke smell comes out when first using, it is normal situation, because the grill have some protective on the surface during production.
There is no need for concern and these will dissipate with use.
Using your BBQ Grill
- Select a suitable position close to an electric socket, on a dry and flat surface.
- Make sure that the control knob is turned fully to the ‘OFF’ position (Fig. A).
- Plug the controller fully into the barbecue (Fig. 2).

- Plug the other end of temperature control knob into a dry GFCI (Ground-fault circuit-interrupter) power outlet.
- Adjust the setting on the control knob the desired temperature level.
- Place food on cooking grill.
- With lid open or closed, cook until desired internal temperature is reached .
- Wooden shovel are recommended for turning or moving food.
- Lid is NOT intended to be locked while cooking
- Before cooking on this grill for the first time, operate the grill for about 15 minutes with the lid closed and the power turned on ‘HIGH’. This will “heat clean” the internal parts and dissipate odors form the manufacturing process. Once heated, turn temperature control knob to desired level.
- CAUTION! Because the surface is very hot, it is recommended to put the appliance on anti-flame and heat-proof cushion. It is also recommended that the minimal distance between wall and environmentally components is not shorter than 15cm.
- When finished using the BBQ Grill, turn the switch to “OFF” position and unplug it from the socket.
Care and Cleaning Instructions
Cleaning
Reasonable care will insure many years of service from your appliance. Avoid dropping items on the heating elements.
- Always unplug the unit from power outlet before cleaning.
- Allow appliance to cool off. Do NOT clean any parts in a self-cleaning oven or dishwasher. The extreme heat will damage the finish.
- Never use harsh abrasives or steel wool pads on any part of unit.
- Wipe surface grime off with a clean cloth and mild dish-washing detergent or baking soda.
- For stubborn surface dirt, use a citrus based degrease and a nylon scrubbing soda.
- Rinse clean with water.
- Allow surface to dry fully before use.
CLEANING THE HEATING ELEMENT
- Ensure the grill is unplugged from the power source and the temperature control unit is removed
- Remove the cooking grill.
- Removed the heating element by unscrewing the wing nuts and lifting the element out.
- Gently clean the heating element with a damp cloth. Do not scratch the element’s surface of immerse in water.
- Reinstall the heating element.
- Inspect the temperature controller and power cord for any possible damage, and then reinstall.
CLEANING THE TEMPERATURE CONTROL PLUG
- Only clean with a damp cloth, do not immerse in water.
Storage
- Ensure the appliance is completely cool, clean and dry.
- Do not wrap the cord around the appliance, as this will cause damage.
- Keep the appliance in a cool, dry place.
- Store the appliance upright on the bench or in a convenient cupboard.
- Do not place anything on top of the appliance during storage.
- After a period of storage, inspect the barbecue for abrasion, wear, cuts, or damage to the controller and power cord.
Environment
Do not throw away the appliance with the normal household waste at the end of its life, but hand it in at an official collection point for recycling. By doing this, you help to preserve the environment.


























