
For information on using the TV’s features, please refer to the Operating Instructions (Available online to download).
Product Information
The product is a television set that comes with a Quick Start Set Up Guide. The TV has various features that are explained in the Operating Instructions, which are available online to download. The TV comes with a manufacturer’s guarantee which can be registered online within 14 days of purchase at www.registertoday.co.uk/sharp. The online registration also provides an opportunity to enter into a prize draw to win a Soundbar (terms and conditions apply).
The package includes the TV, a remote control, and a stand. The TV has various features such as integrated DVD players, PVR function, USB playback, and 3D functions. The remote control has several keys that allow users to control various functions of the TV such as switching it on/off, adjusting the sound level, scrolling through picture and sound modes, displaying input/source menu, navigating the on-screen menus, and many more.
Users can contact the UK & ROI Helpline for help in setting up or using the TV. They can call the helpline or access online support at www.umc-uk.co.uk or email support at [email protected]. If users wish to use their Sky remote to operate the TV’s basic functions, they will need to program it with the code 2134 (for Sky remote control Revision 9 or later) or 4170 (for Sky Q remote).
Product Usage Instructions
- Setting up the TV for the first time:
- Attach the stand to the TV.
- Connect the TV to a power source.
- Switch on the TV using the ON/OFF button on the remote control.
- Follow the on-screen instructions to set up the TV.
- Using the remote control:
- To switch on/off the TV when in standby or vice versa, press
the ON/OFF button. - To mute/unmute the sound, press the MUTE button.
- To increase/decrease the sound level, use the VOL (+/-) button.
- To display the input/source menu, press the SOURCE button.
- To navigate the on-screen menus and adjust the system settings, use the ( / / / / OK) button.
- To go back the previous step, press the BACK button.
- To display favorites menu, press the FAV button.
- To enter/exit Text, press the TEXT button.
- To switch the dialogue at the bottom of the screen (on/off), press the SUBTITLE button.
- To switch to Digital Channels, press the TV button.
- To access the Youtube App, press the YOUTUBE button.
- To access the Netflix App, press the NETFLIX button.
- To access the Aquos NET+ Smart Portal, press the NET+ button.
- To access the USB record function/access the DVD menu of the DVD inserted (must be set to the DVD source), press the RECORD/DVD MENU button.
- To open the list of previously recorded items/access the TV’s DVD setup menu (must be set to the DVD source), press the REC LIST/DVD SETUP button.
- To play/pause, press the (IN) button.
- To stop the playback/Eject Disc (To EJECT the disc press/hold the button for 4 seconds), press the (OUT) button.
- To play in fast rewind mode, press the (REW) button.
- To play in fast-forward mode, press the (FF) button.
- To restart the current chapter, press the (SKIP BACKWARD) button.
- To advance forward to the next chapter, press the (SKIP FORWARD) button.
- To go to a specific chapter, press the GOTO button.
- To set point A-B, press the A-B button. Press it once to set point, press a second time to return to point.
- To select the different angle of DVD, press the ANGLE/3D button.
- To repeat playback, press the REPEAT button.
- To switch on/off the TV when in standby or vice versa, press
What is included in the box
Accessories
Included with this TV are the following accessories
- 1 x Quick Start Guide
- 1 x Remote Control and 2 x AAA Batteries
- 1 x Safety Leaflet
- 1 x Stand installation pack
Additional Accessories
- If you don’t have the RF cable shown below, then you can purchase one from www.umc-uk.co.uk/cables.
- If you are intending to connect your TV to an RF socket in order to receive Freeview you will need this cable.
RF Cable

Microsoft PlayReady™
This product contains technology subject to certain intellectual property rights of Microsoft. Use or distribution of this technology outside of this product is prohibited without the appropriate license(s) from Microsoft.
Content owners use Microsoft PlayReady™ content access technology to protect their intellectual property, including copyrighted content. This device uses PlayReady technology to access PlayReady-protected content and/or WMDRM-protected content. If the device fails to properly enforce restrictions on content usage, content owners may require Microsoft to revoke the device’s ability to consume PlayReady-protected content. Revocation should not affect unprotected content or content protected by other content access technologies. Content owners may require you to upgrade PlayReady to access their content. If you decline an upgrade, you will not be able to access content that requires the upgrade.
Please save your box/packaging as you will need this in the event of warranty/service repair or support. We are unable to carry out a warranty/service if you are unable to package it correctly. The safest way to package your item in the event of warranty/service repair is in its original box/packaging.
Using the remote control
Key
![]()
- For models with integrated DVD players.
- For models with PVR Function.
- For models with USB Playback.
- For models with 3D functions.

- ON/OFF: Switch on the TV when in standby or vice versa.
- MUTE: Mute the sound or vice versa.
- NUMBER BUTTONS: 0–9 to select a TV channel directly.
- TV GUIDE: Opens the 7 day TV guide (digital TV mode).
To return to the previous channel viewed.
- VOL (+/-): To increase/decrease the sound level.
- PICTURE: Scrolls through picture mode options.
- SOUND: Scrolls through sound mode options.
- SOURCE: To display the input/source menu.
- CH (+/-): To increase or decrease the channel being watched.
- MENU: To display OSD menu.
- EXIT: To exit all menus.
– Allows you to navigate the on-screen menus and adjust the system settings to your preference.- BACK: To go back a previous step.
- FAV: To display favourites menu.
- INFO: Press once for now/next channel information.
- Press twice for information about the current programme.
- TEXT: To enter/exit Text.
- SUBTITLE: To switch the dialogue at the bottom of the screen (on/off).
- TV: To switch to Digital Channels.
- YOUTUBE: Access the Youtube App.
- NETFLIX: Access the Netflix App.
- NET+: Access the Aquos NET+ Smart Portal.
RECORD/DVD MENU: Access the USB record function/Access the DVD menu of the DVD inserted (must be set to the DVD source).
REC LIST/DVD SETUP: Opens the list of previously recorded items/Access the TV’s DVD setup menu (must be set to the DVD source).
![]()
- GOTO – To go to a specific chapter.
- A-B – Press once to set point, press a second time to return to point.
- ANGLE/3D – Select different angle of DVD.
- REPEAT – To repeat playback.
Sky Remote Code

- If you wish to use your Sky remote to operate the TV’s basic functions, you will need a Sky remote control (Revision 9 or later) and you will need to program it with the code 2134.
- If you wish to use your Sky Q remote to operate the TV’s basic functions, you will need to program it with the code 4170.
Setting up the TV set for the first time
To obtain a copy of your Operating Instructions, please go to: www.umc-uk.co.uk/instruction-manuals/sharp
Fitting the stand
- TV panel must be facing downwards.
- For the stand installation, there is one type of screw provided as shown below.
- Note: To complete the stand installation you will require a crosshead screwdriver.

- Used for attaching the stand to the TV set (fig.2)

- Place the TV set on a fl at and clean surface with the panel facing downwards to avoid damage.

- When the stand feet are installed correctly the stand feet will be longest at the front of the TV and shortest at the back with the feet pointing away from each other.

- When the stand/feet are in the correct position, secure the feet to the underside of the TV set using 4 screws provided.
Connecting your set

- Connect the TV to your power socket.
- If you wish to use the TV to receive Freeview/Saorview channels, connect the RF input from the TV to your outdoor Digital TV aerial. If you do not wish to receive Freeview/Saorview, skip this step.
Powering On the TV
TV Control Stick

- Switch on the television by pressing the TV control stick located on the TV set.
Remote Control: Installing Batteries

- Insert the batteries supplied into the remote control and press the standby button to power on the TV..
First-time installation
Basic installation steps are shown below. These may vary slightly depending on model.
Introduction

- When the set first turns on, it enters the First Time Installation mode.
- This can be restarted by restoring the set to default settings in the ‘About TV’ Menu.
Languages

- Select your preferred on-screen display language. This will change the language in which the menus and associated information is displayed in.
- When set up has been completed, to change this press the [MENU] button and then select Settings > System Menu > Language.
Country Selection

- Select the correct fl ag for the country in which the set will be used in. This will enable the set to correctly install the functions applicable in the country of use.
Note
- In home mode, the TV will switch off automatically after 4 hours in the event that no buttons are pressed on the TV or remote control.
- (You can change this by pressing the [MENU] button and then selecting Settings>Time>Auto Standby)
The Environment of Use

- Home Mode: For normal use, by default, it is set to a power-saving mode which reduces the energy used by up to 25% (by reducing the power to the LED/LCD panel). This can be changed in the picture mode settings.
Network setup

- You can connect the TV to your broadband router or wireless network in order to take advantage of the Smart functions.
- If you connect the TV to your router using an Ethernet cable (recommended) this step will be skipped.
Set Up Netflix

- If you have a Netflix account, it can be set up on the television here. Once set up and validated, the First Time Installation returns to the next step.
Default Source

- Select the source which you use the most. If Digital TV (Freeview) is chosen, then at the next step, the set will tune in and default to Digital TV (Freeview).
- If one of the other sources is selected, then the set will not tune in at this stage and default to that input. If it is required to tune the set in later, press the [MENU] button and then select Settings>Channels
Tune in Channels

- Choose to install terrestrial channels now or later.
Support Advice

- Information regarding support is displayed for a little while.
- Tuning continues and a progress bar is shown with the number of channels found indicated below.
If you are picking up signals from more than one transmitter, you will be requested to select your primary and secondary regions.
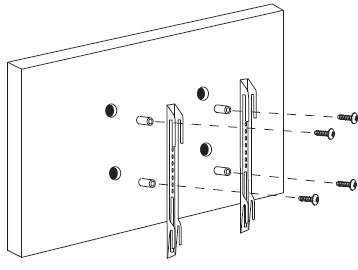
Wall Mounting the TV

- Image for illustration only.
- For the dimensions of the VESA mounting, please refer to the Technical Specifi cations section of this document.
- Remove the four screws that are supplied in the wall mounting holes.
- The wall mount can now be easily attached to the mounting holes on the rear of the TV.
- Install the wall mounting bracket to the television as advised by the bracket manufacturer.
The picture shows the use of spacers, which are not applicable to all sets/installations.
Connectivity


- The Ethernet/LAN port is used for Digital TV and smart functions.
Technical Specification

- Built-in Harman Kardon speaker systems (Full-range speaker and tweeter).
Harman Kardon is a trademark of HARMAN International Industries, Incorporated, registered in the United States and/or other countries.
The terms HDMI, HDMI High-Definotion Multimedia Interface, and the HDMI Logo are trademarks or registered trademarks of HDMI Licensing Administrator, Inc.
Manufactured under license from Dolby Laboratories. Dolby, Dolby Audio, and the double-D symbol are trademarks of Dolby Laboratories Licensing Corporation.
Contact
Please contact the UK & ROI Helpline*
- Telephone UK: 0330 024 0803 or ROI 01443 3323
- The online support at: www.umc-uk.co.uk
- Email support at: [email protected]
Calls to 0330 numbers are charged at standard call rates and are included as part of any bundled minutes with your phone provider. Calls to the ROI number are charged at the local call rate.
The telephone opening hours are:
- Monday to Friday: 8.30am – 6pm
- Saturday: 9am – 5pm
- Bank Holidays: 10am – 4pm
Closed Christmas and New Years day.





















