Electrolux A23224101 Automatic Ice Maker

INSTALLATION INSTRUCTIONS
An authorized service technician is recommended to install the ice maker kit.
WARNING:
- To avoid electric shock, which can cause death or severe personal injury, disconnect the refrigerator from electrical power before connecting a water supply line to the refrigerator.
- Connect the ice maker to a potable water supply only.
NOTE: Check with your local building authority for recommendations on water lines and associated materials prior to installing your new refrigerator. For household water line hookup from the home water supply system to the unit, we recommend for homes with existing valves Smart Choice® water line kit 5304437642 (with a 6′ Stainless Steel Water Line) and for homes without an existing valve, we recommend Smart Choice® water line kit 5304493869 (with a 6′ Polyline Waterline). Please refer to Frigidaire.com for more information.
Tools Needed:
- Flat head screw driver
- Phillips or Quadrex driver
- ¼” Hex driver
- Gloves
- Drill
- Needle nose pliers
Ice Maker (IM117000v2) Kit Components
Parts needed for install inside the unit
Parts needed for install on back side of the unit
Ice Maker Installation Instructions
- Unplug refrigerator from electrical outlet.
- Lift the freezer shelf up and out. Set aside. See Figure 1.

- Remove water inlet and electrical cover, located on the inside of the unit, by inserting a flathead screwdriver on right side of opening in the small cover. Push to the left to disengage the snap. See Figure 2

- Locate dimples in the freezer liner for screw placement (a flashlight may help). Align the shoulder screws with the dimples. Push the screws to penetrate the freezer liner and drive the screws in until they are tight against the liner. Use 2 screws on the left side wall, and 3 on the top of the liner. See Figure 3.

- Insert the ice maker connector and wire through the hole in the middle of the water inlet and electrical cover. See Figure 4.

- Plug the ice maker in the electrical connector on the back wall. Then install the water inlet and electrical cover back in position by inserting the tab on the left side into the slot and push in the right side to make the snap engage. See Figure 5.

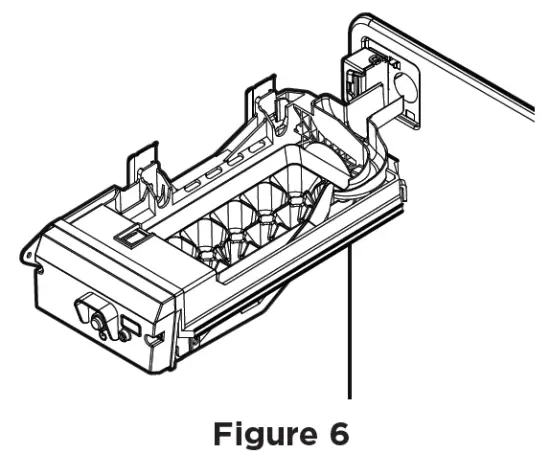
Slide the ice maker onto the 2 side wall shoulder screws. The ice maker will snap into place. See Figure 6.
- Remove the silicone paper on the foam pads. Stick the ring shaped foam pad to the fill tube. See Figure 7.

Wrap the rectangular foam pad around the fill tube. See Figure 8.
- Locate the Ice maker installation label on the rear outside right top corner of the refrigerator. Cut the label on the dashed lines, and push flaps inward until they stick to the unit. See Figure 9.

Align the fill tube key to the slot. Insert the fill tube with foam pads. Drive the 2 screws to fix the fill tube against the refrigerator. See Figure 10.
Make sure the end of water fill tube sits within the water channel of the ice maker. See Figure 11.
- Slide the ice maker cover onto the shoulder screws on top of the unit until it locks into place with a snap. See Figure 12.

- To install the ice bin, the freezer shelf needs to be in the lowest position. Slide the ice bin between the side wall and the right side of the ice maker housing positioned on the shelf. See Figure 13.

- Install the water line by screwing the nut on the end of the tube onto the water inlet. Tighten the nut until snug, and then tighten an additional ¼ turn with needle nose pliers. See Figure 14
CAUTION: Wear gloves and use extreme CAUTION when handling the access cover. - Remove 8 screws from access cover located at the bottom rear outside of the unit. Set aside. See Figure 15.

- Place the green water tube to the ice maker into the bottom outlet of the water valve. The tube must be pushed into the valve up to the black line marked on the tube. Check to make sure the tube is installed correctly. See Figure 16.

- The water valve location has pre-made holes on the right rear of the unit. The water line should be oriented downward when the valve is installed. Install the water valve using a ¼” hex head driver, install the 2 hex head screws. Tighten screws until they are snug and then tighten an additional ¼ turn. See Figure 17.

- Plug connector on water valve wire harness into the connector above the condenser coil. Install the water valve clip at the bottom right side of the unit, and route and attach the water valve harness into the clip. See Figure 18.

- Reinstall the access cover by hooking cover onto the bottom flange of the cabinet, and then tilt the cover upward to align with the screw locations on the cabinet. Install the screws starting with the 2 on the left side, then the right side , finish with the center screws. See Figure 19.

NOTE: Ensure power cord is aligned with the notch at the bottom of the access cover and the water line is located inside the notch at the top right of the cover. See Figure 20.
- Connect the household water line to the water valve. Follow instructions in Connecting Ice Maker to Water Supply.
Connecting Ice Maker to Water Supply
WARNING: To avoid electric shock, which can cause death or severe personal injury, disconnect the refrigerator from electrical power before connecting a water supply line to the refrigerator.
CAUTION: To Avoid Property Damage:
- Stainless Steel braided tubing is recommended for the water supply line. Water supply tubing made of ¼” plastic is not recommended to be used. Plastic tubing greatly increases the potential for water leaks, and the manufacturer will not be responsible for any damage.
- DO NOT install water supply tubing in areas where temperatures fall below freezing.
- Chemicals from a malfunctioning softener can damage the ice maker. If the ice maker is connected to soft water, ensure that the softener is maintained and working properly.
IMPORTANT: Ensure that your water supply line connections comply with all local plumbing codes.
Before Installing The Water Supply Line, You Will Need:
- Basic Tools: adjustable wrench, flathead screwdriver, and Phillips screwdriver
- Access to a household cold water line with water pressure between 30 and 100 psi.
- A water supply line preferably made of Braided Stainless Steel or Braided Poly with integral fittings for connection to the refrigerator and the valve at the wall. If the home has a ¼” copper line, and the owner prefers to keep the copper line, a compression fitting ferrule (sleeve) and nut should be replaced each time the fitting is reused.
NOTE: Check with your local building authority for recommendations on water lines and associated materials prior to installing your new refrigerator. Depending on your local/state building codes, we recommend for homes with existing valves Smart Choice® water line kit 5304437642 (with a 6′ Stainless Steel Water Line) and for homes without an existing valve, we recommend Smart Choice® water line kit 5304493869 (with a 6′ Polyline Waterline). Please refer to Frigidaire.com.
NOTE: Water lines should be long enough to all ow the refrigerator to roll forward for cleaning or service. Typically, 6 ft. length works well for braided Stainless or Poly kits. A ¼” copper line should be longer to coil extra length behind the refrigerator so movement will not kink the copper line.
To Connect Water Supply Line To Ice Maker Inlet Valve
- Disconnect refrigerator from an electrical power source.
- Place the end of water supply line into the sink or a bucket. Turn ON the water supply and flush the supply line until the water is clear. Turn OFF the water supply at the shutoff valve.
- Remove the plastic cap from water valve inlet and discard the cap.
- If you use copper tubing, slide the brass compression nut and then ferrule (sleeve) onto the water supply line. Push the water supply line into the water valve inlet as far as it will go (¼” / 6.4 mm). Slide the ferrule (sleeve) into the valve inlet and finger tighten the compression nut onto the valve. Tighten another ½ turn with a wrench; DO NOT overtighten. See below.

- Secure the copper line to the clamp (as shown), using the existing screw.
If you use braided flexible stainless steel tubing, the nut is already assembled on the tubing. Slide the nut onto the valve inlet and finger tighten the nut onto the valve. Tighten another ½ turn with a wrench; DO NOT overtighten. See below.
- With the steel clamp and the screw, secure the water supply line to the rear panel of the refrigerator as shown.
- To turn the ice maker on, press the ice maker’s On/Off power switch so the LED is steadily illuminated.

- Turn ON the water supply at the shutoff valve and tighten any connections that leak.
- Reconnect the refrigerator to an electrical power source.
Ice Service
If your refrigerator has an automatic ice maker, minimal ice will be produced during the first 24 hours of operation. Air in new plumbing lines may cause the ice maker to cycle 2 or 3 times before making a full tray of ice. With no usage, it will take approximately 1 to 2 days to fill the ice bin. New plumbing connections may cause the first production of ice cubes to be discolored or have an odd flavor. Discard ice made during the first 24 hours.
Turning Your Ice Maker On
After the plumbing connections have been completed, the water supply valve must be opened. Place the ice bin under the ice maker, pushing it as far back as possible. Press the ice maker’s On/Off button. The button will illuminate in green when the ice maker is On.
Turning Your Ice Maker Off
To stop the ice maker, press the ice maker’s On/Off button. The ice maker also stops producing ice automatically when the bin is full, and then it resumes when the level in the bin drops.
IMPORTANT: To ensure proper function for your ice maker, hook up water supply immediately or turn ice maker OFF. If the ice maker is on and the water supply is not connected, the water valve can make a loud chattering noise.
Ice Production: What To Expect
The ice maker will produce about 2 pounds of ice every 24 hours depending on usage conditions. Ice is produced at a rate of 10 cubes every 100 to 160 minutes.
CAUTION: Do Not place the ice container in your dishwasher.
Ice Maker Tips
Remember that water quality determines your ice quality. If the water source uses a water softener, ensure that the softener is maintained and working properly. Chemicals from a malfunctioning softener can damage the ice maker.
CAUTION: Do Not place the ice container in your dishwasher.
- Wash ice container in warm water with mild detergent. Rinse well and dry.
- Stop the ice maker when cleaning the freezer or for short vacations.
- If the ice maker will be turned off for a long period of time, turn the water supply valve to the closed position.














CAUTION: Wear gloves and use extreme CAUTION when handling the access cover.


























