CR3012A
Instruction Manual
SHELF SYSTEM

IMPORTANT SAFETY INSTRUCTION
PLEASE READ CAREFULLY ALL THE FOLLOWING IMPORTANT SAFEGUARDS THAT ARE APPLICABLE TO YOUR EQUIPMENT
- Read Instructions – All the safety and operating instructions should be read before the product is operated.
- Retain instructions – The safety and operating instructions should be retained for future reference.
- Heed Warnings – All warnings on the product and in the operating Instructions should be adhered to.
- Follow Instructions – All operating and use instructions should be followed.
- Cleaning – Unplug this product from the wall outlet before cleaning. Do not use liquid cleaners or aerosol cleaners. Use a dry cloth for cleaning.
- Attachments – Do not use attachments not recommended by the product manufacturer as they may cause hazards.
- Water and Moisture – Do not use this product near water – for example, near a bath tub, wash bowl, kitchen sink, or laundry tub; in a wet basement; or near a swimming pool; and the like. the apparatus shall not be exposed to dripping or splashing and that no objects filled with liquids, such as vases, shall be placed on apparatus.
A product and cart combination should be moved with care. Quick stops, excessive force, and uneven surfaces may cause the product and cart combination to overturn.- Ventilation – Slots and openings in the cabinet are provided for ventilation and to ensure reliable operation of the product and to protect it from overheating, and these openings must not be blocked or covered, The openings should never be blocked by placing the product on a bed, sofa, rug, or other similar surface.This product should not be placed in a built – in installation such as a bookcase or rack unless proper ventilation is provided or the manufacturer’s instructions have been adhered to.
- Power Sources – This product should be operated only from the type of power source indicated on the marking label, if you are not sure of the type of power supply to your home. Consult your product dealer or local power company. For products intended to operate from battery power, or other sources, refer to the operating instructions.
- Grounding or Polarization – This product may be equipped with a polarized alternating-current line plug (a plug having one blade wider than the other).This plug will fit into the power outlet only one way. This is a safety feature.
If you are unable to insert the plug fully into the outlet try reversing the plug, If the plug should still fail to fit, contact your electrician to replace your obsolete outlet. Do not defeat the safety purpose of the polarized plug. - Power – Cord Protection – Power – supply cords should be routed so that they are not likely to be walked on or pinched by items placed upon or against them, paying particular attention to cords at plugs, convenience receptacles, and the point where they exit from the product.

- Lightning – For added protection for this product during a lightning storm, or when it is left unattended and unused for long periods of time, unplug it from the wall outlet and disconnect the antenna or cable system. This will prevent damage to the product due to lightning and power – line surges.
- Power Lines – An outside antenna system should not be located in the vicinity of overhead power lines or other electric light or power circuits, or where it can fall into such power lines or circuits. When installing an outside antenna system, extreme care should be taken to keep from touching such power lines or circuits as contact with them might be fatal.Mains plug is used as the disconnect device. it shall remain readily operable and should not be obstructed during intended use. to be completely disconnected the apparatus from supply mains, the main plug of the apparatus shall be disconnected from the mains socket outlet completely.
- Overloading – Do not overload wall outlets, extension cords, or integral convenience receptacles as this can result in a risk of fire or electric shock.
- Object and Liquid Entry – Never push objects of any kind into this product through openings as they may touch dangerous voltage points or short – out parts that could result in a fire or electric shock. Never spill liquid of any kind on the product.
- Servicing – Do not attempt to service this product yourself as opening or removing covers may expose you to dangerous voltage or other hazards. Refer all servicing to qualified service personnel.
- Damage Requiring Service – Unplug this product from the wall outlet and refer servicing to qualified service personnel under the following conditions;
a. When the power-supply cord or plug is damaged.
b. If liquid has been spilled, or objects have fallen into the product.
c. If the product has been exposed to rain or water.
d. If the product does not operate normally by following the operating instructions. Adjust only those controls that are covered by the operating instructions as an improper adjustment of other controls may result in damage and will often require extensive work by a qualified technician to restore the product to its normal operation.
e. If the product has been dropped or damaged in any way.
f. When the product exhibits a distinct change in performance – this indicates a need for service. - Replacement Parts – When replacement parts are required, be sure the service technician has used replacement parts specified by the manufacturer or have the same characteristics as the original part. Unauthorized substitutions may result in fire, electric shock, or other hazards.
- Safety Check – Upon completion of any service or repairs to this product, ask the service technician to perform safety checks to determine that the product is in proper operating condition.
- Wall or ceiling Mounting – The product should be mounted to a wall or ceiling only as recommended by the manufacturer.
- Heat – The product should be situated away from heat sources such as radiators. Heat registers, stoves, or other products (including amplifiers) that produce heat. Batteries shall not be exposed to excessive heat such as shunshine,fire or the like.
WARNING: Changes or modifications to this unit not expressly approved by the party responsible for compliance could void the user’s authority to operate the equipment.
NOTE: This equipment has been tested and found to comply with the limits for a Class B digital device, pursuant to Part 15 of the FCC Rules. These limits are designed to provide reasonable protection against harmful interference in a residential installation. This equipment generates, uses, and can radiate radio frequency energy and, if not installed and used in accordance with the instructions, may cause harmful interference to radio communications. However, there is no guarantee that interference will not occur in a particular installation. If this equipment does cause harmful interference to radio or television reception, which can be determined by turning the equipment off
and on , the user is encouraged to try to correct the interference by one or more of the following measures:
- Reorient or relocate the receiving antenna.
- Increase the separation between the equipment and receiver.
- Connect the equipment into an circuit different from that to which the receiver is connected.
- Consult the dealer or an experienced radio TV technician for help.
WARNING:
TO PREVENT FIRE OR SHOCK HAZARD, DO NOT EXPOSE THIS APPLIANCE TO RAIN OR MOISTURE. DO NOT REMOVE COVER. PILOT LAMPS SOLDERED IN PLACE. NO USER SERVICEABLE PARTS INSIDE. REFER SERVICING TO QUALIFIED SERVICE PERSONNEL.
The lighting flash with arrowhead symbol, within an equilateral triangle, is intended to alert user to the presence of uninsulated “dangerous voltage” within the product’s
enclosure that may be of sufficient magnitude to constitute risk of electric shock to persons.
CAUTION
RISK OF ELECTRIC SHOCK DO NOT OPEN
CAUTION:
TO REDUCETHE RISK OF ELECTRIC SHOCK, DO NOT REMOVE COVER (OR BACK). NO USER – SERVICEABLE PARTS INSIDE. REFER SERVICING TO QUALIFIED SERVICE PERSONNEL.
The exclamation point within an equilateral triangle is intended to alert user to the presence of important operating and maintenance (servicing) instruction in the literature accompanying the appliance.
Specification
| Frequency Range Power Source Power Consumption Antennas | : FM 87.5 – 108.5 MHz : AM 525 – 1/10 MHz : AC 120V ~ 60 Hz : 30W : External FM Antenna : Built-in Ferrite Am Bar |
*DESIGN AND SPECIFICATIONS SUBJECT TO CHANGE WITHOUT NOTICE.
iPhone, iPod, iPod classic, iPod nano, iPod touch and iPad are trademarks of Apple Inc., registered in the U.S. and other countries.
Welcome
Thank you for purchasing the Crosley Audiophile Shelf System.
Before operating this unit, please read this manual thoroughly and retain it for future reference.
Features
Portable Audio Ready – Your Crosley Audiophile Shelf System omes ready to play portable audio products, including mp3 players, satellite radio, gaming devices, CD players, walkmans – basically anything with a headphone jack!
Getting Started

Control Locators
| 1. Tuner Knob | 8. Mode Button |
| 2. iPod/iPhone/iPad Support | 9. Play/Pause Button |
| 3. iPod/iPhone/iPad Dock | 10. Back Skip |
| 4. Tuning LED Display | 11. Forward Skip |
| 5. CD Player | 12. Stop |
| 6. Tuning Dial | 13. Eject |
| 7. Volume Knob | 14. Power |

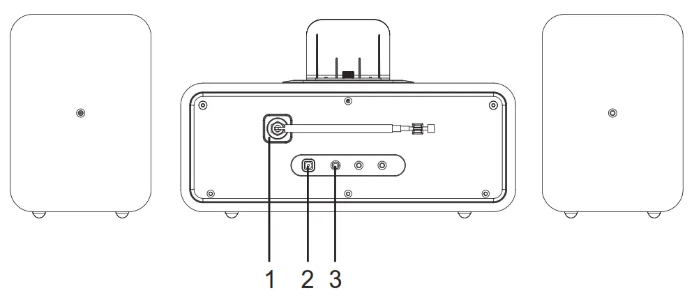
CONNNECTOR LOCATORS
- FM Antenna
- Power Input
- Aux In
REMOTE LOCATORS
| 1. Open / Eject | 11. Menu |
| 2. Mute | 12. Power |
| 3. Select Up | 13. FM Tuner |
| 4. Volume Down | 14. AM Tuner |
| 5. Enter | 15. Volume Up |
| 6. Shuffle | 16. CD |
| 7. Select Down | 17. Repeat |
| 8. Backward Skip | 18. iPod |
| 9. Play/Pause | 19. Forward Skip |
| 10. Stop | 20. Auxiliary |

Unpacking
- Remove packing materials from unit.
Note: Save all packing materials. - Remove plastic bags covering main unit and speakers.
- Remove ties from AC power adaptor.
- Remove plastic bag covering iPod/iPhone/iPad support.
- Locate remote control in foam packing and remove remote.
Set Up
- Unwind the cord on the AC power adaptor.
- Plug AC end of the power cord into the appropriate wall outlet.
- Plug the small end of the power adaptor into the Power Jack Input in the back of the unit.
- Place the speakers to the right and left of the main unit.
Note: The speakers are noted as Right and Left on the back of the man unit. - Place the iPod/iPhone/iPad support on the top of the unit and install thumb screw.
- Position your iPod, iPhone or iPad on the dock and adjust the support as necessary to provide a solid support. Tighten the thumb screw to hold the support into place.
Basic Operation
POWER
The POWER button on the unit serves dual functions; turning main power on/off and dimming the display. To turn the unit on or off, press and hold the POWER button for 2 seconds. When the power is turned on, one of the Mode Indicators will light up. Quickly pressing the POWER button once will toggle the display brightness between normal and dim.
AM/FM RADIO
- Press and hold the POWER button for 2 seconds to turn the unit on.
- Continuously press the MODE button until either AM or FM indicator is lit.
- Rotate the TUNER knob to adjust the tuning dial to your desired listening station.
- Position the antenna for optimum FM reception.
- Adjust volume to your desired level by rotating the VOLUME knob.
Note: This unit features an internal AM antenna. For best reception, it may be necessary to reposition the main unit slightly.
CD PLAYER
- Press and hold the POWER button for 2 seconds to turn the unit on.
- Continuously press the MODE button until the CD indicator is lit.
- Insert a CD into the CD player with the label side facing upwards.
- Press the PLAY/PAUSE button to begin playback.
- Press the FORWARD SKIP or BACK SKIP buttons to advance to the next or previous track.
- Press and hold the FORWARD SKIP or BACK SKIP button to fast forward or rewind the track you are listening to.
CD PLAYER cont. - Adjust volume to your desired level by rotating the VOLUME knob.
- To eject CD, press the EJECT button
iPod/iPhone/iPad
- Press and hold the POWER button for 2 seconds to turn the unit on.
- Continuously press the MODE button until the iPod indicator is lit.
- Making sure the iPod/iPhone/iPad support is properly adjusted, place your iPod, iPhone or iPad onto the dock.
- Begin playback on your iPod, iPhone or iPad.
- Adjust volume to your desired level by rotating the VOLUME knob.
PORTABLE AUDIO READY
- Press and hold the POWER button for 2 seconds to turn the unit on.
- Continuously press the MODE button until the Aux indicator is lit.
- Using the supplied 3.5mm stereo cable, connect one end to the AUX IN jack on the back of the main unit.
- Plug the other end into an output or headphone jack on your external device.
- Begin playback on your external device.
- Adjust volume to your desired level by rotating the VOLUME knob.
Note: You may need to adjust the volume on your external device to achieve the best sound.
General
Troubleshooting Guide
There is no power
- Press and hold the POWER button for 2 seconds to turn the unit on.
- Check the power adaptor to make sure it is plugged into the unit and into a working wall outlet.
- Make sure the unit is in the correct mode by pressing the MODE button.
There is no sound
- Press the MUTE button on the remote control to make sure the sound is not muted.
- Make sure the unit is in the correct mode.
CD will not play
- Press the PLAY/PAUSE button to make sure the CD is not paused.
- Eject the CD and check that the surfaces of the CD are clean and not scratched.
- Make sure the CD is an audio CD and does not contain MP3 files.
The sound is distorted
- In AM or FM mode, adjust the tuner and/or antenna to improve signal strength. Under certain circumstances, the reception may be improved by relocating the unit.
- In iPod mode, check the EQ settings on the iPod, iPhone or iPad.
- In Aux mode, turn off any EQ setting on the portable device. Check that the volume setting on the portable device is not turned all the way up.
LIMITED MANUFACTURERS WARRANTY
Crosley Radio, Inc. warrants the product to be free from defects in material and workmanship under normal use for a period of one year from the original date of purchase. This warranty is not transferable. If the product is determined to be defective during the warranty period, the unit will be repaired or replaced at Crosley Radioʼs sole discretion. This warranty covers manufacturing defects and normal consumer use and does NOT cover damage or failure as a result of abuse, accident, alterations, misuse,
neglect, abnormal wear and tear, inadequate maintenance, commercial or unreasonable use, damage caused by power surges, mishandling, accident, acts of God or attempted
repair by an unauthorized service agent. Also not covered are cosmetic damages, cords and antennas. Should this product fail to function in a satisfactory manner, it is best to
first return it to the store or retailer where it was originally purchased. If additional service is still needed, the original purchaser must FIRST contact our offices to obtain an RA (Return Authorization) Number.
TO OBTAIN AN RA NUMBER
CALL: (1.888.276.7539)
Send the unit prepaid to the address below in the original packaging (or reasonable substitute to prevent damage). Clearly mark your RA number on the outside packaging and include the original sales receipt (or a copy) indicating date of purchase, amount paid, and place of purchase. You must also include your full name, shipping address and daytime contact number. Please include a check or money order in the amount of $19.95, made payable to Crosley Radio, to cover handling and return shipping charges. Returned products will not be shipped to PO Boxes. Crosley Radio will not be responsible for delays or unprocessed claims resulting from a purchaserʼs failure to provide any or all of the necessary information.
ATTN: RETURNS DEPT 2001 PRODUCTION DRIVE Louisville, KY 40299
For additional support: Crosley Radio Consumer Service Department 24 hours a day / 7 days a week
Telephone: 1.888.CROSLEY (1.888.276.7539)
There are no express warranties except as listed above.
The purchaserʼs bill of sale is the only proof of warranty entitlement.
This warranty gives the purchaser specified legal rights in addition to any rights which may vary from state to state.
In accordance with the “Moss-Magnuson Warranty Act” of July 10, 1975, this is termed a “limited warranty” which in no way compromises Crosley Radioʼs high standards of
quality and workmanship.
1220 East Oak Street
Louisville, Kentucky 40204
1220 East Oak Street
Louisville, KY 40204
www.crosleyradio.com


















