VOLT ASDL-2014-B-BZ AMP Solar Landscape Lighting

Important Safety Instructions
Important Safety Instructions: Read Before Installation
This luminaire is intended for installation in accordance with local codes and the National Electric Code (NEC). Failure to adhere to these codes and in-structions may result in serious injury, property damage and void the warran-ty. These instructions do not intend to cover all variations in installation, opera-tion maintenance or mounting situations.
Please note that these solar fixtures are equipped with built-in photocells, so they will not turn on until it is dark enough. These fixtures will also require plenty of sunlight to function properly. It’s best to have the fixture in an area where the sun will get to it at all times throughout the day and where no am-bient lighting will affect the photocell at night. If your fixture is not function-ing at night, be sure that the on/off button has been engaged. See step one for details.
Important Safety Instructions
INSTRUCTIONS PERTAINING TO A RISK OF FIRE, OR INJURY TO PERSONS Lighted lamp is HOT!
WARNING – To reduce the risk of FIRE OR INJURY TO PERSONS.
- Lamp gets HOT quickly!
- Do not touch the hot lens, guard or enclosure.
- Keep lamp away from materials that may burn.
- Do not touch lamp at any time. Use a soft cloth. Oil from skin may dam-age lamp.
- Do not operate the luminaire fitting with a missing or damaged shield.
Package Contents
- A. (1) Fixture Body
- B. (1) Solar Panel Box
- C. (1) Cover Plate
- D. (2) Mounting Brackets
- E. (4) Screws
- F. (4) Wall Anchors
Product Dimensions
LUMINAIRE

SOLAR PANEL BOX

Test Solar Light

Press the ON/OFF switch on the back of the fixture body. Place the solar light on a non-abrasive surface with the solar panel against the surface to test the fixture.
There will be a short delay for the fixture to light up. The fixture will light up when the solar panel is covered and turn back off when it is uncovered. Now you can proceed to next steps of installations knowing the fixture is in ON mode.
Two installation options are provided. Choose the one according to your installation environment:
- Option 1: Plenty of sunlight.
- Option 2: Lack of sunlight.
Install Mounting Bracket

- Place the mounting bracket onto the desired location and mark two points on the wall for the wall anchors.
- Remove the mounting bracket. Drill the proper holes on the marks for the wall anchors by using an elec-trical drill.
- Push the wall anchors into the drilled holes.
- Attach the mounting bracket onto the wall anchors and secure with the screws. Tighten until snug with a screwdriver.
Place Fixture Body on to Mounting Bracket
Attach the bracket on the back of the fixture body to the mounting bracket on the wall.

INSTALLATION OPTIONAL 2
If the luminaire is going to be installed in a location where there is low sunlight, make sure it is still close to an area where there is plenty of sunlight for the solar panel to be installed separately.
Note: This distance must be less then 8.5 inches.

Install Mounting Bracket

- Drill a .90” round hole through the desired mounting location.
- Place the mounting bracket above the hole and mark two points on the wall using the two mounting bracket holes as guides.
- Remove the mounting bracket and drill proper holes on the marks for the wall anchors using an electrical drill.
- Push the wall anchors into the drilled holes.
- Attach the mounting bracket onto the wall anchors and secure with screws. Tighten using a screwdriver.
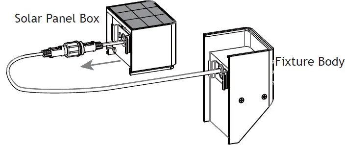
Remove Solar Panel Box from Fixture Body
Slide the solar panel box off the top of the fixture body to remove it.
Disconnect Quick Connector
Disconnect the quick connector to separate the male connector from female connector.

Install Cover Plate
Insert the cover plate onto the top of the fixture body.

Install Fixture Body onto Mounting Bracket
Pass the female connector and wire through the hole. Place the bracket on the back of the fixture body onto the mounting bracket.

Go to step 1 to install another mounting bracket onto the sunlit area for the solar panel. Pull the female connector to the other side then go the step 6.
Connect Quick Connector
Insert the female connector into the male connector and secure the cap to tighten the quick connector.

Install Solar Panel Box on to Mounting Bracket
Carefully tuck the quick connector and wire inside of the hole. Place the bracket of the solar panel box onto the mounting bracket.


- Using a screwdriver, remove the screws from the cover of the solar panel box.
- Disconnect the quick connector.
- Remove the battery pack out of the solar panel box and replace it with a new one.
- Connect the quick connector to the new battery pack and place the cover back onto the solar panel box. Secure it with previously removed screws.
Help Hotline:
1-813-978-3900 • Mon-Fri 9am-6pm (EST)
Specifications and product details subject to change without notice.
© Copyright 2020, AMP® Lighting, Lutz FL USA 33549 All rights reserved. [email protected] 813.978.3900 www.amplighting.com
IS-ASDL-2014-B-BZ-ver5.pdf




















