INSTALLATION & MAINTENANCE GUIDE

AMP® Low Voltage Landscape Lighting
AMP® LucidPro MR16 Spotlight (Lamp Ready)
AAL-1031-4-B-BZ
Help Hotline:
1-813-978-3900 • Mon-Fri 9am-6pm (EST)
INSTALLATION & MAINTENANCE GUIDE
AMP® LucidPro MR16 Spotlight (Lamp Ready)
AAL-1031-4-B-BZ
Important Safety Instructions: Read Before Installation
This luminaire is intended for installation in accordance with local codes and the National Electric Code (NEC). Failure to adhere to these codes and instructions may result in serious injury, property damage and void the warranty.
These instructions do not intend to cover all variations in installation, operation maintenance or mounting situation.
- Make sure that the power is turned OFF before installing or servicing this luminaire.
- WARNING: risk of electrical shock. Install all luminaires 10 feet (3.05M) or more from pool, spa or fountain.
- This luminaire is intended to be used only with a power supply (transformer) rated maximum of 300 watts (25 AMPS) at 15 volts.
- Wiring connections must be made with UL Listed wire connectors that is suitable for outdoor use.
- Position the low voltage wire and UL listed wire connector so that it is located within 6 inches (15.2 cm) from a building structure, a luminaire or fitting.
- The main low voltage cable is intended for shallow burial – less than 6 inches (152 mm).
Important Safety Instructions
INSTRUCTIONS PERTAINING TO A RISK OF FIRE, OR INJURY TO PERSONS Lighted lamp is HOT!
WARNING - TO REDUCE THE RISK OF FIRE OR INJURY TO PERSONS.
- Lamp gets HOT quickly!
- Do not touch the hot lens, guard or enclosure.
- Keep lamp away from materials that may burn.
- Do not touch lamp at any time. Use a soft cloth. Oil from skin may damage lamp.
- Do not operate the luminaire fitting with a missing or damaged shield.
SAVE THESE INSTRUCTIONS
Package Contents
A. (1) Fixture
Parts Required (sold separately)
A. (1) MR16 Bulb
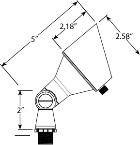
Product Dimensions

1 Remove Glare Guard

- ROTATE
- Glare Guard
- Set Screw
- Fixture
Loosen the set screw and remove it from the glare guard. Rotate the glare guard counter clockwise and remove it from the fixture.
2 Install MR16 Bulb

- Socket
- Custom MR16 Bulb
- Fixture

Standard MR16 Bulb (optional)
Use a custom or MR16 bulb (sold separately), with the correct wattage and type as marked on the luminaire label. Push the bulb onto the socket properly.
CAUTION: Do not exceed maximum wattage marked on luminaire label.
NOTE: DO NOT touch lamp with bare hands. Use soft cloth to handle lamp.
3 Install Glare Guard

- ROTATE
- Glare Guard
- Set Screw
- Fixture
Thread the glare guard clockwise onto the fixture. Tighten the set screw back
onto the glare.
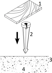
4 Install Stake

- Board
- Stake
- Ground
- Soil
Determine the desired location for mounting the stake mount. Hammer the stake into the ground until flange of stake is flush to grade. To avoid damage to the stake, place a board on top of the stake while hammering.
Note: If the ground is hard and the stake is difficult to install, make a crosscut in the ground using a flat shovel.
5 Install Fixture to Stake

- Fixture
- Ground
- Stake
- Soil
- Cable
Pass the fixture wire through the center hole of the stake. Thread the fixture body onto the stake and hand tighten until snug.
6 Wire Connection

- Supply Cable from Fixture
- Wire Connectors
- Main Supply Cable
- Pigtail
Strip both leads from the fixture pigtail. Using two UL listed wire connectors (sold separately), connect the leads from the fixture to the main supply cable leads.
7 Adjust Fixture

- Knuckle
- Fixture
- ROTATE
Loosen the knuckle and adjust the fixture to the desired orientation. Always tighten the knuckle after adjustment.
Install/Replace Bulb
Reverse Step 1 – Step 3 to expose the MR16 bulb and replace it with correct wattage and type marked on luminaire label. Reinstall the glare guard.
IMPORTANT: Bulbs must be protected from moisture and dust at all times. Always reinstall glare guard when removed.
![]()
Help Hotline:
1-813-978-3900 · Mon-Fri 9am-6pm (EST)
Specifications and product details subject to change without notice.
© Copyright 2021, AMP® Lighting, Lutz FL USA 33549 • All rights reserved.
[email protected] • 813.978.3900
IS-AAL-1031-4-X-XX-ver1.pdf



















