
AMP® Low Voltage Landscape Lighting
AMP® ONE RGBW HydraPro™ Single Source LED Underwater Light (Dimmable)
AUL-8005IR-B-BZ
INSTALLATION & MAINTENANCE GUIDE
Important: Please Read Before Installation
This luminaire is intended for installation in accordance with local codes and the National Electric Code (NEC). Failure to adhere to these codes and instructions may result in serious injury, property damage and void the warranty.
These instructions do not intend to cover all variations in installation, operation maintenance or mounting situations.
- Make sure that the power is turned OFF before installing or servicing this luminaire.
- WARNING: risk of electrical shock. Install all luminaires 10 feet (3.05M) or more from pool, spa or fountain.
- This luminaire is intended to be used only with a power supply (transformer) rated maximum of 300 watts (25 AMPS) at 15 volts.
- Wiring connections must be made with UL listed wire connectors that are suitable for outdoor use.
- Position the low voltage wire and wire connector so that it is located within 6 inches (15.2 cm) from a building structure, a luminaire or fitting.
- The main low voltage cable is intended for shallow burial – less than 6 inches (152 mm).
- “WARNING – RISK OF ELECTRIC SHOCK”
• Use only in ponds and small decorative fountains where persons will immerse no more than their hands and lower arms while the product is energized.
• DO NOT use in water intended for swimming, wading, immersion, or bathing.
• All installer completed cable connections must be located outside of pond or fountain.
• Low voltage circuit must be supplied by a power unit marked as suitable for supplying submersible luminaires.
• Power unit must be supplied by a circuit protected by a ground fault circuit interrupter (GFCI).
• “Maximum depth: 18 in (450 mm)”.
Important Safety Instructions
INSTRUCTIONS PERTAINING TO A RISK OF FIRE, OR INJURY TO PERSONS Lighted lamp is HOT!
WARNING – TO REDUCE THE RISK OF FIRE OR INJURY TO PERSONS.
- Turn off/unplug and allow to cool before replacing lamp.
- Lamp gets HOT quickly! Contact only switch/plug when turning on.
- Do not touch the hot lens, guard or enclosure.
- Keep lamp away from materials that may burn.
- Do not touch lamp at any time. Use a soft cloth. Oil from skin may damage lamp.
- Do not operate the luminaire fitting with a missing or damaged shield.
Package Contents
A. (1) Fixture body
Parts Required (sold separately)
A. (3) Mounting Screws
B. (3) Flat Washers
C. (3) Anchors
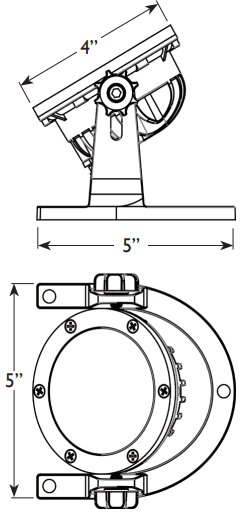
Product Dimensions

Install Horseshoe Mount

Place the horseshoe mount on the desired location and mark (3) points for the anchors from the holes on the horseshoe mount.
Drill proper holes on the location and insert anchors into the drilled holes.
Attach the horseshoe mount onto the anchors. Pass the washers over the mounting screws and thread the mounting screws into the anchors to secure the horseshoe mount. Hand tighten until snug with a screwdriver.
NOTE: SOME APPLICATIONS ARE NOT SUITABLE FOR PERMANENT MOUNTING AND DO NOT REQUIRE OR WARRANT THE USE OF SCREWS AND ANCHORS
Wire Connection

Strip both leads from the luminaire pigtail. Using wire connectors (sold seperately), connect the leads from the luminaire to the main supply cable leads.
Adjust the housing to your desired direction by using the lock nuts on the side of the housing.
Install/Replace Glare Guard
Remove Faceplate

Loosen the screws on the faceplate and remove the faceplate from the housing.
Install Glare Guard

Install the glare guard onto the housing and secure it with the screws previously removed, tightening them in a star pattern.
Now you can power on the system, and the light is 2700K and the optic is 60 degree as default.
Install/Replace Optic
Remove Faceplate and Lens

Loosen all screws on the faceplate.
Remove the faceplate and lens from the fixture.
Replace Optic

Loosen the screws and remove the optic from the fixture.
Install the new optic in the fixture. Make sure that you have the optic properly aligned over the LED board before tightening down. Improper alignment when tightening the screws can cause the optic to break.
Reinstall Lens and Faceplate

Place the lens and faceplate back onto the fixture. Secure them with previously removed screws. Tighten until snug with screwdrivers.
IR Remote (Optional)
An IR Remote is optional for this fixture. The IR remote requires two AAA batteries.
Remove the Battery Compartment Cover

Press the tab and rotate the battery compartment cover to remove it from the IR Remote.
Install Two AAA Batteries

Place two AAA batteries into the battery compartment properly.
Install the Battery Compartment Cover

Place the battery compartment cover back onto the IR Remote.
IR Remote Functions

- On
- Off
- Brightness Control
- 16 color selections
- Flash
A. Mode 1: Repeats Red, Green, Blue + color cycle for 1 second duration of each of the seven colors within this mode.
A. Mode 2: Hit flash a second time and this mode slowly blends the same seven colors from mode one, mixing them together. - Strobe
A. Mode 1: Pick any color on the remote, then press strobe and that color will strobe every second alternating between on and off.
A. Mode 2: Hit strobe a second time and this mode will strobe a blended white color at the same speed as before. - Fade
A. Mode 1: Pick any color on the remote, then press fade and that color will slowly fade on and off every second.
A. Mode 2: Hit fade a second time and it will fade a blended white color on and off at the same speed as before. - Smooth
A. Mode 1: Repeats a flash cycle of Red, Green, and Blue only.
A. Mode 2: Hit smooth a second time and this mode slowly blends Red, Green, and Blue only; on and off at the same speed.
AMP® ONE RGBW HydraPro™ Single Source LED Underwater Light (Dimmable)
AUL-8005IR-B-BZ
Help Hotline:
1-813-978-3900 • Mon-Fri 9am-6pm (EST)
Specifications and product details subject to change without notice.
© Copyright 2022, AMP®
Lighting, Lutz FL USA 33549 • All rights reserved.
[email protected]
• 813.978.3900
www.amplighting.com



















