NESTERA Chicken Lodge Small Coop

Chicken Lodge Components
- Vent covers
- Left hand side wall (Vent side)
- Lower back wall brace (only for Large)
- Back door handle
- Back door
- Upper back wall
- Lower back wall
- Base
- Left hand side nest box wall
- Middle nest box wall
- Right hand side nest box wall
- Roof support
- Front panel
- Side roof retainer
- Front roof retainer
- Small straight door retainer
- Large straight door retainer
- Small curved door retainer
- Large curved door retainer
- Handle
- Right hand side (Nest box)
- Ramp
- Nest box front brace
- Nest box side brace x2
- Nest box floor
- Nest box front
- Roof
- Nest box roof
- Perch
- Metal door
- Ramp Supports
Small Lodge


Fixing Pack
You only need to lift the ring slightly up from the bar. Linch Pins are designed to spring closed, so watch your fingers


RECYCLED & RECYCLABLE
Products from Nestera are made from recycled materials, wherever possible. Where this is not practical, we always try to use materials that are suitable for recycling.Our plastic is made from recycled industrial waste plastic. By choosing Nestera products, rather than those made from virgin plastic, you are helping to restrict the amount of new plastic being made. We recycle all our waste plastic (our Pi Clips are made from our own waste) and, of course, our products themselves can be recycled (if they ever wear out!).The recycled plastic we use is quite tough but as easily worked as wood. There is no need for preservative treatment with insecticides or fungicides, and structures won’t splinter or crack, so they retain their structural integrity. The plastic is resistant to UV light, so it retains its colour, and is mostly impervious to atmospheric pollutants and seasonal climatic actions, such as freeze–thaw. It insulates well and is resistant to chewing. These properties mean it retains its appearance, colour and functionality for far longer than timber.The sheets of recycled plastic have a very uniform thickness, and so are ideally suited to our high-technology manufacturing process, which uses computer- controlled machines to cut shapes to accuracies less than 0.1mm.We use some metal components to fix some parts together. The metals used are either stainless steel or other rust-resistant alloy, so they have a long lifetime and are also suitable for recycling.Our packaging and literature are all made from recycled materials wherever possible.
HOW TO FIT A CLEVIS PIN (IF USED)
HOW TO FIT A LINCH PIN (IF USED)
You only need to lift the ring slightly up from the bar. Linch Pins are designed to spring closed, so watch your fingers!
HOW TO FIT AND REMOVE A PI CLIP
- Fit two Vent Covers to the patterned face of the Right Side Wall each using an M6x30mm screw, a standard washer, 25mm washer and 1 x nylock nut.. Tighten the nuts until the vents can rotate using gentle pressure. They should not spin freely. The Left Side Wall has vent slots, to

- Fit the Small and Large Straight Door Retainer to the smooth (inside) side of the Front Wall using 3 x 40mm Screws, 3 x Standard washers and 3 x nylock nuts.

- Fit the Small and Large Curved Door Retainer to the smooth (inside) side of the Front Wall using 3x 30mm Screws,3x Standard Washers, and 3 x Nylock Nuts.These pieces form a recess into which the door fits when closed.

- Fit the Small Clevis Pin into the hole in the Metal Door from behind, and secure it using a washer and split ring. This can be a little awkward. We find that holding the split ring open by in-serting a flat-bladed screwdriver between the rings can make this task easier. But please mind your fingers!

- Place the Metal Door in position, and secure it with a 20mm screw, 2x Standard Washers, 25mm Washer and a Nylock Nut. Tighten the Nylock Nut until the door can just rotate freely.

- Fit the nest box Side Wall to the Lower back wall and Base using 5 x Pi Clips. Ensure that the three wide lugs are at the back.

- Fit the Side wall (with Vent covers) to the base and side wall and attach the Roof Support to the top center slot with another slot above it using 6 x Pi clips.

- Fit the Front Wall (patterned face outermost) using the pi clips provided.

- Fit the Upper Back Wall to the top two lugs using 2 x Pi Clips. This is the same for large, medium and small.

- Fit the Back Door Handle to the textured side of the back door using 2x Pi Clips. The L shape Hook on top of the handle denotes the top.

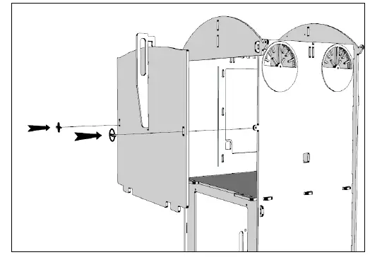
- Fit the Back Door using 2x Linch Pins. (When fitting, first rest the bottom of the Back Door in the slots in the Base, then push the door onto the lugs, and slide the Back Door Handles downwards. Secure it with Linch Pins

- Slide the Perches through the Left and Right Side Walls and secure with Linch Pins at both ends.

- Fit the Nest box End Walls and Nest Box Divider to the Nest Box Floor, then add the Nest Box Front Wall, all using 8 x Pi Clips.

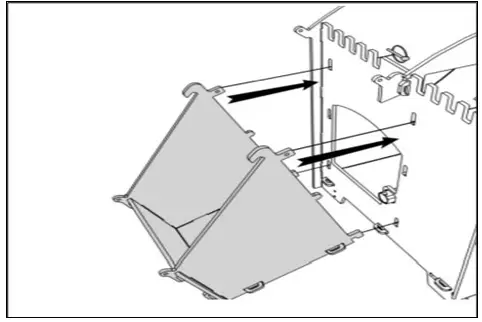
- Fit the nest box to the Lodge by first inserting the L-lugs into the lower holes on the Right Side Wall, then tilting the nest box to push the two upper lugs through their holes, before securing them inside the main house with 2x Linch Pins.

- Fit the Nest box Front Brace and the two Nest box Side Braces to the Nest box Lid, which should have its patterned side upwards, using 6 x Pi Clips.

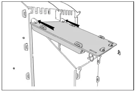
- The Nest Box Lid simply slides upwards so that the cutouts fit into the recesses in the vertical panels. It is se-cured with 2x Linch Pins.

- Fit two Side Roof Retainers, one on each side wall, using 1 x Pi Clips.

- Fit End Roof Retainers to the Front Wall and Upper Back Wall using 1 x Pi Clips.

- Fit the Roof using Linch Pins. Fix the center first, then bend the sides down over the remaining lugs.

- MANUAL DOOR ONLY: Tie one end of the Cord to the Split Ring in the Front Door and the other to the small hole in the Door Handle. The Cord should pass through the handle slot. Adjust the length of the cord so that, when the door is fully raised, the handle just hooks onto the edge of the opposite handhold or the roof edge .

- Push the two strengthening bars through the ramp and attach with the 4 pi Clips provided

- Fit the Ramp on top of the two lugs (front face) using 2 x 25mm Clevis Pins and 2 x R-Clips. It will tilt to the ground under its own weight.

Completed Lodge Small
INSTRUCTIONS FOR USE
The Chicken house should be sited in a sheltered area with the front facing away from prevailing winds. Vents should be adjusted to provide good ventilation. The rear door can be used for inspection, and regular cleaning. For thorough cleaning and replacing of bedding, the entire roof can be removed. This Chicken house is designed to be moved by two people, using the handholds cut into the roof. We recommend thorough cleaning at least every 3 months – a pressure washer is ideal for removal of caked on dirt, but an ordinary hosepipe and scrubbing brush will do. The plastic is quite easy to clean. Finish by applying Poultry Shield (or similar) and leave to dry. For protection against red mite, we recommend sprinkling a little diatomaceous earth (Diatom powder) around the house, particularly the joints, each time bedding is refreshed.
Accessories for your chicken coop
- The Chicken guard automatic door opener attaches to the front of your chicken coop, allowing you to set a time for opening and closing the door for when it suits you.

- If you use shavings as bedding material, we recommend that you use droppings trays to contain the shavings. They will keep the shavings dryer, and make clean-ing the house simply a matter of removing the trays and tipping the shavings onto your compost heap.



































