JBL Public Address System Transformer
Introduction
The rack-mountable JBL Commercial® CST-2120 transformer module provides impedance and voltage matching from the CSA-2120 amplifier (with 4 ohms or 8 ohms outputs) to drive 70V and 100V distributed speakers systems.
This unit allows the CSA-2120 amplifier without direct 70V or 100V output capability to drive distributed speaker systems designed to operate at those voltages.
- Providing two channels of impedance matching and voltage matching for “Constant Voltage” operation.
- Providing 70V and 100V output when used with CSA-2120 amplifiers
- Allowing CSA-2120 amplifiers to be easily integrated into distributed systems
- Detachable Phoenix-style input and output connectors
Installation
CAUTION: Before you begin, make sure that the amplifier is disconnected from the power source and all level controls are turned completely down (counter-clockwise).
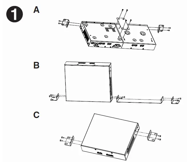
- If you need to mount the transformer module to rack, use a standard 19-inch (48.3-cm) equipment rack (EIA RS- 310B) . You can have the following options according to your application:
- Rack mounting the transformer module with a CSA- 2120 amplifier (See Figure A)
- Rack mounting single unit (See Figure B)
- Wall mounting (See Figure C)

- Connect the input of the transformer module to the output of the CSA-2120 amplifier with the shipped 4-pin cable.
- Determine the proper transformer module tap to use, based on the desired constant-voltage of your system.

Note: The CST-2120 transformer module is designed to work with the CSA-2120 amplifer in a public address system. The rack mounting kit is not included with this product, and you can find it in the CSA-2120 package. If you fail to find the rack mounting kit, please consult your local dealer.
Specification
System
Max Input Power: 125W/CH
Max. Input Voltage: 32Vrms (AMP rated at 125W into 8 ohms)
Insertion Loss: Less than 1dB
Frequency Response: +0/-1 dB (at 70 V tap/40 ohms load or 100 V tap/80 ohms load, 1 watt output, 70Hz – 15kHz)
Physical
Dimensions (W x H x D): 8.2” X 1.7” X 7” (209 mm x 44 mm x 178 mm)
Net Weight: 2.1 Kg (4.6 lbs)
Gross Weight: 2.4 Kg (5.3 lbs)
This guide does not include all of the details of design, production , or variation of the equipment. Nor does it cover every possible situation which may arise during installation, operation or maintenance. The information provided in this manual was deemed accurate as of the publication date. However, updates to this information may have occurred.
Trademark Notice: JBL is registered trademark of Harman International Industries, Incorporated. Other trademarks are the property of their respective owners.





















