
POWER SPEAKERS
BGx 2xxx SERIES

Enjoy it.
Operating and installation instructions
INTRODUCTION
Proper system planning is vital in order to maximize the device’s performance and road safety. Plan your installation carefully to avoid compromising the performance reliability of the system. Consult an authorized Blaupunkt dealer for installation or reparation. Read the manual carefully before operating the device for the first time.
Safety Notes
Ensure to follow below safety notes during installation and wiring connection: –
- Disconnect the negative terminal of the battery. Refer to the safety notes of the vehicle manufacturer.
- Ensure positions of the holes are nowhere near the vehicle component to avoid any damage during drilling.
- Ensure the cross-section of the cable is no less than 2.5mm2 if the positive and negative cables are too long.
- Incorrect installation may result in a malfunction of the device or the car sound system.
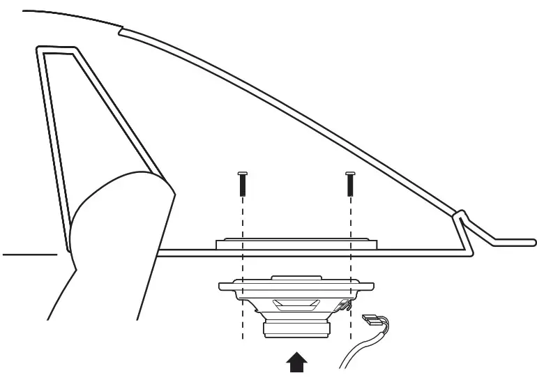
Installation and Connection Instructions
- Select a dry and well-ventilated location to install the device.
- The device must not be installed in overly exposed locations such as on the rear shelf, rear seat, etc.
- The installation location must be suitable for screw holes and have stable ground support.
Voltage Supply
- Use the supplied power extension cable to connect to the positive battery terminal.
- Firmly and carefully connect the ground lead to a bare metal point on the vehicle chassis.
- The control of the device should be a two-channel control, either via the preamplifier output of the car sound system. A control solely via the right or left channel is also possible since the low-frequency portion of the music is generally identical on both channels.
Disclaimer
In no event shall Blaupunkt be liable for any direct, indirect, punitive, incidental, special consequential damages to property or life and whatsoever arising out of or connected with the use or misuse of our products.
USA & CANADA: This product is not intended for sale in the United States and Canada. If purchased in the U.S. or Canada, this product is purchased on an as-is basis. No warranty, whether expressed or implied is provided in the U.S. or Canada.
Recycling and Disposal
Do not dispose of your old unit in the household trash! Use the return and collection items available to dispose of the old device.
This manual may be updated from time to time without any notice.
SPECIFICATION
BGx 2402 N
Pair of 4.0” 2-way coaxial speakers with injected cone including mounting hardware
- Max. Power Handling: 70W
- Normal Output Power (RMS) : 20W
- Impedance: 4ohms
- Frequency Response : 100-20,000Hz
- Sensitivity : 86dB
- Mounting Depth: 46mm
- Mounting Hole Diameter: 95mm
- Surround: Rubber Edge

Accessories

BGx 2652 N
Pair of 6.5” 2-way coaxial speakers with injected cone including mounting hardware
- Max. Power Handling: 105W
- Normal Output Power (RMS) : 35W
- Impedance: 4ohms
- Frequency Response : 70-20,000Hz
- Sensitivity : 88dB
- Mounting Depth: 59mm
- Mounting Hole Diameter: 141mm
- Surround: Rubber Edge
Accessories
BGx 2693 N
Pair of 6.0” x 9.0” 3-way triaxial speakers with injected cone including mounting hardware
- Max. Power Handling: 135W
- Normal Output Power (RMS) : 45W
- Impedence: 4ohms
- Frequency Response : 55-20,000Hz
- Sensitivity : 88dB
- Mounting Hole Diameter: 82mm
- Diameter Hole: 222x149mm
- Surround: Rubber Edge

Accessories

BGx 2652 C
Pair of 6.5” 2-way component speakers with injected cone including mounting hardware
- Max. Power Handling: 130W
- Normal Output Power (RMS) : 40W
- Impedance: 4ohms
- Frequency Response : 70-20,000Hz
- Sensitivity : 88dB
- Mounting Depth: 59mm
- Mounting Hole Diameter: 141mm
- Surround: Rubber Edge

Accessories

INSTALLATION
TROUBLESHOOTING
If any of the following problems occur, please resort to Troubleshooting for possible solutions.
Consult Blaupunkt authorized dealer if the problem persists.
| Problems | Possible Causes | Solutions |
| Speaker does not work | Incorrect or loose wiring connection. | Ensure proper wiring connections of the speaker. |
| Fraying or broken cables. | Repair or replace if the cables are damaged. | |
| Speaker is damaged. | Replace with a new speaker. | |
| Distorted and hissing sound | Voice coil or speaker cone is damaged. | Replace with a new speaker. |
| BGx 2402 N 1 111 20 030 07 01 | BGx 2652 N 1 111 20 031 07 01 | BGx 2693 N 1 111 20 032 07 01 | BGx 2652 C 1 111 20 033 07 01 |

https://www.facebook.com/blaupunkt.asia
Designed and engineered by Blaupunkt Competence Centre
TROUBLESHOOTING


















