AllPoints RV47L Gas Connector Restaurant Equipment and Supplies Dormont 48 Inch Gas Equipment Restraining Cable

NOTICE: This guide and the contents within were created by AllPoints Foodservice Parts and Supplies, Inc. utilizing products currently offered by the company. Excluding product specs, the contents of this guide were written independently of the gas hose manufacturers and as such, no reasonable inference should be made as far as the content of this guide being a direct reflection of the gas connector manufacturers’ thoughts and opinions.
Gas connectors are an essential part of every commercial kitchen. While electric equipment is an option, gas equipment is still by far the preference for most foodservice professionals. When it comes time to purchase and install a new piece of equipment or perform maintenance on existing equipment, there is a lot of confusion around which type of gas connector should be used for each installation. In this guide, we’ll walk through the types of gas connectors, the appropriate installation scenario for each, gas connector accessories, an ideal gas connector installation and finally how to overcome installations that are not ideal.
When it comes to selecting a gas connector, there are really 3 options:
- Residential – Stationary Gas Connector
- Foodservice – Stationary Gas Connector
- Foodservice – Moveable Gas Connector
Residential – Stationary Gas Connectors
- A gas connector for residential stationary applications is a stainless steel corrugated tube. As the name implies, these connectors are frequently used for residential installations on gas stoves, furnaces, hot water heaters and gas fire places. While these connectors are capable of providing the gas flow necessary to support commercial cooking equipment, they are not approved for use in ANY commercial kitchen application.
- By design, residential connectors are intended to be installed on a piece of residential stationary equipment that is infrequently moved. While these connectors are very durable and able to withstand a number of flexes, they are not designed to withstand the tension and stress placed on a gas connector attached to
a piece of commercial foodservice equipment that is moved frequently. Additionally, these connectors, as displayed below, do not have a plastic coating for easy cleaning. - This is a requirement for commercial foodservice applications.
- The installation of a residential connector in a foodservice application is against code and will not be passed by a health and safety inspector. While residential connectors are typically less expensive than foodservice stationary and moveable connectors, use of one poses a major safety and health risk to the restaurant and its patrons. If a connector is installed that does not meet standards, an operator or installer could be liable for damages from a fire, food-borne illness or other anticipated hazards.
QUICK FACTS Construction
- Corrugated 304 stainless steel tubing Possible Colors
- Black, silver, yellow Applications
- Water heaters, fire places, ranges, furnaces
- Residential only
Foodservice
- A gas connector for foodservice stationary equipment is used on exactly what the name says – stationary equipment. Stationary equipment is defined as any cooking equipment, floor or countertop, which is affixed to the ground or a table and is unable to be moved. From a construction standpoint, a foodservice stationary connector is basically a residential stationary connector in larger diameters with a PVC coating on the outside.
- So why are these connectors approved for commercial foodservice use and residential stationary connectors aren’t? The commercial foodservice environment is harsh on equipment and it is pretty common for grease and food to build up on gas connectors. When this occurs, it presents a tremendous fire hazard as well as a risk of food borne illness.
- To prevent this, the gas connector must be wiped down on a regular basis which is difficult if everything is sticking to bare corrugated stainless steel. The PVC coating
on the foodservice – stationary gas connector contains an agent that inhibits the growth of bacteria, mold and mildew, and the smooth surface of the coating also makes it easier to wipe the connector clean. Finally, all commercial foodservice gas connectors are required to have an NSF certification for cleanability and this certification is only achievable with the use of a coating. - Even though foodservice – stationary gas connectors are, by code, approved for use on stationary equipment, some inspectors may still require a moveable connector to be installed in lieu of a stationary connector. It is at each city’s discretion to enforce a code stricter than the national code. Please check with your local building codes department to determine the code in your area.

QUICK FACTS Construction
- Corrugated 304 stainless steel tubing
- Antimicrobial PVC coating Possible Colors
- Yellow Applications
- Equipment that is permanently affixed to the floor or a table
- Approved for use in commercial foodservice
Moveable Gas Connectors
- A gas connector for foodservice moveable gas appliances is the most common connector used in commercial kitchen installations. Moveable equipment is simply defined as equipment that, unlike stationary equipment, has the ability to be moved. From a construction standpoint, a foodservice moveable connector begins with the same corrugated stainless steel tubing used as the base in the residential and foodservice stationary connectors. Next, it has a layer of stainless steel braid on top of the corrugated tubing. Finally, an anti-microbial PVC coating just like the one used on the foodservice stationary connector is applied to the outside of the stainless steel braid.
- Because foodservice moveable gas connectors are the most common, they are governed by the strictest and most detailed standards and codes. From a general prospective, a product standard is a set of requirements that address the design and operating performance requirements for specific products. These standards are developed by committees of industry professionals under the support of organizations such as the American National Standards Institute (ANSI).
- The primary standard that governs foodservice moveable connectors is ANSI Z21.69/CSA 6.16 which states:
- A commercial-grade moveable gas connector, manufactured in accordance with ANSI Z21.69/ CSA 6.16, is required for use with all appliances that may, or may not, utilize casters and under conditions of normal use, are moved on a regular basis for service, positioning or area cleanliness.
- This also includes equipment on legs that could technically be moved with multiple people lifting it even though this probably would not be done on a frequent basis. The ANSI Z21.69/CSA 6.16 standard in addition to defining when a foodservice moveable grade connector is needed also defines the requirements a gas connector must meet to be considered a compliant moveable connector.
- While product standards focus on products, Model Building Codes are a set of definitions, rules and guidelines that govern the construction of a building – including commercial kitchens. These often include detailed information about gas, plumbing and electrical installations, including both infrastructure requirements and specifications regarding the installation of gas appliances. Since there are many different types of products utilized in a building, Model Building Codes frequently reference product standards. As it relates to gas equipment installation, the following Model Building Codes apply:
- ANSI Z223.1/NFPA 54 National Fuel Gas Code (2006 Edition) Section 8.5.1.1
- International Fuel Gas Code Section 411.1
- Uniform Plumbing Code Section 1212.1
- CSA B149.1, Natural Gas and Propane Installation Code Section 6.21.4
While these are all national and international codes, cities and municipalities have the option to adopt even stricter codes so it is always best to check with your local building department to ensure your installation is in compliance.
When comparing foodservice moveable and stationary connectors, the primary difference is the moveable connector utilizes a layer of stainless steel braid between the corrugated tube and the PVC coating. Why you might ask? You may remember when reviewing the residential – stationary gas connector we stated it is not designed to withstand the tension and stress placed on a gas connector attached to commercial foodservice equipment that is moved frequently. The stainless steel braid on the foodservice moveable gas connector is tightly woven to prevent the corrugated tubing from stretching when the gas equipment is moved. This allows the connector to withstand significantly more tension and flexing commonly experienced in a foodservice moveable application.
In order to get the most life out of your connector, it is recommended that whenever a piece of equipment is replaced, the gas connector is replaced at the same time. Most gas connectors carry, at minimum, a limited warranty which typically only covers the first piece of equipment to which the connector is attached. Reusing an existing connector on new equipment will, in fact, void the warranty of the connector from that point forward.
QUICK FACTS Construction
- Corrugated 304 stainless steel tubing
- Tight weave stainless steel braid
- Antimicrobial PVC coating Possible Colors
- Blue, gray, green, orange, yellow Applications
- Caster mounted cooking equipment
- Any cooking equipment not on caster, but frequently moved for cleaning
- Approved for use in commercial foodservice
Which Gas Connector Should I Use?
As previously stated, the code enforced in your area entirely depends on your local inspectors and building codes. In general, using a foodservice – moveable gas connector should keep you code compliant almost everywhere. Foodservice – stationary gas connectors may be approved for use in your area, but only on equipment that is bolted down or cannot be moved. Residential – stationary gas connectors are not approved for use in ANY commercial kitchen application
| FOODSERVICE MOVEABLE | FOODSERVICE STATIONARY | RESIDENTIAL STATIONARY | |
| Floor equipment on casters | x | ||
| Floor equipment on legs | x | ||
| Floor equipment secured to the floor | x | x | |
| Counter top equipment not secured to a surface | x | ||
| Counter top equipment secured to a surface | x | x |
Which Gas Connector Length Should I Use?
- Countertop Equipment: 24″ and 36″ connectors are the most popular for countertop equipment applications. This equipment is not intended to be moved on a frequent basis so a longer connector is unnecessary.

- Moveable Equipment: 48″ connectors are the most common for moveable equipment. This is because 48″ is the shortest connector length that allows a piece of equipment in the middle of a cook line to be pulled out far enough that you can get behind it for cleaning and maintenance.
- If a shorter length is used, the connecter will reach its fully extended length before the appliance clears the front of the other equipment in the line. Sometimes a 60″ or 72″ may be needed for a moveable equipment application, but this is rare and is usually for atypical applications.
- While there is no national law that dictates the connector length that must be used for a given application, states and local municipalities do have the ability to place restrictions on the connector length allowed by code. Check with your local building department to determine the code in your area.
Gas Connector Accessories
Whether you are doing a complete manifold and gas connector installation for a new commercial kitchen or installing a new piece of equipment in an existing kitchen, there are a number of accessories available to optimize your installation. Some are code required, like restraining devices and wheelplacement systems, while others, like quick-disconnects, have become the industry standard to utilize with any installation
Quick-Disconnects
- A quick-disconnect (QD) allows installers and operators to easily disconnect the appliance from the gas manifold in a quick and safe manner. This is typically done for cleaning and maintenance purposes. QD’s are often available in gas connector kits or can be purchased individually.
- When choosing a QD, be sure to select one that is CSA approved and has a built-in thermal shutoff feature. The shut-off feature allows the QD to lock closed, preventing gas flow if the temperature exceeds 350ºF, greatly reducing the chance of a fire.
- While gas connector manufacturers are split on the recommended side for installing the QD, manifold or appliance side, in reality both sides are correct. The primary benefit of installing the QD on the appliance side is it is easier to reach. The benefit of installing it on the manifold side is it allows you to move both the gas connector and the appliance out of the way for cleaning. One thing to keep in mind – regardless of whichever end you decide to install the QD on, be sure to follow the gas flow markings

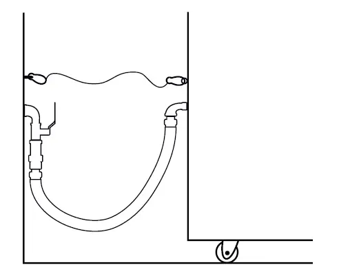
Restraining Devices
- A restraining device is the first line of defense in preventing excessive force from being applied to a gas connector which can lead to a connector failure over time. A restraining device is a removable steel cable with a plastic coating that tethers a cooking appliance to the wall behind it. The cable is always sized shorter than the gas connector it is paired with.
- This means when pulling an appliance away from the wall, the restraining device will reach its max extension length before the gas connector does. This prevents the strain from reaching the gas connector.
- While it is fairly common practice to discard the restraining device rather than installing it on a new/replacement appliance, the device is actually code required. The ANSI Z21.69/CSA 6.16 Standard section 1.7.4 specifies that gas connectors used on caster-mounted foodservice equipment are to be installed with a restraining device to prevent transmission of the strain to the connector.
- Although it is ultimately up to the local inspector to enforce the installation of restraining devices, it is critical to install one with every gas connector. This will help ensure safe operation of the equipment and increase the life of the gas connector.
CONNECTOR LENGTH RESTRAINING DEVICE LENGTH (+/- 1“) 12″ 10″ 24″ 10″ 36″ 20″ 48″ 32″ 60″ 44″ 72″ 44″
Swivels
- A multi-plane swivel is a coupling that can be placed on one or both ends of a gas connector to absorb tension that would normally be transferred through the connector.
- A swivel takes the place of 90 degree street elbows in most standard installations. When you encounter a less than ideal installation, adding a swivel is the number one method to reduce stress on the gas connector thus, prolonging its operating life.
- Swivels are able to reduce stress on connectors because of their ability to rotate 360 degrees. Rather than placing a tight bend on the gas connector to accommodate say, a low gas manifold height, the swivel will rotate absorbing the stress. One additional benefit of utilizing a swivel is they allow equipment to be placed closer to the wall, providing additional aisle space
Wheel Placement Systems
- Wheel placement systems are designed to allow caster-mounted kitchen equipment to be easily returned to a specific location after every cleaning or maintenance. In most cases, the specific location is below the fire suppression and/or ventilation system(s).
- As with most of the products in this guide, a wheel placement system is required for use with all caster-mounted equipment according to NFPA codes 17A (5.6.4) and 96 (12.1.2.3). These codes state a means must be present to ensure cooking equipment is alwayspositioned in its design-specified location in relation to the fire suppression and ventilation systems. A placement system can be something as simple as angle iron in an “L” shape bolted to the floor or more elaborate like an injection molded channel.
- Though very different in design, both of these options will satisfy the NFPA codes for equipment placement
Ideal Gas Connector Installation
While there is no national code that governs the manifold design and location of the gas inlet on appliances, there are some guidelines as far as the “ideal” installation. The closer your installation scenario models the “ideal”, the longer the life of the gas connector and the lesser the chance of a connector failure.
Characteristics of an “ideal” installation:
- Manifold is located 30″ to 42″ from the floor
- The appliance gas inlet is located at a similar height to the gas manifold
- The gas connector has the ability to rest in a “lazy loop” when the equipment is in its operating position
- The gas manifold drop should point down
- A commercial grade (not residential grade) full-port shut-off valve should be used
- An anchor should be placed on the manifold at every drop point and every angle
- The appliance gas inlet should be no further than +3 or -3 horizontally from the center of the gas manifold drop
- A restraining device is utilized
- A quick disconnect is utilized – it can be installed on either the appliance or manifold side
Because there is no code or standards that guide installers on how to create an “ideal” installation environment, it is very common for manifolds and appliance inlets to be outside of the standard height. When the installation does not conform to all the characteristics listed above, it typically results in added stress/tension being placed on the gas connector.
Gas Connector Dangers… and How to Prevent Them
Anytime you are dealing with gas, it is critical to always keep in mind the possibility of a leak and the consequences that could occur as a result of that leak. The good news about gas connectors is that as long as they are installed according to the manufacturer’s instructions and in accordance will all codes and standards, the risk of a connector failure is greatly reduced
Top 3 foodservice – moveable connector installation issues:
- A restraining device was not installed or not utilized and excessive strain is placed on the connector directly below the end fitting(s).
- The manifold design or the inlet on the appliance are in a less than ideal location and excessive strain is placed on one or both ends of the connector directly below the end fitting(s).
- The connector was not installed properly according to the manufacturer’s instructions
Less than ideal installation with no restraining device, high manifold inlet and low appliance inlet. A swivel has been installed on both connector ends to reduce stress and tension transferred to the connector
Installation issues 1 & 3 are relatively easy to overcome – install and use the restraining device and read the installation instructions prior to starting. For reason number 2, there are a number of different combinations that could cause this danger. The good news is in almost every case, installing a multi-plane swivel on one or both ends of the connector will greatly reduce the stress and tension transferred to the connector.
NOTE: In extreme cases these issues can result in a gas connector failure. However, this is not typical. The ANSI Z21.69 product standard ensures foodservice moveable connectors are capable of withstanding a tremendous amount of tension and strain
Normal Manifold, Low Appliance
PROBLEM: The appliance inlet is very low to the ground creating a high tension area on the connector directly below the appliance side connection point.
SOLUTION: Install a multi-plane swivel coupling on the appliance side of the gas connector.
High Manifold, Normal Appliance
PROBLEM: The gas manifold is installed higher than 42″ off the ground creating a high tension area on the gas connector directly below the appliance side connection point.
SOLUTION: Install a multi-plane swivel coupling on the appliance side of the gas connector.
Low Manifold, Normal Appliance
PROBLEM: The gas manifold is installed less than 30″ off the ground creating a high tension area on the gas connector directly below the manifold side connection point.
SOLUTION: Install a multi-plane swivel coupling on the manifold side of the gas connector.
Low Manifold, Low Appliance
PROBLEM: Both the gas manifold and the appliance inlet are less than 30″ off the ground creating high tension areas on both sides of the connector directly below the connection points.
SOLUTION: Install a multi-plane swivel coupling on both sides of the gas connector. In some instances, it may also be necessary to switch to a gas connector that is one foot shorter in length
High Manifold, Low Appliance
PROBLEM: The gas manifold is installed higher than 42″ off the ground and the appliance inlet is less than 30″ off the ground. This creates a high tension area on the gas connector directly below the appliance side connection point.
SOLUTION: Install a multi-plane swivel coupling on the appliance side of the gas connector. In some instances, it may also be necessary to switch to a gas connector that is one foot longer in length.
No Restraining Device
PROBLEM: There is no mechanism in place to prevent the gas connector from reaching its full extension creating high tension areas on both sides of the gas connector directly below the connection points. Additionally, high tension may transfer to the gas manifold as well and result in pulling it away from the wall.
SOLUTION: Install a restraining device that is properly sized to match the installed gas connector
Dormont Moveable Gas Connectors
| PIPE SIZE | LENGTH | ORDER NO. |
| ½” | 48″ | 32-1012 |
| ½” | 60″ | 32-1018 |
| ¾” | 24″ | 32-1794 |
| ¾” | 36″ | 32-1013 |
| ¾” | 48″ | 32-1014 |
| ¾” | 60″ | 32-1015 |
| ¾” | 72″ | 32-1019 |
| 1″ | 36″ | 32-1690 |
| 1″ | 48″ | 32-1016 |
| 1″ | 60″ | 32-1017 |
| 1″ | 72″ | 32-1020 |
| 1¼” | 36″ | 32-1671 |
| 1¼” | 48″ | 32-1030 |
| 1¼” | 60″ | 32-1031 |
- Heavy-duty stainless steel corrugated tubing covered with tightly woven stainless steel braid
- Patented Rotational StressGuard Technology® reduces stress at both ends of the connector
- Antimicrobial PVC coating helps to prevent grease buildup and inhibits the growth of bacteria, mold and mildew
- Assembled in the U.S.A.
- CSA certified to ANSI Z21.69/CSA 6.16 standard
- Limited lifetime warranty
Dormont Moveable Gas Connector Kits
| PIPE SIZE | LENGTH | ORDER NO. |
| ½” | 36″ | 32-1828 |
| ½” | 48″ | 32-1826 |
| ½” | 60″ | 32-1810 |
| ¾” | 36″ | 32-1839 |
| ¾” | 48″ | 32-1821 |
| ¾” | 60″ | 32-1819 |
| 1″ | 36″ | 32-1818 |
| 1″ | 48″ | 32-1817 |
| 1″ | 60″ | 32-1825 |
- Contain all the components necessary for a complete installation
- Kit Contains:
- Antimicrobial PVC coated gas connector
- One-handed quickdisconnect\ fitting
- Restraining cable with mounting hardware
- Full-port ball valve
- Two (2) 90 degree street elbows
- Assembled in the U.S.A.
- CSA certified to ANSI Z21.69/CSA 6.16 standard
- Limited lifetime warranty
JetForce Moveable Gas Connectors
| PIPE SIZE | LENGTH | ORDER NO. |
| ½” | 36″ | 32-1636 |
| ½” | 48″ | 32-1637 |
| ½” | 60″ | 32-1632 |
| ¾” | 36″ | 32-1639 |
| ¾” | 48″ | 32-1634 |
| ¾” | 60″ | 32-1635 |
| 1″ | 36″ | 32-1638 |
| 1″ | 48″ | 32-1633 |
| 1″ | 60″ | 32-1631 |
- Corrugated stainless steel tubing encased in tight weave stainless steel braid
- Thick, non-toxic PVC coating
- Assembled in the U.S.A
- CSA certified to ANSI Z21.69 / CSA 6.16 standard
- 5 year limited warranty
JetForce Moveable Gas Connector Kits
| PIPE SIZE | LENGTH | ORDER NO. |
| ½” | 36″ | 32-1648 |
| ½” | 48″ | 32-1645 |
| ½” | 60″ | 32-1644 |
| ¾” | 36″ | 32-1643 |
| ¾” | 48″ | 32-1647 |
| ¾” | 60″ | 32-1642 |
| 1″ | 36″ | 32-1641 |
| 1″ | 48″ | 32-1640 |

- Kit contains:
- Stainless steel gas connector with braid and PVC coating
- Quick-disconnect
- Restraining device with mounting hardware
- Gas ball valve
- Two (2) 90 degree street elbows
- Assembled in the U.S.A
- CSA certified to ANSI Z21.69 / CSA 6.16 standards
- 5 year limited warranty
Restraining Device
| HOSE LENGTH | CABLE LENGTH | ORDER NO. |
| 24″ | 10″ | 26-1334 |
| 36″ | 20″ | 26-2516 |
| 48″ | 32″ | 26-1345 |
| 60″ & 72″ | 44″ | 26-2517 |
| HOSE LENGTH | CABLE LENGTH | ORDER NO. |
| 24″ | 10″ | 26-1334 |
| 36″ | 20″ | 26-2516 |
| 48″ | 32″ | 26-1345 |
| 60″ & 72″ | 44″ | 26-2517 |
- Required for caster-mounted foodservice gas equipment
- Prevents strain on gas connector
- Actual length is shorter than the gas connector
- Includes restraining cable and mounting hardware
Safety-Set® Wheel Placement System
Safety-Set® is designed to return caster-mounted kitchen equipment to a specific location after every cleaning or maintenance.
- Accommodates 4”, 5” and 6” casters and withstands up to 1,000lbs. of crush force
- Ideal for new and existing applications
- Can be used with all caster-mounted equipment including cooking appliances, warming carts, salad bars and refrigerators
- Composed of a flame retardant PC/ABS injection molded blend
- Open floor design allows appliance to rest level on the floor to ensure even cooking
- Easy to install with choice of adhesive foam tape or thumb screw hardware pack (both included)
- Satisfies NFPA codes 17A (5.6.4) and 96 (12.1.2.3)
- NSF listed to NSF/ANSI 169 standard
Quick-Disconnect
| PIPE SIZE | ORDER NO. |
| ½” | 26-1262 |
| ¾” | 26-1263 |
| 1″ | 26-1264 |
- Brass coupler body
- Brass nipple fitting
- Thermal shut-off feature: Polymer insert in QD nipple melts when internal temperatures exceed 350ºF to shut off gas flow
- CSA certified to ANSI Z21.41/CSA 6.9
Swivel MAX® Multi-Plane Swivel
| PIPE SIZE | ORDER NO. |
| ½” | 26-2526 |
| ¾” | 26-2527 |
| 1″ | 26-2528 |
| 1¼” | 26-2529 |
- Provides full 360 degree multi-plane movement for maximum mobility
- Reduces stress on gas connectors
- Expands aisle space because gas equipment can be moved closer to walls
- Can be used on one or both ends of a gas connector
- Replaces rigid street elbows in most installations
- CSA certified to ANSI/UL 567 and CR-92-009
Foodservice Stationary Gas Connectors
| PIPE SIZE | LENGTH | ORDER NO. |
| ½” | 24″ | 32-1032 |
| ½” | 36″ | 32-1033 |
| ½” | 48″ | 32-1034 |
| ½” | 60″ | 32-1035 |
| ¾” | 24″ | 32-1036 |
| ¾” | 36″ | 32-1037 |
| ¾” | 48″ | 32-1038 |
| ¾” | 60″ | 32-1039 |
- Corrugated stainless steel tubing
- Antimicrobial PVC coating helps to prevent grease buildup and inhibits the growth of bacteria, mold and mildew
- Assembled in the U.S.A.
- CSA certified to ANSI Z21.24/CSA 6.10 and ANSI Z21.75/CSA 6.27
- Limited lifetime warranty

| PIPE SIZE | ADJUSTABLE RANGE | MAX INLET PRESSURE | MODEL NO. | ORDER NO. |
| Natural Gas | ||||
| ½” | 4 – 8 | ½ PSIG | RV47L | 52-1140 |
| ½” | 3 – 6 | ½ PSIG | RV48L | 52-1009 |
| ¾” | 3 – 6 | ½ PSIG | RV48L | 52-1011 |
| ¾” | 3 – 6 | 1 PSIG | R500 | 52-1026 |
| ¾” | 3 – 6 | ½ PSIG | RV53 | 52-1028 |
| 1″ | 3 – 6 | ½ PSIG | RV53 | 52-1030 |
| 1″ | 3 – 6 | 1 PSIG | RV61 | 52-1032 |
| LP Gas | ||||
| ½” | 6 – 10 | ½ PSIG | RV47L | 52-1150 |
| ½” | 5.5 – 12 | ½ PSIG | RV48L | 52-1010 |
| ¾” | 5.5 – 12 | ½ PSIG | RV48L | 52-1012 |
| ¾” | 5.5 – 12 | 1 PSIG | R500 | 52-1027 |
| ¾” | 5.5 – 12 | ½ PSIG | RV53 | 52-1029 |
| 1″ | 5.5 – 12 | ½ PSIG | RV53 | 52-1031 |
| 1″ | 5.5 – 12 | 1 PSIG | RV61 | 52-1033 |
Notes:
- RV47 & RV48 models have a built in vent
- RV500, RV53 & RV61 models come with the vent limiter included
FLORIDA 9550 Satellite Blvd, Suite 145 Orlando, FL 32837 Counter hours: M-F
7:30am – 5:30pm EST
Shipping cutoff: 5:30pm EST
NEVADA 839 Pilot Rd, Suite A Las Vegas, NV 89119 Counter hours: M-F
7:00am – 5:00pm PST
Shipping cutoff: 5:45pm PST
ILLINOIS 607 W Dempster St Mount Prospect, IL 60056 Counter hours: M-F
7:30am – 5:00pm CST
Shipping cutoff: 5:30pm CST
NEW JERSEY 101 Mt. Holly By-Pass Lumberton, NJ 08048
Counter hours: M-F (will call only)
8:00am – 5:00pm EST
Shipping cutoff: 5:30pm EST
(800) 332-2500 fax: (800) 227-1511 AllPointsFPS.com



























