5-In-1 Electric Manicure
TB-1335
Instruction Manual
Safety Instructions:
To ensure the proper operation of this appliance, please read this instruction manual carefully before using the appliance and keep it for future reference.
WARNING
- The following persons should not use this appliance: pregnant women or while nursing; children; persons with skin inflammation on the fingers or toes; persons with allergies; persons with reduced physical, sensory or mental skills.
- Immediately stop using the appliance, and consult a doctor if you feel unwell.
- Do not use this appliance for any other purpose than nail
- Do not place the appliance in a hot or humid environment.
- Do not attempt to modify, disassemble, or repair the appliance by yourself.
- WARNING! Do not look directly at the UV light.
CAUTION
- If the appliance is not used for a long time remove the
Product Specifications:
- Name: 5 in 1 Manicure/Pedicure Set
- Model No.: TB-1335
- Type of Battery: Appliance Body AAA 1.5V x 2 (not included) Storage Base LR44 1.5V x 3 (included)
BATTERY PRECAUTIONS
Follow these precautions when using a battery in this device:
- Use only the size and type of battery specified.
- Be sure to follow the correct polarity when installing the battery as indicated in the battery compartment. A reversed battery may cause damage to the device.
- If the battery in the device is consumed or the device is not to be used for a long period of time, remove the battery to prevent damage or injury from possible battery leakage.
- Do not try to recharge the battery not intended to be recharged; It can be overheated and ruptured. (Follow battery manufacturer’s instructions.)
- The battery shall not be exposed to excessive heat such as sunshine, fire, or the like.
- Clean the battery contacts and also those of the device prior to battery installation.
WARNING: Do not Ingest battery, Chemical Bum Hazard. This product contains a coin/button cell battery. If the coin/button cell battery is swallowed, it can cause severe internal bum in just 2 hours and can lead to death. Keep new and used batteries away from children. If the battery compartment does not close securely, stop using the product and keep it away from children. if you think batteries might have been swallowed or placed inside any part of the body, seek immediate medical attention.
WARNING: BUTTON CELL BATTERIES CAN CAUSE SERIOUS INJURY OR DEATH IF SWALLOWED. DISPOSE OF SAFELY!
STORE BATTERIES OUT OF REACH OF CHILDREN!
VISIT THEBATTERYCONTROLLED.COM.AU
https://www.productsafety.gov.au/products/electronics-technology/button-batteries
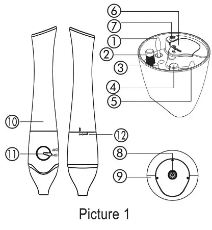
Product Description:

| 1. Filing Head 2. Shaping Head 3. Cuticle Head 4. Buffing Head 5. Felt Grinder 6. UV Light Battery Cover | 7. UV Light Power Button 8. UV Light 9. Storage/UV Light Base 11) 10. Appliance Battery Cover 11. Power Switch 12. Battery Cover alignment indicator |
Operating Instructions:
To ensure the correct operation of this appliance, please read the instructions carefully before use.
Remove the Appliance Battery Cover and insert two MA batteries into the battery compartment according to the positive (+)and negative (-) terminals (batteries are not included) (picture 2).
To remove the UV Light Battery Cover, use a screwdriver to remove the small screw and then the battery cover. Remove the battery’s insulation plastic. Re-install the battery cover and the screw. The Storage Base operates with 3 LR44 button cell batteries (picture 3).
Using Tips
- While using the appliance, slightly adjust your fingers or toes to irradiate and dry your nail polish evenly on the front and sides of the nails.
- Do not apply a thick nail polish layer, nail polish does not dry well when the coat is too thick.
Using the Appliance
- Select the attachment you want to use. It is recommended to follow the below instructions for nail care:
– Shaping Head: Grinds the nails to create the perfect shape.
– Cuticle Head: This can be used to remove cuticles from the sides and edges of the nail.
– Buffing Head: Ideal to use on acrylic nails, shortens and shapes the edge of the nails. – Filing Head: Polishes acrylic and natural nails. – Felt Grinder: Polish nails giving it a glossy finish. - After you select the attachment you want to use, install it into the appliance body until it locks the position. Slide the Power Switch to “ON” to turn the appliance on (picture 4).

- After using the appliance, slide the Powe Switch to “OFF° to turn it off. Place all the attachments on the bottom of the Storage Base for your convenience. If you want to use the UV Light to cure gel nail polish, turn the Storage Base upside down, press the Power Button to turn on the UV light, and place the fingers under the UV light (picture 5). Turn Off the UV Light after using it.

Cleaning & Maintenance:
- Turn the appliance off before you start cleaning it. Clean the attachments with a small brush or a damped cloth.
- Clean the appliance body with a dry cloth or with a cloth moistened with water and place it in a ventilated place to dry (picture 6).

- If the appliance attachments are worn out or become old, please replace them.
- After cleaning, place all the attachments and appliances on the storage base.
Recycling:
Batteries contain substances harmful to our environment. Do not dispose of the appliance with the battery inside, remove the battery and hand it over to your local council recycling point for environmental protection.
Troubleshooting
| Problem | Possible Cause | Solution |
| Not working | Battery installed incorrectly. | Reinstall the battery correctly. |
| Low battery. | Install the new battery. | |
| Abnormal noise | Grind head installed incorrectly. | Remove and reinstall the grinding head correctly. |
| Poor Manicure result | Low battery. | Install the new battery. |
| Worn tool head. | Replace with a new tool head. |
12 Month Warranty
Thank you for your purchase from Kmart.
Kmart Australia Ltd warrants your new product to be free from defects in materials and workmanship for the period stated above, from the date of purchase, provided that the product is used in accordance with accompanying recommendations or instructions where provided. This warranty is in addition to your rights under the Australian Consumer Law.
Kmart will provide you with your choice of a refund, repair or exchange (where possible) for this product if it becomes defective within the warranty period. Kmart will bear the reasonable expense of claiming the warranty. This warranty will no longer apply where the defect is a result of alteration, accident, misuse, abuse, or neglect.
Please retain your receipt as proof of purchase and contact our Customer Service Centre on 1800 124 125 (Australia) or 0800 945 995 (New Zealand) or alternatively, via Customer Help at Kmart.com.au for any difficulties with your product. Warranty claims and claims for expenses incurred in returning this product can be addressed to our Customer Service Centre at 690 Springvale Rd, Mulgrave Vic 3170.
Our goods come with guarantees that cannot be excluded under the Australian Consumer Law. You are entitled to a replacement or refund for a major failure and compensation for any other reasonably foreseeable loss or damage. You are also entitled to have the goods repaired or replaced if the goods fail to be of acceptable quality and the failure does not amount to a major failure.
For New Zealand customers, this warranty is in addition to statutory rights observed under New Zealand legislation.






















