CRYSTORAMA 5264-EB-CL-MWP_CEILING Mercer Seven Light Ceiling Mount Instruction Manual

ASSEMBLY INSTRUCTION MODEL #5264-EB-CL-MWP_CEILING



All electrical components must be installed by a licensed electrician in accordance with the National
Electric Code and the appropriate local electrical codes![]()

You will need 6- Candelabra Base Bulb and 1-Medium Base Bulb.
40 Watts recommended 60 Watts Max.
USE LED BULBS FOR EXTENDED USE
The fixture is Damp rated
HOW TO INSTALL:
Place the fixture parts on a soft cloth-covered platform before installation of fixture.
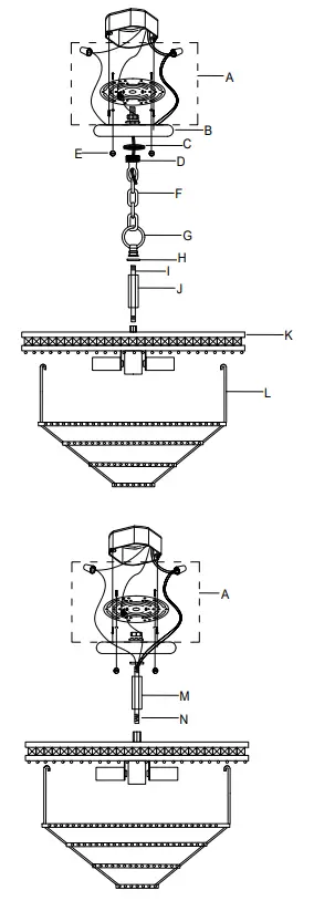
For Hanging:
- Lock the threaded nipple into the coupling of the fixture body then put the rod andthe check ring onto the threaded nipple and lock them with the fixture loop.
- Hang the basket ring on the crossbarof the fixture body using the hooks attached to the basket ring.
- Install the mounting plate onto the outlet
- Decide the desired hanging height and adjust the chain to the correct length.
- Raise the fixture up and do the wireconnection. Attach the canopy over the mounting plate and secure with ball nuts.
- Dress the crystals as
For Ceiling:
- Same installation step#1 and #2 as a
- 238 Sets. (1)14mm + (1)60mm plug for the hanging.
- Remove the fixture loop from the fixture body and the loop from the ceiling canopy. Place the canopy over the top of the fixture body and secure with the ball
Dress the crystals as illustrated.
WARNING:This product can expose you to Lead, which is known to the State of California to cause cancer and/or birth defects or reproductive harm.For more
information go to www.p65warnings.ca.gov
ASSEMBLY INSTRUCTION MODEL #5264-EB-CL-MWP_CEILING

Part Number
Part Numbers-For Hanging Asts(1)-Mounting hardware Mounting plate xl. Wire connector x2. Lock washer xl. Hex nut xl. nut x2.
Threaded Nipple xl. Screw x4. B. (1)-Canopy (W6″xH1.4″)-XSN5264EBCAN6IN C. (1 )-Collar Ring D. (1)-Collar Loop-XSN5264EBLOOP E. (2)-Ball nut-XSN5264EBBANUT F. (1)-Chain (4mmx72″)-XSN5264EBCHA4MM
- (1)-Threaded nipple; H5″ J. (1)-Rod ; H5″-XSN5264EBROD5IN K.
(1)-Fixture body Coupling Banding; 020″ Candelabra Socket x6 & Medium Socket xl. 78 round crystal pins. L.
(1 )-Basket ring z 014 1/2″ First layer of ring ; 64pin holes. Second layer of ring 48pin holes. Third layer of ring. 32pin holes. Fourth layer of ring ;, 16pin holes.
Part Numbers-Conversion kit For Ceiling
M. (1)-Rod ; H3 1/4″-XSN5264EBROD3.25IN
(1)-Threaded nipple; H3 3/8″



















