WDPS2W ADA Compliant Laundry Pedestal Riser
Instruction Manual
IMPORTANT SAFETY INSTRUCTIONS
READ ALL INSTRUCTIONS BEFORE USE
The following safety guidelines are intended to prevent unforeseen risks or damage from unsafe or incorrect operation of the appliance.
The guidelines are separated into ‘WARNING’ and ‘CAUTION’ messages as described below.
Safety Messages
This symbol is displayed to indicate matters and operations that can cause risk. Read the text marked with this symbol carefully and follow the instructions in order to avoid risk.
WARNING
This indicates that the failure to follow the instructions can cause serious injury or death.
CAUTION
This indicates that the failure to follow the instructions can cause minor injury or damage to the product.
WARNING
WARNING
To reduce the risk of explosion, fire, death, electric shock, injury or scalding to persons when using this product, follow basic precautions, including the following:
- This appliance should only be installed and transported by two or more people holding the pedestal securely.
- Unplug the front-loading washing machine or dryer before stacking it on top of the pedestal.
- Keep flammable materials and vapors, such as gasoline, away from dryer.
- Place dryer at least 18 inches above the floor for a garage installation.
INSTALLATION
Parts and Dimensions
The images in this guide may be different from the actual components and accessories, which are subject to change by the manufacturer without prior notice for product improvement purposes. Check the width of the pedestal before purchasing to make sure that it matches the width of your appliance (27” (70 cm) or 29” (74 cm)).
Front View
Included Accessories

Dimensions

Tools Needed

- Wrench
- Screwdriver
WDPS1*
| W | 27″ | 690 mm |
| D | 27″ | 690 mm |
| H | 5 1/8″ | 130 mm |
WDPS2*
| W | 27″ | 690 mm |
| D | 27 1/2″ | 700 mm |
| H | 5 1/8″ | 130 mm |
Stacking Pedestal
Before Installation
- If the washer or combo was previously installed, unplug it, disconnect the inlet hose(s) from the faucet(s), disconnect the drain hose, and drain all hoses.
- If dryer was previously installed, uninstall it as follows:
− Uninstalling an electric dryer:
1) Unplug the power supply cord.
2) Pull the dryer away from the wall enough to loosen the vent clamp. Loosen the clamp and carefully remove the exhaust vent from the dryer exhaust outlet.
− Uninstalling a gas dryer:
1) Unplug the power supply cord,
2) Turn off the gas supply.
3)Pull the dryer away from the wall enough to loosen the vent clamp. Loosen the clamp and carefully remove the exhaust vent from the dryer exhaust outlet.
How to Stack
- Check the fastening structure at the bottom on the side of the product. Go to Step 2 for dryer and Step 4 for washer.

- Tilt and hold product.
- Insert the T-clip 1 of the bracket 2 into the dryer base as shown. Press up on the back of the clip and pull outward to lock into place.

- Place the product on top of the pedestal.
• Make sure the 4 legs are totally locked and the holes in the pedestal align with the holes in the washing machine.
- Securely attach the two products at the corners using screws.
• First, insert screws on each side. Then insert screws on the front and back side.
• Tighten screws to assemble the stacking brackets.
− For washer: 16 screws
− For dryer: 8 screws
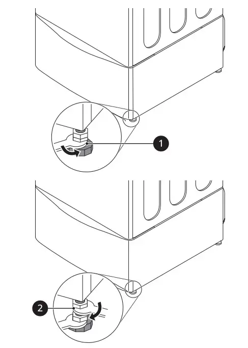
- Extend all 4 feet 1 of the washing machine slightly until it is snugged up against the pedestal. Then tighten the four lock nuts 7.

- Turn all 4 leveling feet a in one direction to raise the pedestal or the other direction to lower it. Then tighten the locknuts b.

CAUTION
- Do not install a dryer pedestal between a stacked washer and dryer.

WARRANTY
LG Electronics Inc., will repair or at its option replace, without charge, your product if it proves to be defective in material or workmanship under normal use during the warranty period set forth below, effective from the date of original consumer purchase of the product. This limited warranty is good only to the original purchaser of the product and effective only when used in the United States including Alaska, Hawail, and U.S. Territories; and Canada.
| WARRANTY PERIOD | HOW SERVICE IS HANDLED |
| 1 Year from the Date of Purchase | Call 1-800-243-0000 (USA) or 1-888-542-2623 (CANADA) and choose the appropriate prompt. Please have product type, model number, serial number, and ZIP code ready. |
THIS WARRANTY IS IN LIEU OF ANY OTHER WARRANTIES, EXPRESS OR IMPLIED, INCLUDING WITHOUT LIMITATION, ANY WARRANTY OF MERCHANTABILITY OR FITNESS FOR A PARTICULAR PURPOSE. TO THE EXTENT ANY IMPLIED WARRANTY IS REQUIRED BY LAW, IT IS LIMITED IN DURATION TO THE EXPRESS WARRANTY PERIOD ABOVE. LG WILL NOT BE LIABLE FOR ANY CONSEQUENTIAL, INDIRECT, OR INCIDENTAL DAMAGES OF ANY KIND, INCLUDING LOST REVENUSE OR PROFITS, IN CONNECTION WITH THE PRODUCT.
SOME STATES DO NOT ALLOW LIMITATION ON HOW LONG AN IMPLIED WARRANTY LASTS OR THE EXCLUSION OF INCIDENTAL OR CONSEQUENTIAL DAMAGES, SO THE ABOVE LIMITATIONS OR EXCLUSIONS MAY NOT APPLY TO YOU.
THIS LIMITED WARRANTY DOES NOT APPLY TO:
- Service trips to your home to deliver, pick up, and/or install the product, instruct, or replace house fuses or correct wiring, or correction of unauthorized repairs; and
- Damages or operating problems that result from misuse, abuse, operation outside environmental specifications or contrary to the requirements or precautions in the Operating Guide, accident, vermin, fire, flood, improper installation, acts of God, unauthorized modification or alteration, incorrect electrical current or voltage, or commercial use, or use for other than intended purpose.
To Prove Warranty Coverage Retain your Sales Receipt to prove date of purchase.
A copy of your Sales Receipt must be submitted at the time warranty
service is provided.To Obtain Nearest Authorized
Service Center or Sales Dealer,
or to Obtain Product,Customer,
or Service AssistanceCall 1-800-243-0000 or 1-888-542-2623 (CANADA) and choose the appropriate prompt from the menu, and have your product type, model number, serial number, and ZIP Code; or visit our website at http://www.lgservice.comhttp://www.lgservice.com - Therefore, the cost of repair or replacement of such a defective product shall be borne by the consumer.



− For dryer: 8 screws



















