
IKKO Heimdallr ITBO3
Bluetooth DAC/AMP
Manual
Heimdallr ITB03 Bluetooth Headphone Amplifier
Thank you for choosing iKKO Heimdallr ITB03.
Please take a few minutes to read this information carefully before you use it.
kikoi’s first Bluetooth decoding amplifier with Bluetooth and wired connections is portable for use. Equipped with XMOS XU208 octa-core main control chip, ITB03 has Hi-res certified high reproduction sound quality and PCM 384KHZ hard decoding.
One-button to operate multi-function menus in OLED screen. There are four digital filter adjustments to meet the needs of the audiophile to personalize sound customization, four sound modes (HIFI, Game, Movie, Music) which can be switched to meet the sound needs under different usage scenarios, and two gains that adjust the
thrust of the devices.
3.5mm headphone jack with optical and single-ended two-in-one + 4.4mm headphone jack can help to translate high-fidelity sound, bringing a purer sound.
Introduction of Product

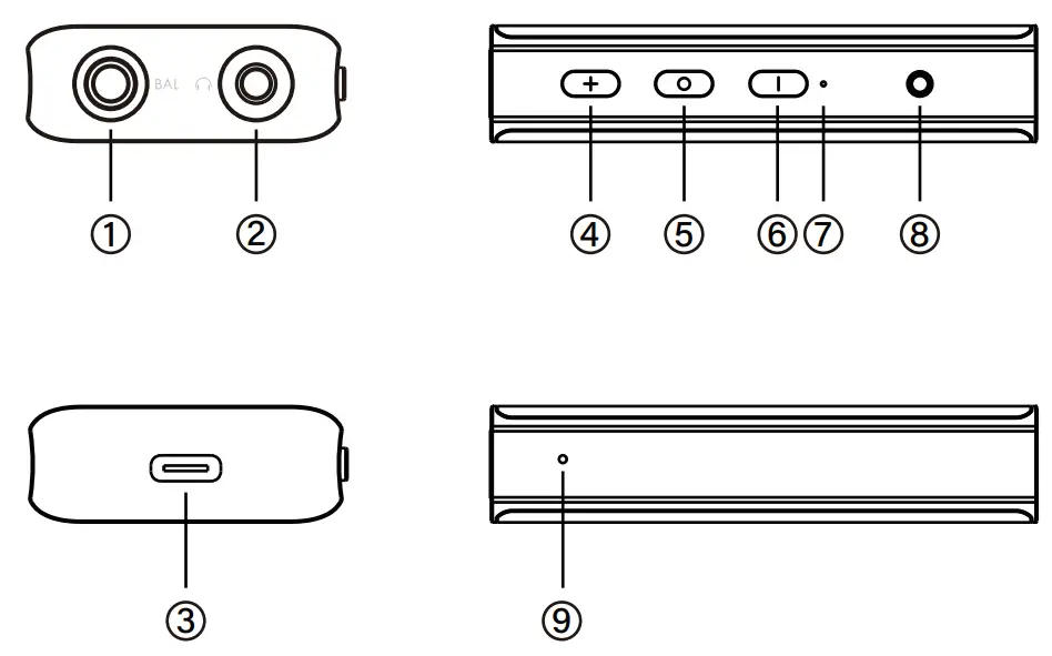
① 4.4mm Headphone Jack;② 3.5mm Headphone Jack;③ Type-C Port;④ Button+;⑤ Function key,⑥ Button-; ⑦ Reset button;⑧ Power button;⑨ Microphone hole
Connection
- Wireless Connection
①Bluetooth Pairing
After turning on the ITB03, the screen shows PAIRING, and open Bluetooth of your device to connect it. After successful connection, the screen shows Connected, and the main page shows the icon of wireless connection.
②NFC Pairing
With turning on the ITB03, the screen shows PAIRING, turn on the NFC function of your phone, and Contact the device NFC identification area. After successfully connection, the screen shows Connected, and the main page shows the icon of wireless connection.
③ Connecting your computer via kikoi USB-C to USB- A Cable, the screen shows the wired connection icon.
Function Operation
- Power On
Long press power button for 3 seconds to turn on, the screen shows the boot animation. - Power Off
Press and hold the Power button for 4 seconds to turn off in the power on state. - Menu Operation
① Entering the menu
Long press Power button for 2 seconds to enter the menu operation page.
② Menu Switching
Short press function key to switch menu page, short press button+, button- under the menu page to switch menu options.
③ Exit Menu
Inside the menu page, press and hold the Power button for 2 seconds to exit the menu operation page. - Volume adjustment
Adjust the audio volume under the main page, short press the volume key to enter the volume interface, short press button+ to increase the audio volume; short press button- to reduce the audio volume, long press the volume key to continuously switch the volume after entering the volume interface. - Music change
Switch music under the main page.
Long press button+ for two seconds to switch the previous song. Long press button- for two seconds to switch the next song. - Calling mode
(1) When a call comes in, short press the function key to answer the call, long press the function key for 2 seconds to hang up the call.
(2) When talking, short press the function key to hang up the phone.
(3) The call volume can only be adjusted in the call mode, short press the button + to increase the call volume, short press the button – to decrease the call volume.
(4) When the phone dials out, short press the function key to cancel the call. - Display goes off/lights up Short press the power button
- Wake up language assistant
In non-menu mode, double click the function key to wake up the voice assistant of phone.
Main Page Display Introduction

① Connection Method;② Battery Display; ③ Decoding Rate;④ Volume,⑤ Lyrics; ⑥ Audio Mode;⑦ Dynamic Pickup
Digital Filter
- Digital Filter
Filter 1:Steep drop: clean sound, sharpened dive, maintain detailed, higher resolution performance, suitable for complex soundtracks or fast-tempo songs.
Filter 2:Steep drop with short delay atmospheric sound, positioned backwards, accurate positioning, thick reverberation, suitable for pop music.
Filter 3:Slow descent: Sound on the mellow side, obvious overtones, rich low frequency, natural reverberation, suitable for slow beats and other types of music.
Filter 4:Slow descent with short delay Sound without impurities, positioned in front, immersive, reproduce the original sound, suitable for classical music.
- Charge Menu
ON: charging devices for wired use
OFF:No charging of devices for wired use
- CAR Mode
ON For wired use, it will automatically turn on when power is on, and automatically turn off when power off.
OFF Mode off
- Dimmer
Brightness adjustment 1~6 , 1 is the lowest brightness, 6 is the highest brightness.
- Audio Mode
Music:UAC1.0
Movie:UAC1.0 Add ambient sound
Game:UAC1.0 Driver-free mode
HiFi:UAC2.0
Note: HiFi mode is not available with Bluetooth connection
- Gain
L:Low thrust
H:High thrust
Product Specification
| Bluetooth IC | QCC5125 |
| Bluetooth Version | 5.0 |
| Display | OLED Screen |
| SNR | 118dB |
| THD | -110dB |
| Main control IC | XMOS XU208 (Octa-Core Chip) |
| DAC | AK4377*2 |
| Headphone Amplifier IC | RT6863*1 |
| Transmission Range | Straight lines1 Om |
| Battery Life | 8H |
| Battery Capacity | 650mAh |
| Charging Time | 1.5H |
| Compatibility | Android, ‘OS, Mac OS, Win10, Switch, PS5, Xbox |
Service
In the event that you require a relevant service, please contact an authorized professional or directly at kikoi Service Logistics Centre
E-mail: [email protected]
Product List
- iKKO Heimdallr ITB03
- Instruction Manual
- iKKO Type-C to USBA adapter cable*1
- iKKO Type-C to Type-C adapter cable*1
- iKKO Type-C to Lightning adapter cable*1
- Chinese warranty card*1, English warranty card*1
Disposal
At the end of its useful life, the product must not be disposed of as ordinary household waste but must be placed in an electrical and electronic equipment recycling center.
Technical specification
Technical specifications see packaging or
website:www.ikkoaudio.com
www.ikkoaudio.com
iKKO TECHNOLOGY CO.,LIMITED
ADD:Floor 14A-8,Taihua Wutong Island,
③ Connecting your computer via kikoi USB-C to USB- A Cable, the screen shows the wired connection icon.

























