
AT-PHA55BT
User Manual
Wireless Headphone Amplifier

Introduction
Thank you for purchasing this Audio-Technica product.
Before using the product, please read through the Quick Start Guide and Caution Guide, as well as this user manual when necessary, to ensure that you will use the product correctly.
Safety precautions
Although this product was designed to be used safely, failing to use it correctly may result in an accident. To ensure safety, observe all warnings and cautions while using the product.
Cautions for the product
- Do not use the product near medical equipment. Radio waves may affect cardiac pacemakers and medical electronic equipment. Do not use the product inside medical facilities.
- When using the product in aircraft, follow airline instructions.
- Do not use the product near automatic control devices such as automatic doors and fire alarms. Radio waves may affect electronic equipment and cause accidents due to malfunction.
- Do not disassemble, modify or attempt to repair the product to avoid electric shock, malfunction, or fire.
- Do not subject the product to strong impact to avoid electric shock, malfunction, or fire.
- Do not handle the product with wet hands to avoid electric shock or injury.
- Disconnect the product from a device if the product begins to malfunction, producing smoke, odor, heat, unwanted noise, or showing other signs of damage. In such a case, contact your local Audio-Technica dealer.
- Do not allow the product to get wet to avoid electric shock or malfunction.
- Do not put foreign matter such as combustible materials, metal, or liquid in the product.
- Do not cover the product with a cloth to avoid fire or injury by overheating.
- Follow applicable laws regarding mobile phone and headphone use if using headphones while driving.
- Do not use the product in places where the inability to hear ambient sound presents a serious risk (such as at railroad crossings, train stations, and construction sites).
- You may not hear the sound around you clearly while using the product with headphones. Adjust the volume to a level where you can still hear background sound and monitor the area around you while listening to music.
- When charging, make sure to use the included USB charging cable.
- Do not charge with devices that have quick-charge functionality (with a voltage of 5 V or more). Doing so may cause the product to malfunction. To prevent damage to our hearing, do not raise the volume too high. Listening to loud sounds for an extended period may cause temporary or permanent hearing loss.
- If you begin to feel unwell while using the product, discontinue use immediately.
Cautions for rechargeable battery
The product is equipped with a rechargeable battery (lithium polymer battery).
- If battery fluid gets into the eyes, do not rub them. Rinse thoroughly with clean water such as tap water and consult a doctor immediately.
- If battery fluid leaks, do not touch fluid with bare hands. If fluid remains inside the product, it may cause malfunction. If battery fluid leaks, contact your local
Audio-Technica dealer.
– If fluid gets in your mouth, gargle thoroughly with clean water such as tap water and consult a doctor immediately.
– If your skin or clothing comes in contact with fluid, immediately wash the affected skin or clothing with water. If you experience skin irritation, consult a doctor. - To avoid leakage, generation of heat, or explosion:
– Never heat, disassemble or modify the battery, nor dispose of it in a fire.
– Do not attempt to pierce with a nail, hit with a hammer, or step on the battery.
– Do not drop the product or subject it to a strong impact.
– Do not get the battery wet. - Do not use, leave or store the battery in the following places:
– Area exposed to direct sunlight or high temperatures and humidity
– Inside of a car under the blazing sun
– Near heat sources such as heat registers - Charge only with the included USB cable to avoid malfunction or fire.
- The internal rechargeable battery of this product cannot be replaced by the user. The battery may have reached the end of its service life if the usage time becomes significantly shorter even after the battery has been fully charged. If this is the case, the battery needs to be repaired. Contact your local Audio-Technica dealer for repair details.
- When the product is disposed of, the built-in rechargeable battery needs to be discarded properly. Contact your local Audio-Technica dealer to learn how to properly dispose of the battery.
For customers in the USA
FCC Notice
Warning
This device complies with Part 15 of the FCC Rules. Operation is subject to the following two conditions: (1) This device may not cause harmful interference, and (2) this device must accept any interference received, including interference that may cause undesired operation.
Caution
You are cautioned that any changes or modifications not expressly approved in this manual could void your authority to operate this equipment.
Note:
This equipment has been tested and found to comply with the limits for a Class B digital device, pursuant to part 15 of the FCC Rules. These limits are designed to provide
reasonable protection against harmful interference in a residential installation. This equipment generates, uses, and can radiate radio frequency energy and, if not installed and used in accordance with the instructions, may cause harmful interference to radio communications. However, there is no guarantee that interference will not occur in a particular installation. If this equipment does cause harmful interference to radio or television reception, which can be determined by turning the equipment off and on, the user is encouraged to try to correct the interference by one or more of the following measures:
– Reorient or relocate the receiving antenna.
– Increase the separation between the equipment and receiver.
– Connect the equipment to an outlet on a circuit different from that to which the receiver is connected.
– Consult the dealer or an experienced radio/TV technician for help.
RF Exposure Statement
This transmitter must not be co-located or operated in conjunction with any other antenna or transmitter used in other systems. This device complies with FCC radiation exposure limits set forth for an uncontrolled environment and meets the FCC radio frequency (RF) Exposure Guidelines. This equipment has very low levels of RF energy that is deemed to comply without testing of specific absorption rate (SAR).
For customers in Canada
IC statement
CAN ICES-3 (B)/NMB-3(B)
This device complies with INDUSTRY CANADA R.S.S. 247. Operation is subject to the following conditions: (1) This device may not cause harmful interference, and (2) this device must accept any interference received, including interference which may cause undesired operation. Under Industry Canada regulations, this radio transmitter may only operate using an antenna of a type and maximum (or lesser) gain approved for the transmitter by Industry Canada. To reduce potential radio interference to other users, the antenna type and its gain should be so chosen that the equivalent isotropically radiated power (e.i.r.p.) is not more than that necessary for successful communication. This device complies with RSS-102 radiation exposure limits set forth for an uncontrolled environment.
Notes on use
- Be sure to read the connected device’s user manual before use.
- Audio-Technica will not be liable in any way for any loss of data in the unlikely event that such losses should occur while using the product.
- On public transportation or in other public places, keep the volume low so as not to disturb other people.
- Minimize the volume on your device before connecting the product.
- Do not subject the product to a strong impact.
- Do not store the product in direct sunlight, near heating devices, or in hot, humid, or dusty places. Additionally, do not allow the product to get wet.
- When the product is used for a long time, the product may become discolored due to ultraviolet light (especially direct sunlight) and wear.
- Make sure to hold the plug when connecting and disconnecting the headphones or USB charging cable. The headphones or USB charging cable may become severed or an accident may occur if you pull on the cable itself.
- When you are not using the headphones or USB charging cable, disconnect it from the product.
- If the product is placed in a bag while the USB charging cable is still connected, the USB charging cable may become caught, severed, or broken.
- This product can be used to talk on the phone only when using a mobile telephone network. Support for telephony apps that use a mobile data network is not guaranteed.
- If you use the product near an electronic device or transmitter (such as a mobile phone), unwanted noise may be heard. In this case, move the product away from the electronic device or transmitter.
- If you use the product near a TV or radio antenna, noise may be seen or heard in the television or radio signal. In this case, move the product away from the TV or radio antenna.
- To protect the built-in rechargeable battery, charge it at least once every 6 months. If too much time passes between charges, the life of the rechargeable battery may be reduced, or the rechargeable battery may no longer be able to be charged.
- When charging the product, keep it away from direct sunlight and charge in a well-ventilated place. The battery may deteriorate and shorten the continuous usage time, or the battery may no longer be able to be charged.
For a more comfortable Bluetooth® communication experience

The effective communication range of this product varies depending on obstructions and radio wave conditions. For a more enjoyable experience, please use the product as close as possible to the Bluetooth device. To minimize noise and sound disruptions, avoid placing your body or other obstacles between the product’s antenna and the Bluetooth device.
Part names and functions

Charging the battery
- Fully charge the battery when using it for the first time.
- When the rechargeable battery is running low, you will hear a beep from the connected headphones, and an indicator lamp will flash in red.
When you hear this beep, charge the battery. - It takes about 3 hours to charge the battery fully. (This time may vary depending on usage conditions.)
- While the battery is charging, the product’s Bluetooth connection remains disabled and therefore the product cannot be used.
1. Connect the included USB charging cable (micro USB Type B side) to the battery jack. - The included USB charging cable is designed for exclusive use with the product. Do not use other cables to charge the product.
- When inserting the USB charging cable into the USB port or battery jack, check that the jack is facing in the correct direction before inserting it directly (horizontally).

2. Connect the included USB charging cable (USB Type-A side) to the computer to start charging.
- While the product is charging, three indicator lamps light up as shown in the following table. The indicator lamps show the battery level.

3. When charging is complete, disconnect the USB charging cable (USB Type A side) from the computer.
4. Disconnect the USB charging cable (Micro USB Type B side) from the battery jack.
Connecting via Bluetooth wireless technology
About pairing
To connect the product to a Bluetooth device, the product needs to pair (register) with the device. Once they are paired, you do not need to pair them again.
However, you need to pair again in the following cases:
• If the product is deleted from the Bluetooth device’s connection history.
• If the product is sent out for repair.
• If you try to pair nine devices or more. (This product can save pairing information on up to eight devices total. If you pair a new device after you have already paired eight devices, the pairing information of the device that was connected first among the eight devices will be overwritten by the new device’s information.)
Pairing a Bluetooth device
- Read the user manual for the Bluetooth device.
- Place the device within 1 m (3.3′) of the product to perform pairing correctly.
- To confirm the progress of the pairing process by listening to the confirmation tone, wear headphones connected to the product.
1. Starting with the product turned off, slide the power switch to the “ON” position.
- For details on the indicator lamp display during pairing (searching for device), see “Indicator lamp display” (p. 13).
2. Use your Bluetooth device to begin the pairing process and search for the product. When your Bluetooth device finds the product, “AT-PHA55BT” will be displayed on the device.
- For information about using your Bluetooth device, refer to the device’s user manual.
3. Select “AT-PHA55BT” to pair the product and your Bluetooth device.
- Some devices may ask for a passkey. In this case, enter “0000”. The passkey may also be called a passcode, PIN code, PIN number, or password.
- The product sounds a confirmation tone when the pairing is complete.
Using the product
The product can use Bluetooth wireless technology to connect to your device and play music, receive phone calls, etc. Use the product for whichever of these purposes suits your needs.
Note that Audio-Technica cannot guarantee the operation of displays, such as the battery level display, or applications via Bluetooth devices.
Power supply ON/OFF
Moving the power switch to either MODE A or MODE B will turn the power ON. Select MODE A or MODE B according to the type of driver in your headphones — dynamic or balanced armature.
• MODE A: Dynamic type
This mode brings out rich bass frequencies with definition when using dynamic driver headphones.
• MODE B: Balanced armature type
This mode brings out pure and natural sound when using balanced armature driver headphones.
The battery level appears as soon as the power turns ON.

* If you are wearing headphones, you will hear a sound letting you know that the power is turning ON and OFF.
• There is a difference in volume levels between MODE A and MODE B. Before switching modes, make sure to stop the audio playback and set the volume to the lowest.
Using the product
Wearing the product
• Connect headphones (sold separately) to the connector jack.

• The included clip can be attached as shown in the figure. The included clip as shown in the figure. You can hook it onto your chest pocket, etc.

Listening to audio
• To connect for the first time, pair the product and your device by Bluetooth wireless technology. If you have already paired the product and your Bluetooth device, turn on the Bluetooth device’s Bluetooth connection and turn on the product.
• Use your Bluetooth device to start playback, referring to the device’s user manual as necessary.
| Press | Plays or pauses music and video.*1 |
| Press twice | Shows the battery level. The indicator lamp display is the same one that appears when turning the power switch ON. (p. 13) |
| Press and hold (for about 2 seconds) | The voice recognition function (such as Siri on iOS) starts up for some of the devices. |

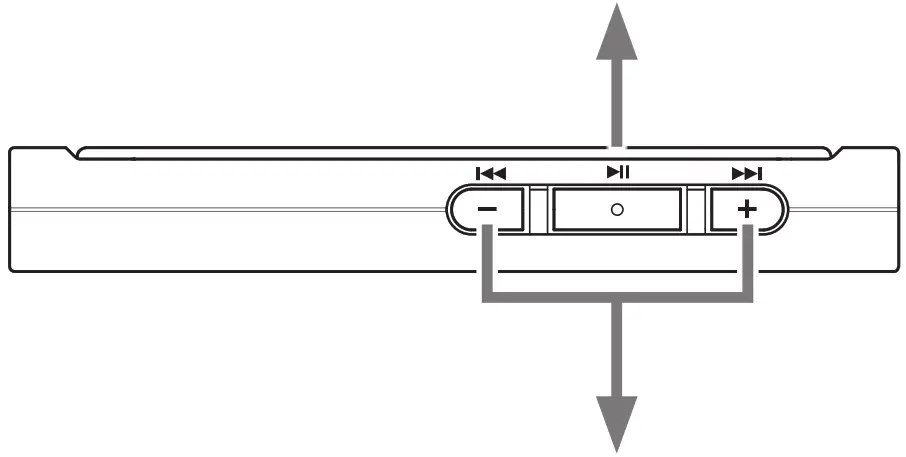
| + button | Press | Increases the volume by 1 level. * |
| Press and hold (for about 1 second) | Plays the next track. * | |
| – button | Press | Decreases the volume by 1 level. * |
| Press and hold (for about 1 second) | Plays the previous track. * |
*1 Some controls may not be available for music and video playback on some smartphones.
*2 The volume is available in 32 levels. You will hear a confirmation sound every time you press the volume button. You will hear a low beep when the volume is at the maximum or minimum level.
• The volume control of some devices may not work well with the product.
Using the product
Supported codecs
This product supports LDAC/Qualcomm® aptX™audio (aptX, hereinafter)/AAC/SBC codecs. During the pairing process, one of the LDAC/aptX/AAC/SBC codecs will be automatically selected according to the settings of the Bluetooth device. The indicator lamps show the selected codec.

Talking on the phone
• If your Bluetooth device supports telephone features, you can use the product to talk on the phone.
• When your Bluetooth device receives a phone call, the product’s ringtone sounds.
• If a call is received while you are listening to music, music playback is paused. When you finish the call, music playback resumes.*
| When | Operation | Function |
| Receiving a call | Press the control button. | Answers the call. |
| Press and hold the control button (for about 2 seconds). | Rejects the call. | |
| Talking on the phone | Press the control button once. | Ends the call. |
| Press and hold the control button (for about 2 seconds). | Each time you press and hold the button (about 2 seconds), you will switch the call between your mobile phone and the product. | |
| Press a volume button (+ or -). | Adjusts the volume (+ or -) of the call. |
* Depending on your Bluetooth device, music playback will not resume.
• These phone call controls may not be available on some smartphones.
Using the product
Hold function
When you press and hold the control button and the volume button (+) simultaneously for about 2 seconds while using the product, it will disable the buttons and prevent unintended operation.
• To deactivate this function, press and hold the control button and the volume button (+) again for about 2 seconds.
• You can still use telephone features, such as receiving and rejecting a call, while the hold function is enabled.
• You can also turn the power OFF with the hold function enabled. If you turn the power OFF or charge the battery, the hold function will be disabled.

Auto power-off function
The product automatically turns OFF after 5 minutes of not being connected to a device or not being connected to headphones while the power is turned ON.
Reset function
If the product does not work or other malfunctions occur, refer to “Charging the battery” (p. 5) for information on inserting the USB charging cable to provide power and then do a reset. Disconnecting and then reconnecting the USB charging cable will reset the product and should resolve any problem you are experiencing. If the problem persists, please contact your local Audio-Technica dealer. Pressing the reset button does not change any of your settings (pairing information, volume setting, etc.). *
*The SBC priority connection (p. 12) is disconnected.

Cleaning
Get into the habit of regularly cleaning the product to ensure that it lasts for a long time. Do not use alcohol, paint thinners, or other solvents for cleaning purposes.
• Wipe the product, clip, and USB charging cable/plug with a dry cloth if dirty.
• If the product will not be used for an extended period of time, store it in a well-ventilated place free from high temperatures and humidity.
Troubleshooting
| Problem | Solution |
| Power is not supplied. | • Charge the product. |
| Unable to pair. | • Confirm that the Bluetooth device communicates using Ver. 2.1+EDR or higher. • Place the product and the Bluetooth device within 1 m (3.3′) of each other. • Set the profiles for the Bluetooth device. For procedures on how to set profiles, refer to the Bluetooth device’s user manual. • Remove the pairing information for the Bluetooth device then pair the product with this device again. |
| No sound is heard / Sound is faint. | • Turn on the power of the product and the Bluetooth device. • Turn up the volume of the product and the Bluetooth device. • If the Bluetooth device is set to the HFP/HSP connection, switch to the A2DP connection. • Place the product and the Bluetooth device close together and keep such obstacles as people, metal, and walls from coming between the two. • Switch the output of the Bluetooth device to the Bluetooth connection. |
| Sound is distorted / Noise is heard / Sound cuts out. | • Turn down the volume of the product and the Bluetooth device. • Keep this product away from devices that emit radio waves such as microwaves and wireless routers. • Keep TVs, radios, and devices with built-in tuners away from the product. These devices can also be affected by the product. • Turn off the equalizer settings of the Bluetooth device. • Remove obstacles between the product and the Bluetooth device and place them closer together. • When using aptX for connection, turn off the aptX codec in the Bluetooth device settings and try again. • When using LDAC for connection, set the Bluetooth device settings to Connection priority mode and try again. |
| Cannot hear the voice of the caller / Voice of the caller is too quiet. | • Turn on the power of the product and the Bluetooth device. • Turn up the volume of the product and the Bluetooth device. • If the Bluetooth device is set to the A2DP connection, switch to the HFP/HSP connection. • Switch the output of the Bluetooth device to the Bluetooth connection. |
| The product cannot be charged. | • Securely connect the included USB charging cable and charge the product. |
| Sound is delayed (video and audio are out of sync). | • When using AAC for connection, refer to “SBC priority connections (for when sound is delayed significantly)” (p. 12) and change the connection codec to SBC. |
• For details about how to operate your Bluetooth device, refer to the device’s user manual.
• If the problem still remains, reset the product. To reset the product, refer to “Reset function” (p. 10) in “Using the product”.
Troubleshooting
SBC priority connections (for when sound is delayed significantly)
When the connection codec is AAC, significant sound delays can be alleviated by changing the connection codec to SBC, which comes standard with Bluetooth devices. *¹
Connecting to a SBC priority connection
When the pairing with a Bluetooth device has been completed
1. Turn the power ON while holding down the volume (-) button.
• After the settings are complete, this product will automatically be connected to the Bluetooth device for which pairing was completed. *²
Before pairing with a Bluetooth device
- Turn the power ON while holding down the volume (-) button.
• The indicator shows pairing in progress (searching for device). - Refer to Step 2 and 3 in “Pairing a Bluetooth device” (p. 6) and start pairing your device.
• After pairing via an SBC priority connection is complete, the only available connection codec will be SBC.
Connections using other codecs will not be possible. *
• For details on the flashing and lit displays of the indicator lamps, refer to “Indicator lamp display” (p. 13).
*1 Depending on the usage environment, changing to an SBC priority connection may not alleviate sound delays.
*2 If a connection is not made automatically, refer to “Pairing a Bluetooth device” (p. 6) and perform pairing operations again.
*3 If you turn the power OFF and turn it back ON after 10 seconds, the normal connection will be restored, allowing you to use the other codecs for connection.
Please connect using an SBC priority connection when necessary.
Indicator lamp display
The indicator lamps of the product show the product’s status as explained below. For details on the indicator display of the battery (charging) status when a USB charging cable is connected, see “Charging the battery” (p. 5). For details on the indicator display for each supported codec, see “Supported codecs” in “Listening to audio” (p. 9).

Specifications
| Microphone | Electret condenser |
| Type | Omnidirectional |
| Polar pattern | -36 dB (1 V/Pa, at 1 kHz) |
| Sensitivity | 50 to 8,000 Hz |
| Frequency response | Bluetooth version 4.2 |
| Communication specifications | |
| Communication system | 3 mW EIRP |
| RF output | Line of sight – approx. 10 m (33′) |
| Maximum communication range | 2.402 GHz to 2.480 GHz |
| Frequency band | FHSS |
| Modulation method | A2DP, AVRCP, HFP, HSP |
| Compatible Bluetooth profiles | LDAC, Qualcomm® aptX™ audio, AAC, SBC |
| Support codec | SCMS-T |
| Supported content protection method Transmission band | 20 to 40,000 Hz |
| Supported sampling frequencies | 44.1 kHz, 48 kHz, 88.2 kHz*¹, 96 kHz*¹ |
| Supported number of bits | 16 bit, 24 bit*¹ |
| Other | |
| Maximum output level | 50 mW + 50 mW (at 16 ohms / T.H.D10%) 25 mW + 25 mW (at 32 ohms / T.H.D10%) 2.5 mW + 2.5 mW (at 300 ohms / T.H.D10%) |
| Output terminal | 3.5 mm stereo mini-jack |
| Power supply | DC 3.7 V lithium-polymer battery |
| Charging time | Approx. 3 hours*² |
| Operating time | Continuous transmission time (music playback): Max. approx. 8 hours*² Continuous standby time: Max. approx. 100 hours*² |
| Dimensions (excluding the protrusion) | 79 mm (3.11″) x 32 mm (1.26″) x 11 mm (0.43″) (H x W x D) |
| Weight | Approx. 28 g (0.98 oz) |
| Operating temperature | 5 °C to 40 °C (41 °F to 104 °F) |
| Accessories | • Charging cable (30 cm (12″)) • Clip |
*1 When connected via LDAC.
*2 The time may vary depending on usage conditions.
For product improvement, the product is subject to modification without notice.
- The Bluetooth® word mark and logos are owned by Bluetooth SIG, Inc. and any use of such marks by Audio-Technica Corporation is under license. All other trademarks are property of their respective owners.
The “AAC” logo is a trademark of Dolby Laboratories. - Qualcomm is a trademark of Qualcomm Incorporated, registered in the United States and other countries. All such trademarks are used with permission.
- aptX is a trademark of Qualcomm Technologies International, Ltd., registered in the United States and other countries. All such trademarks are used with permission.
- LDAC™ and LDAC logos are trademarks of Sony Corporation.

Audio-Technica Corporation
2-46-1 Nishi-Naruse, Machida, Tokyo 194-8666, Japan
www.audio-technica.co.jp
©2017 Audio-Technica Corporation

Using the product


















