
item #1005 967 607
model #Fdm-19F02
Use and Care GUide
spray Foam dispensinG GUn
Questions, problems, missing parts? Before returning to the store, call Anvil Customer Service
8 a.m. – 7 p.m., EST, Monday – Friday, 9 a.m. – 6 p.m., EST, Saturday 1-877-527-0313
HOMEDEPOT.COM
THANK YOU
We appreciate the trust and confidence you have placed in Anvil through the purchase of this spray foam dispensing gun. We strive to continually create quality products designed to enhance your home. Visit us online to see our full line of products available for your home improvement needs. Thank you for choosing Anvil!
safety information
Read the label and Material Safety Data Sheet carefully before use.
- The foam dispensing gun products contain isocyanate and a flammable blowing agent. Vapor may travel to other rooms. Ensure adequate ventilation. Shut off all pilot lights and extinguish open flames; eliminate all sources of ignition before use. Do not smoke or use lighters or matches while dispensing foam.
- Do not breathe vapor or mist. Use in well-ventilated areas or wear proper respiratory protection. Isocyanate is irritating to the eyes, skin and respiratory system, and may cause sensitization by inhalation or skin contact.
DANGER: Many foam products contain highly inflammable chemicals. Do not use in the proximity of any open flames, cigarettes or any other potential cause of combustion.
WARNING: Never point the gun at humans or animals and do not discharge unless in use.
CAUTION: Keep the gun out of the reach of children.
IMPORTANT: Always wear approved safety clothing and personal protection equipment: gloves, goggles for eye protection, a mask with the appropriate activated carbon filters when working with the foam gun.
NOTE: Always read the foam manufacturer’s instructions when handling and using their product in conjunction with this gun.
pre-installation
PLANNING INSTALLATION
This gun has been designed for use with polyurethane foams and should not be used for any other application. This gun is used for various repair and building works, such as door and window replacement, joining various frame constructions, silencing, and sealing gaps in walls.
NOTE: only use the gun inadequately ventilated rooms with the correct respiratory protection equipment.
PACKAGE CONTENTS

| part | description | Quantity |
| A | Spray Foam Dispensing Gun | 1 |
| B | Tip | 1 |
Installation
Loading a can of product
- Shake can vigorously for 30 seconds prior to installing canon to foam gun.
- Make sure the can housing is perfectly clean and apply some vaseline or light grease to the inside of the can housing area. This helps prevent foam from curing to the can housing and gluing the can onto the gun.
- To load a can of Insulating Foam Sealant or Adhesive to an afoam dispensing gun, make sure that the threads on the can align with the threads on the gun. Cross threading the canto gun can cause the foam to dispense under the valve. Screw the can onto the gun firmly, but do not overtighten.
DANGER: Shut off all pilot lights and extinguish open flames; eliminate all sources of ignition before use. Do not smoke or use lighters or matches while dispensing foam.
CAUTION: The sealant and adhesive products are very sticky and will adhere to most surfaces and skin. Do not get foam on the skin. Wear gloves, and goggles or safety glasses. Cured foam must be mechanically removed or allowed to wear off in time.

2 Control Bead Size With Flow Control Knob
- Use the flow control knob on the back of the gun to vary bead size. Unscrewing the knob enables additional “play” in the trigger. Bead size can be controlled.

Operation
1.Trigger Control
- The foam dispensing gun trigger can be metered so the harder it is pulled, the faster the foam will be dispensed. To apply foam to smaller gaps, pull on the triggerless. Close the flow control knob when not in use to prevent premature discharge.
NOTE: Release the trigger and tighten the flow control knob to lock the needle in the closed position to prevent accidental discharge when the gun is not in use.

2. Changing a Can of Foam
- After emptying a can of Insulating Foam Sealant or Adhesive, tighten the flow control knob to close it, then remove the empty can by unscrewing it from the can housing.
- Clean the can housing with a professional Gun Cleaner and immediately load a new can. Foam dispensing guns include a ball valve in the can housing to prevent foam from coming out of the top. Uncured foam on other surfaces can be removed with Gun Cleaner.
CAUTION: Leaving an empty can on a foam dispensing gun will allow the foam to cure inside the gun. Always remove empty cans and clean the gun when finished.

Maintenance
- If the gun is not to be reloaded it must be cleaned as soon as possible after the cartridge has been removed to avoid hardening of the foam inside the gun.
Care and Cleaning
- Always ensure all foam is released from the gun before cleaning.
- To clean the foam dispensing gun, unscrew the can of the Insulating Foam Sealant or Adhesive and attach a can of professional Cleaner, making sure the threads are straight. Pull the trigger and dispense contents into a covered container lined with a disposable bag, e.g., a trash can with a lid, and dispose per local, state/provincial and federal regulations. Dispense cleaner until there are no signs of residual foam. This usually requires about half a can of Gun Cleaner. When detaching the cleaner, continue to pull trigger while unscrewing the cleaner from the gun to help prevent spray back.
- Leave the solvent in the gun for 2 minutes. Release the solvent by pressing the trigger and repeat this process until the solvent runs clear and shows no trace of foam. Unscrew the flow control knob and remove the long nozzle, and clean the long nozzle with nonabrasive cleaning solvent.
NOTE: hardened foam will damage the needle. Remove the front nozzle with a set screw wrench and check the nozzle for hardened foam. Clean as necessary with an appropriate solvent. - Make sure the foam dispensing gun is thoroughly cleaned. If not, foam residue may build up and cause foam to stick inside the gun.

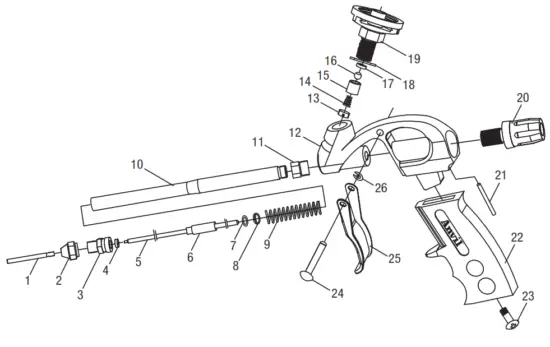
service parts
| Part | Description | Quantity |
| 1 | Long nozzle | 1 |
| 2 | Nut | 1 |
| 3 | Nozzle | 1 |
| 4 | Seal ring | 1 |
| 5 | Needle | 1 |
| 6 | Connecting sleeve | 1 |
| 7 | Gasket | 3 |
| 8 | 0-ring | 1 |
| 9 | Spring | 1 |
| 10 | Gun barrel | 1 |
| 11 | Connecting nut | 1 |
| 12 | Gun body | 1 |
| 13 | Screw | 1 |
| Part | Description | Quantity |
| 14 | Spring | 1 |
| 15 | Plastic bushing | 1 |
| 16 | Plastic bead | 1 |
| 17 | Seal ring | 1 |
| 18 | Paper gasket | 1 |
| 19 | Can housing | 1 |
| 20 | Flow control knob | 1 |
| 21 | Pin | 1 |
| 22 | Handle | 1 |
| 23 | Screw | 1 |
| 24 | Rivet | 1 |
| 25 | Trigger | 1 |
| 26 | Circlip | 1 |
Questions, problems, missing parts? Before returning to the store, call Anvil Customer Service
8 a.m. – 7 p.m., EST, Monday – Friday, 9 a.m. – 6 p.m., EST, Saturday
1-877-527-0313
HOMEDEPOT.COM
Retain this manual for future use.
Please contact 1-877-527-0313 for further assistance.



















