KICHLER 82386 Chatwin 4-Light Pendant

Product Information
Chatwin 4-Light Pendant
The Chatwin 4-Light Pendant is a stylish lighting fixture that comes with a canopy, mounting bracket, threaded nipple, hex nuts, sockets, chain, and other hardware. The product is available in two models: 82386 and 82387. The package includes all the necessary hardware and instructions for easy installation. The product is ETL-listed and C.S.A. certified, ensuring its safety and quality.
Product Usage Instructions
- Before starting the assembly, ensure that all the parts are present as per the package contents and hardware contents list.
- Read and understand the entire manual before attempting to assemble, operate or install the product.
- Make sure to use the tools required for assembly, including a Phillips screwdriver, flathead screwdriver, wire strippers, electrical tape, ladder, safety glasses, and pliers (2).
- Estimated assembly time is between 30 minutes to 1 hour.
- Follow the step-by-step assembly instructions carefully.
- Do not use any worn out or broken parts as it could invalidate ETL listing and/or C.S.A. certification of the fixture.
- To open chain links, locate the split in the chain link (J) which will need to be opened and removed. Put one pair of pliers (not included) on each side of the split and rotate the pliers in opposite directions to open the link’s split. Do not twist the ends of the link sideways so that the open link cannot lay flat.
- Weave the fixture electrical and ground wires through every other chain link and pass through threaded nipple (C) into outlet box. Lower the screw collar ring (H) and canopy (A) over the chain (J).
- If you have any questions, problems, or missing parts, call our customer service department at 800-554-6504, 8 a.m. – 4:30 p.m, EST, Monday – Friday. You can also visit kichler.com/customer-care/contact-us for more information.
PACKAGE CONTENTS

| PART DESCRIPTION | QTY | |
| A | Canopy | 1 |
| B | Mounting Bracket | 1 |
| C | Threaded Nipple | 1 |
| D | Hex Nut | 3 |
| E | Socket | 4 |
| F | Threaded Pipe with Loop | 1 |
| G | Coupling | 1 |
| H | Screw Collar Ring | 1 |
| I | Screw Collar Loop | 1 |
| J | Chain | 1 |
| K | Stem Coupling | 1 |
| L | Check Ring | 1 |
HARDWARE CONTENTS

SAFETY INFORMATION
- Please read and understand this entire manual before attempting to assemble, operate or install the product.
WARNING
CAUTION: RISK OF SHOCK
- Disconnect Power at the main circuit breaker panel or main fusebox before starting and during the installation.
WARNING: This fixture is intended for installation in accordance with the National Electrical Code (NEC) and all local code specifications. If you are not familiar with code requirements, installation by a certified electrician is recommended.
- Do not use bulbs with wattage greater than specified on this fixture.
- California Proposition 65
WARNING: This product can expose you to chemicals including lead, which is known to the State of California to cause cancer, birth defects, or other reproductive harm.
For more information, go to http://www.P65Warnings.ca.gov
CAUTION
- If you have any doubts about how to install this lighting fixture, or if the fixture fails to operate completely, please contact a licensed electrical contractor.
- All parts must be used as indicated in these instructions. Do not substitute any parts, leave parts out, or use any parts that are worn out or broken. Failure to obey this instruction could invalidate ETL listing and/or C.S.A. certification of this fixture.
PREPARATION
Before beginning assembly of product, make sure all parts are present. Compare parts with package contents list and hardware contents list. If any part is missing or damaged, do not attempt to assemble the product.

- Estimated assembly time: 30 minutes to 1 hour
- Tools Required for Assembly (not included): Phillips screwdriver, flathead screwdriver, wire strippers, electrical tape, ladder, safety glasses, pliers (2).
ASSEMBLY INSTRUCTIONS

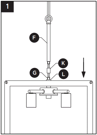
- Slip check ring (L) over coupling (G). Screw stem coupling (K) onto coupling (G), and threaded pipe with loop (F) into stem coupling (K).
- NOTE: The electrical cable will need to be pulled through the individual parts as they are installed on this and later steps.
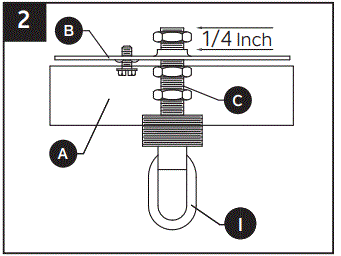
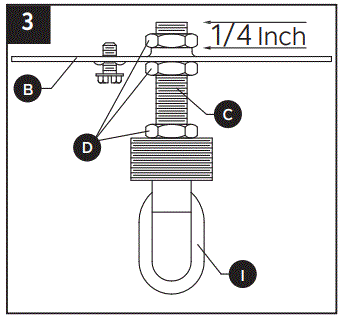
- Position threaded nipple (C) in mounting bracket (B) so that, when mounted:

- The threaded nipple (C) will protrude a minimum of 1/4 inch beyond the raised center portion of the bracket (B).
- The threaded nipple (C) height should be positioned so that 1/2 the exterior threads of the screw collar loop (I) will extend past the canopy (A), when it is mounted.
- NOTE: Canopy (A) is only needed to determine the position of the threaded nipple and fixture loop. It will be installed later.
- Once the proper position of the threaded nipple (C) and mounting bracket (B) has been determined, secure with hex nuts (D) as follows:

- Screw one hex nut (D) onto the threaded nipple (C) and tighten against the raised portion of the mounting bracket (B).
- Screw another hex nut (D) onto the threaded nipple (C) and tighten against the flat portion of the mounting bracket (B).
- Screw the remaining hex nut (D) onto threaded nipple (C) and tighten against the screw collar loop (I).

- Connect mounting bracket (B) to the outlet box (not included) with short machine screws (BB).
- Hardware Used

- Hardware Used
- To open chain links:

- Locate the split in the chain link (J) which will need to be opened and removed. Put one pair of pliers (not included) on each side of the split and rotate the pliers in opposite directions to open the link’s split. The open link should be shaped like the letter “C”.
- Do not twist the ends of the link sideways so that the open link cannot lay flat.

- Thread chain (J) through screw collar ring (H) and canopy (A). Using the open chain links on chain (J), attach one end to screw collar loop (I) and the other end to threaded pipe with loop (F). Weave the fixture electrical and ground wires through every other chain link and pass through threaded nipple (C) into outlet box. Lower the screw collar ring (H) and canopy (A) over the chain (J).
- NOTE: Add or remove chain links once desired length is established. Trim extra cabling leaving six inches of extra wire protruding from the screw collar loop and threaded nipple.
- CAUTION: To avoid damage from falling, make sure the open chain links are fully closed once assembled.
- Wire connection guide:

- Ground wire:
- For installation in the United States: Wrap ground wire from outlet box around ground screw on mounting bracket (B) no less than 2 in. from wire end. Tighten ground screw. If fixture is supplied with a ground wire, connect to outlet ground wire with a wire connector (AA).
- For installation in Canada: If fixture is supplied with ground wire, wrap ground wire around ground screw on mounting bracket (B). Tighten ground screw. Connect fixture ground wire to outlet ground wire with a wire connector (AA).
- Supply wires:
- Connect the Neutral (White) supply wire from the outlet box to the Neutral fixture wire (White or Parallel Cord “D” shaped and ribbed).
- Connect the Hot (Black) supply wire from the outlet box to the Hot fixture wire (Black or Parallel Cord round and smooth).
- NOTE: Fixture wires will either be:
- Black and White.
- Parallel Cord SPT-1 lamp wire with one round smooth wire and one “D” shaped ribbed wire.
- Hardware Used

- Ground wire:
- Pass canopy (A) over the screw collar loop (I). Attach screw collar ring (H) to screw collar loop (I) to secure canopy (A).

- Insert 60-watt max. medium-base bulb or LED equivalent (none included) into socket (E).

- Repeat for remaining sockets (E).
CARE AND MAINTENANCE
- Always be certain that electric current is turned off before cleaning this item.
- Use a soft, moist cloth with mild non-abrasive soap to clean fixture. Never use glass cleaner on fixture, as it will damage the metal finish.
TROUBLESHOOTING
| PROBLEM | POSSIBLE CAUSE | CORRECTIVE ACTION |
| Fixture does not light. | Fixture may be wired incorrectly. Worn or broken bulb. | Check wiring. Replace bulb. |
More Information
ATTACH YOUR RECEIPT HERE
Serial Number: …………………
Purchase Date: …………………
Questions, problems, missing parts?
- Before returning to your retailer, call our customer service department at 800-554-6504, 8 a.m. – 4:30 p.m, EST, Monday – Friday.
- kichler.com/customer-care/contact-us
Distributed by
- Kichler Lighting LLC
- 30455 Solon Rd Solon, OH 44139
- Printed in China






















