
VIDA 2 – CXTV-N1000EU – DEHUMIDIFIER SET
dehumidiFier VIDA 2

OPERATING INSTRUCTIONS
SAFETY GENERAL
- This appliance should be used as described within the instructions for use that accompany it.
- For indoor, domestic use only.
- This appliance can be used by children aged 8 years and above, and persons with reduced physical, sensory or mental capabilities or lack of experience and knowledge, if they have been given supervision or instruction concerning the use of the appliance in a safe way, and understand the hazards involved.
- Keep the appliance out of reach of small children. Children should not play with the appliance or its accessories. Cleaning and user maintenance operations should not be performed by children unless they are older than 8 years, and under supervision.
- This appliance contains small parts which may cause choking.
- Children of less than 3 years should be kept away unless continuously supervised.
- CAUTION- The plastic bags and packaging used to wrap this appliance may be dangerous. To avoid risk of suffocation, keep these bags out of reach of babies and children. These bags are not toys.
- Ensure that all packaging materials and any promotional labels or stickers are removed from the appliance before the first use.
- Important warning about drilling into walls! Before drilling, ensure there are no gas, water or electrical lines in the area where you will be drilling. Must be installed by a competent person. It is essential that you take note of the wall quality, as the included fittings are not suitable for all types of wall. Ask the retailer about screws and wall plugs suitable for the respective wall structure. The manufacturer assumes no liability for plugs installed incorrectly in the wall and any resulting damage.
SAFETY OPERATION
- Always inspect the appliance and AC-DC power adapter before use for noticeable signs of damage. Do not use if they are damaged or have been dropped. In the event of damage, or if the appliance develops a fault, contact a qualified electrician.
- Make sure your electricity supply matches the voltage shown on the power adapter label.
- Only use the original AC-DC power adapter that came with the device. Do not use this appliance if the adapter is damaged.
- Unplug the AC-DC power adapter from the mains when not in use and before cleaning. To unplug, pull the adapter from the mains socket.
- Always place the appliance in an upright position on a dry and level surface.
- To protect against fire, electric shock or personal injury, do not immerse cord, adapter or device in water or other liquids.
- Always ensure that your hands are dry before removing the AC-DC power adapter from the mains socket. Never pull the adapter out of the mains socket by its lead.
- To avoid injury or possible fire, do not cover the appliance when in use.
- Do not connect this appliance to an external timer or remote-control system.
- An extension cable may be used with caution. The electrical rating of the cable should be at least as high as that of the AC-DC power adapter. Do not allow the cable to hang over the edge of the worktop, or touch any hot surfaces.
- Place the device away from other objects in an open space with good airflow, to allow sufficient ventilation. Make sure that no objects block the air vents.
TECHNICAL SPECIFICATIONS CXTV-N1000EU

AC-DC ADAPTER – RATED INPUT …………………………………………………… AC 100240V, 50/60Hz
AC-DC ADAPTER – RATED OUTPUT ………………………………………………………………………DC 9V, 2A
APPLIANCE POWER CONSUMPTION ……………………………………………………………………………18 W
MAX. ABSORPTION / DAY (32°C, RH 90%, TURBO MODE)………………………………………..250cc
MAX. RECOMMENDED APPLICATION AREA……………………………………………………………… 30m2
TANK VOLUME ………………………………………………………………………………………………………….. 1000ml
OPERATING TEMPERATURE ………………………………………………………………………………>0°C~<45°C
DEVICE SIZE …………………………………………………………………………………………… 180 x 225 x 108 mm
DEVICE SIZE WITH WALL MOUNT ………………………………………………………… 180 x 275 x 110 mm
BOX CONTENT

| 1. Dehumidifier 2. Wall mount (VSB-1S) 3. Drainage tube | 4. Power adapter 5. Wall plugs and screws 6. Operating instructions |
TOOLS NEEDED
For wall mount installation only.

INTENDED USE
Your new Pingi Vida 2 Dehumidifier set (CXTV-N1000EU) is suitable for dehumidifying enclosed indoor spaces. The appliance is powered by the 9V AC-DC adapter that is supplied with the device. The power adapter operates on 100-240V, 50/60Hz (mains electricity). Never try to connect the device or power adapter to other power sources. Please always follow the safety instructions in this manual. Keep this instruction manual in a safe place, so that it is available at all times. This product complies with regulatory, national and European requirements. Never try to make technical modifications to this device. We do not accept liability for accidents or damages resulting from failure to follow these operating and safety instructions.
FUNCTION AND APPLICATION
The Pingi Vida 2 Dehumidifier set (CXTV-N1000EU) was developed as a compact dehumidifier set that captures excess moisture in indoor spaces. This product is ideally suited for unventilated indoor spaces. The captured moisture is collected in the integrated tank.
WHAT TO EXPECT
The Vida 2 is a thermoelectric dehumidifier. The performance of this type of dehumidifier depends on the amount of water in the air. The higher the air temperature, the more water air can contain (relative humidity). At high room temperatures, the device needs to work a lot harder, and it has to remove more moisture to decrease the relative humidity level. Vida 2 will then collect up to 250ml of water per day, and you might need to empty out the water tank often. In a colder room, there will be less water to capture, and the tank will fill more slowly. Is room temperature <10°C? There will not be much moisture in the air, and the tank will fill only slowly.
BEFORE YOU START
Please carefully read the safety instructions on the front page of this manual before getting started.
WALL MOUNT INSTALLATION

This set comes with an included wall mount, model VSB-1S. Use of the wall mount is optional the appliance can also be used without it.
To use the wall mount, it needs to be securely installed on a vertical surface by means of 3 screws.
- Select a vertical surface that provides sufficient distance to the wall mount and other objects.
- Important: Make sure the power adapter cable can easily reach a nearby wall outlet before installing the wall mount.

- Check if the wall mount hangs securely in a vertical position. Use a level if necessary to ensure it hangs straight. Use a screwdriver to install the screws.

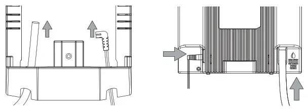
- Before placing the appliance on the wall mount: Push the DC connector of the adapter through the right opening underneath the wall mount. Optionally do the same with the drainage tube on the left side.
- Plug the DC connector into the device. Optionally attach the drainage tube to the device. Now place the appliance on the mount and make sure it is properly secured.

OPERATION
Make sure the ON/OFF switch on the back of the appliance is in the ON position.
Normal: You can activate Normal mode by touching the main button on the front of the device once. The button will pulse blue. The tank light will be activated. The appliance is now collecting humidity from the ambient air.
Turbo: Touching the main button on the front of the device again will activate the turbo mode. The main button will continuously light blue. The device will operate at its maximum speed.
Night: Touching the main button a third time will activate night mode, which reduces the fan speed and switches off all light.
Tank full: This appliance has an automatic shut-off function. When the tank is nearly full, the tank light will change colour to red, and the power button light will dim.

EMPTYING THE TANK
This device has a tank with a capacity of approximately 1000ml. When the tank is nearly full, the appliance will automatically shut off its dehumidifying functions and the tank light will change colour to red. Switch off the appliance and carefully slide out the tank by pulling its handle. The small cap marked `DRAIN TANK’ located on top of the tank can now be removed. Empty the tank into, for example, a kitchen sink. After draining the tank, it can be replaced. The device can now be switched back on.

24/7 DRAINAGE
This appliance comes with a convenient 24/7 drainage option. You can attach a 10mm drainage tube to the tank and any collected water will flow out through the drainage tube. You can hang the other end of the tube in for example a sink or large bucket. You will no longer have to empty the tank.

Attention: When the drainage tube is installed, it is no longer possible to slide the tank out of the device. Remove the drainage tube before attempting to slide out the tank. Attention – overflowing risk: Automatic shut-off will be bypassed when attaching the drainage tube. Make sure to use a sufficiently large receptacle (bucket) and regularly check it, as it might overflow in time. Tip: Do not throw away the cap. Save it for later use.
ADDITIONAL FEATURES
Day/Night-slider: The tank light can be dimmed manually by moving the slider to the right. The slider is located on the front side of the appliance, above the tank.

DISPOSAL OF THE DEVICE
Do not dispose of electrical appliances as unsorted municipal waste, use separate collection facilities. Contact your local government for information regarding the collection systems available. If electrical appliances are disposed of in landfills or dumps, hazardous substances can leak into the groundwater and get into the food chain, damaging your health and wellbeing. When replacing old appliances with new ones, the retailer is legally obligated to take back your old appliance for disposal at least for free of charge.
CLEANING THE DEVICE
If necessary, wipe off the exterior of the appliance with a lightly dampened cloth.
LIMITED 2-YEAR WARRANTY
InnoGoods BV guarantees your appliance against material and fabrication faults for 2 years after initial purchase. Should material or fabrication faults be found, InnoGoods will repair or replace the device with a similar or better-specified product. Damage to the device due to any form of negligence, accident, lack of cleaning and maintenance, or other use or abuse that can reasonably be considered to be in conflict with the directions described in these instructions, does not fall under this warranty. Furthermore, legal provisions with respect to consumer purchases apply. In the event of a fault, we advise you to return the product together with the original proof of purchase to the store where you bought it. When the defect in the device is caused by anything other than material or fabrication faults, you may be charged for examination and repair costs.
TROUBLESHOOTING
The device can not be switched on. What can be the cause?
- Check if the AC-DC adapter is correctly installed.
- Check if the tank is correctly installed. Slide it out and push it back in.
- Make sure the ON/OFF switch on the back of the appliance is in the ON position.
I have emptied the tank, but the tank light is still red. What do I do?
- Please pull the tank out of the device. You will notice a white float in a cylindrical compartment located next to the drainage cap. Please pour all water from this compartment each time you empty the tank.
- Check if the tank is correctly installed. Slide it out and push it back in.
- The float might be stuck. Slide out the tank and push down the cylinder on the upper right side of the tank.
My Vida 2 (CXTV-N1000EU) collects less than 250 ml of water per day. Is it defective?
No, it is likely fine. The performance of a dehumidifier depends on the amount of water in the air. The higher the air temperature, the more water air can contain (relative humidity). At higher temperature levels the device needs to work a lot harder, and it has to remove more moisture to decrease the relative humidity level. In a colder room, there simply is less water to capture, and the tank will fill more slowly.
My Vida 2 (CXTV-N1000EU) does not seem to have very much effect yet. Is it broken?
- Is water being collected in the tank?
- This compact device was designed to gradually absorb moisture (max. 250 ml/day). Has sufficient time passed? Enough time needs to pass to remove moisture already present in the enclosed space.
Can I use my Vida 2 (CXTV-N1000EU) in an unheated space during the winter?
Thanks to its intelligent design with frost protection, the device can operate at any temperature >0°C. However, thermoelectric dehumidifiers like the Vida 2 become significantly less effective when room temperatures are very low because the absolute amount of water in the air will be smaller.

CONTACT/SERVICE:
InnoGoods BV, PO Box 81180, NL-3009 GD, Rotterdam
The Netherlands
Rivium 2e str. 40, NL-2909 LG Capelle, a/d IJssel
+49 20 514 051790, +31 88 995 1000, www.pingi.com
©2018, 2020 INNOGOODS BV – ALL RIGHTS RESERVED.
2020/REV0G1























