BERTAZZONI HK36HERFDBXV Handle Kit for 36 Inch Built-in French Door Refrigerator

Product Information
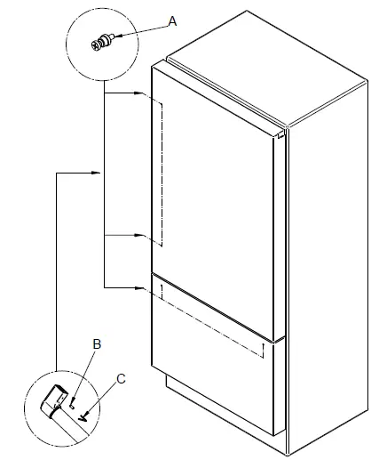
This product is a custom cabinet panel handle designed for use with Bertazzoni models. It is made of high-quality materials, including brass tapping inserts, to ensure proper installation and secure attachment of the handle to the custom panel.
Product Usage Instructions
- Before installing the handle on a custom cabinet panel, make sure you have the necessary tools and materials, including the brass tapping inserts.
- Identify the Bertazzoni model you have and confirm that it is compatible with custom cabinet panels.
- Prepare the custom cabinet panel by ensuring it is clean and free from any obstructions.
- Take the handle and position it on the desired location of the custom panel. Ensure proper alignment and orientation.
- Using a suitable tool, carefully mark the positions where the brass tapping inserts will be installed.
- Drill holes at the marked positions according to the size specified in the Bertazzoni model’s instructions.
- Insert the brass tapping inserts into the drilled holes. Ensure they are securely seated and aligned properly.
- Place the handle over the brass tapping inserts and align it with the holes.
- Securely tighten the handle onto the custom panel using the provided screws or fasteners.
- Double-check the handle’s stability and make any necessary adjustments for proper alignment.
Note: It is recommended to refer to the specific instructions provided in the Bertazzoni model’s manual for detailed installation steps and any additional considerations.
HANDLE INSTALLATION ON CUSTOM CABINETS
In case a custom cabinet panel is to be mounted on any of the models listed below with Bertazzoni handles, it will be necessary to install brass tapping inserts in order to secure the handle properly on the custom panel.

SUGGESTED HANDLE INSERT FOR PANELS
M5 x 0.8 MM BRASS TAPPING INSERTS
- Recommended drill bit size to drill the pilot hole is 3/8″
- Suitable inserts can be ordered at www.encompassparts.com
- Part Number: 95631A100, contains n°4 M5 brass hardwood inserts and 1 M5 installation bit
- Do not use a power tool to mount the inserts. Installation of the inserts with improperly calibrated power tools risk damaging the panels.


















