AC-33 Musical Instruments and Professional Audio System
Owner’s Manual

30 W acoustic guitar amp provides stereo sound in a compact unit
- High-efficiency 30 W stereo power amp (15 W + 15 W) (when using AC adaptor)
- Compact size for convenient portability or home use
- Two custom 5 inch (12 cm) speakers deliver ideal sound for acoustic instruments
Dual power allows operation using eight AA batteries or an AC adaptor (p. 4)
- A dual power supply lets you use the AC-33 to perform anywhere.
- Rechargeable (nickel-metal hydride) batteries are also supported.
Performing time is approximately 8 hours when using alkaline batteries, and approximately 9 hours when using nickel-metal hydride batteries
Two-channel design lets you use a guitar simultaneously with a microphone or line source (p. 8)
- Flexibility to cover a wide range of uses, including a guitar duo or a singer/instrumentalist (p. 12).
- Stereo AUX-IN connector lets you connect your CD or portable audio player (p. 6).
- You can connect the LINE OUT connector to an external PA system, and use the AC-33 as a monitor during your live performance (p. 9).
- The headphone jack is convenient for night-time practice or during a soundcheck (p. 6).
Looper function lets you easily record, play, and overdub without needing any other equipment (p. 10)
- You can record your own performance as a backing and then play it back as an accompaniment for your solo (p. 13).
- Up to 40 seconds of recording time is available. You can also record the AUX IN signal in stereo.
- A separately available footswitch (FS-5U or FS-6) lets you control the Looper function with your foot (p. 11).
Easily-operated effects, plus an Anti-Feedback function (p. 11)
- Three types of onboard stereo effects are offered, so you can add a natural sense of spaciousness to the sound of your acoustic guitar (p. 7).
- The anti-Feedback function lets you suppress feedback simply by switching on this function (p. 11).
Before using this unit, carefully read the sections entitled: “USING THE UNIT SAFELY” and “IMPORTANT NOTES” (p. 2; p. 3). These sections provide important information concerning the proper operation of the unit. Additionally, in order to feel assured that you have gained a good grasp of every feature provided by your new unit, the Owner’s manual should be read in its entirety. The manual should be saved and kept on hand as a convenient reference.
USING THE UNIT SAFELY
INSTRUCTIONS FOR THE PREVENTION OF FIRE, ELECTRIC SHOCK, OR INJURY TO PERSONS
About
WARNING and
CAUTION Notices
WARNING | Used for instructions intended to alert the user to the risk of death or severe injury should the unit be used improperly. |
CAUTION | Used for instructions intended to alert the user to the risk of injury or material damage should the unit be used improperly. * Material damage refers to damage or other adverse efects caused with respect to the home and all its furnishings, as well to domestic animals or pets. |
About the Symbols
![]() | The determined by the design contained within the triangle. In the case of the symbol at left, it is used for general cautions, warnings, or alerts to danger. |
| The | |
| The |
ALWAYS OBSERVE THE FOLLOWING
| Connect the mains plug of this model to a mains socket outlet with a protective earthing connection. | ![]() |
| Do not open (or modify in any way) the unit or rts AC adaptor. | |
| Do not attempt to repair the unit, or replace parts within it (except when this manual provides specific instructions directing you to do sot. Refer all servicing to your retailer, the nearest Roland Service Center. or an authorized Roland chstnbutor. as listed on the “Information page. | |
| Never install the unit in any of the following locations. •Subject to temperature extremes (e.g. direct sunlight IA an enclosed vehicle, near a heating duct on top of heat-generating equipment:Of are •Damp tag, baths, washrooms, on wet Roo& Of are •Exposed to steam or smoke or are •Subject to Wit exposure. or are •Masud or are •Exposed to ran. or are •Dusty or sandy. of are •Subiect to high Leith of Waxen and shalunets | |
| Make sure you always have the unit placed so it is level and sure to remain stable. Never place it on stands that could wobble or on inclined surfaces. | |
| Be sure to use only the AC adaptor supplied with the unit Also, make sure the line voltage at the installation matches the input voltage specified on the AC adaptor’s body. Other AC adaptors may use a different polarity or be designed for a different voltage. so their use could result in damage. malfunction. or electric shock. | |
| Use only the attached power-supply cord. Also. the supplied power cord must not be used with any other device. | |
| Do not excessively twist or bend the power cord, nor place heavy objects on it. Doing so can damage the cord. producing severed elements and short circuits. Damaged cords are fire and shock hazards! | |
| This unit, either alone or in combination with an amplifier and headphones or speakers, may be capable of producing sound levels that could cause permanent hearing loss_ Do not operate for a long period of time at a high volume level. or at a level that is uncomfortable. If you experience any hearing loss or ringing in the ears, you should immediately stop using the unit and consult an audiologist. | |
| Do not allow any objects (e.g_ flammable material, coins, pins); or liquids of any kind (water, soft drinks, etc.) to penetrate the unit | |
| Immediately turn the power off, remove the AC adaptor from the outlet. and request servicing by your retailer. the nearest Roland Service Center or an authorized Roland distributor, as listed on the information page when: •The AC adaptor. the power-supply condor the plug has been damaged. or •if smoke or unusual ado( occurs •Oblects have fallen into, or liquid has been Wiled onto thrum or •The wt has been exposed to ran (or otherwise has become weu. or •The at does not appear to operate nor may or extra: rasa marked change in performance | ![]() |
| In households with small children, an adult should provide supervision until the child is capable of following all the rules essential for the safe operation of the unit. | ![]() |
| Protect the unit from strong impact. (Do not drop it | |
| Do not force the unit’s power supply cord to share an outlet with an unreasonable number of other devices Be especially careful when using extension cords the total power used by all devices you have connected to the extension cords outlet must never exceed the power rating (watts: amperes) for the extension cord Excessive loads can cause the insulation on the cord to heat up and eventually melt through. | |
| Before using the unit in a foreign country. consult with your retailer, the nearest Roland Service Center, or an authorized Roland distributor, as listed on the information page. | ![]() |
| Batteries must never be recharged heated taken apart, or thrown into fire or water. | |
| Never expose battery to excessive heat such as sunshine, fire, or the dike. | ![]() |
| You must use only the battery that is specified in the owner’s manual. The manufacturer bears no responsibility for any damages that might arise from a malfunction or accident caused by Using a battery other than the specified type, regardless of whether it occurred during the warranty period. | ![]() |
CAUTION | |
| At regular intervals, you should unplug the AC adaptor and clean it by using a dry cloth to wipe all dust and other accumulations away from its prongs. Also, disconnect the power plug from the power outlet whenever the unit Is to remains unused for an extended period of time. Any accumulation of dust between the power plug and the power outlet can result in poor insulation and lead to a fire. | |
| Try to prevent cords and cables from becoming entangled. Also, all cords and cables should be placed so they are out of the reach of children. | |
| Never climb on top of, nor place heavy objects on the unit | |
| Never handle the AC adaptor or its plugs with wet hands when plugging into, or unplugging from, an outlet or this unit. | |
| Before moving the unit. disconnect the AC adaptor and all cords corning from external devices. | |
| Before cleaning the unit, turn off the power and unplug the AC adaptor from the outlet (p. 4). | |
| Whenever you suspect the possibility of lightning in your area, disconnect the AC adaptor from the outlet. | |
| If used improperly, batteries may explode or leak and cause damage or injury. In the interest of safety, please read and observe the following precautions (p. 4). •Cattily follow the insulation mtiructront for batteries. and make site eau observe the correct polarity. •Avoid stung new batteries together with used ones In addition avoid mixing different types of batteries •Remove the batteries whenever the unit it to remain unused for an extended period of time •if the battery has leaked use a soft: accept cloth or paper towel to wipe all remnants of the discharge from the battery compartment Then install new batteries_ To avoid inflammation of the skin mate use that none of the battery discharge gets onto your hands or skin. Exercise the utmost caution so that none of the discharge gets neat your eyes. Immediately rinse the affected area with running water if any of the discharge has entered the eyes. •Newt keep batteries together with metallic aspects such as ballpoint pens, necklaces harpist, etc | ![]() |
| Used batteries must be disposed of in compliance with whatever regulations for their safe disposal that may be observed in the region in which you live. | |
| Do not remove the speaker grille and speaker by any means. Speaker not user-replaceable. Shock hazardous voltages and currents are present inside the enclosure. | |
| The unit and the AC adaptor should be located so their location or position does not interfere With their proper ventilation. | ![]() |
| Always grasp only the plug on the AC adaptor cord when plugging into, or unplugging from, an outlet or this unit. | |
IMPORTANT NOTES
Power Supply: Use of Batteries
- Do not connect this unit to the same electrical outlet that is being used by an electrical appliance that is controlled by an inverter (such as a refrigerator, washing machine, microwave oven, or air conditioner), or that contains a motor. Depending on the way in which the electrical appliance is used, power supply noise may cause this unit to malfunction or may produce audible noise. If it is not practical to use a separate electrical outlet, connect a power supply noise filter between this unit and the electrical outlet.
- The AC adaptor will begin to generate heat after long hours of consecutive use. This is normal and is not a cause for concern.
- When installing or replacing batteries, always turn off the power on this unit and disconnect any other devices you may have connected. This way, you can prevent malfunction and/or damage to speakers or other devices.
- Before connecting this unit to other devices, turn off the power to all units. This will help prevent malfunctions and/or damage to speakers or other devices.
Placement
- Using the unit near power amplifiers (or other equipment containing large power transformers) may induce hum. To alleviate the problem, change the orientation of this unit; or move it farther away from the source of interference.
- This device may interfere with radio and television reception. Do not use this device in the vicinity of such receivers.
- Noise may be produced if wireless communications devices, such as cell phones, are operated in the vicinity of this unit. Such noise could occur when receiving or initiating a call, or while conversing. Should you experience such problems, you should relocate such wireless devices so they are at a greater distance from this unit, or switch them off.
- Do not expose the unit to direct sunlight, place it near devices that radiate heat, leave it inside an enclosed vehicle, or otherwise subject it to temperature extremes. Also, do not allow lighting devices that normally are used while their light source is very close to the unit (such as a piano light), or powerful spotlights to shine upon the same area of the unit for extended periods of time. Excessive heat can deform or discolor the unit.
- When moved from one location to another where the temperature and/or humidity is very different, water droplets (condensation) may form inside the unit. Damage or malfunction may result if you attempt to use the unit in this condition. Therefore, before using the unit, you must allow it to stand for several hours until the condensation has completely evaporated.
- Do not allow rubber, vinyl, or similar materials to remain on the unit for long periods of time. Such objects can discolor or otherwise harmfully affect the finish.
- Do not paste stickers, decals, or the like to this instrument. Peeling such matter off the instrument may damage the exterior finish.
- Depending on the material and temperature of the surface on which you place the unit, its rubber feet may discolor or mar the surface. You can place a piece of felt or cloth under the rubber feet to prevent this from happening. If you do so, please make sure that the unit will not slip or move accidentally.
Maintenance
- For every day, cleaning wipes the unit with a soft, dry cloth or one that has been slightly dampened with water. To remove stubborn dirt, use a cloth impregnated with a mild, non-abrasive detergent. Afterward, be sure to wipe the unit thoroughly with a soft, dry cloth.
- Never use benzene, thinners, alcohol, or solvents of any kind, to avoid the possibility of discoloration and/or deformation.
Additional Precautions
- Use a reasonable amount of care when using the unit’s buttons, sliders, or other controls; and when using its jacks and connectors. Rough handling can lead to malfunctions.
- When connecting/disconnecting all cables, grasp the connector itself—never pull on the cable. This way you will avoid causing shorts, or damage to the cable’s internal elements.
- To avoid disturbing your neighbors, try to keep the unit’s volume at reasonable levels. You may prefer to use headphones, so you do not need to be concerned about those around you (especially when it is late at night).
- When you need to transport the unit, package it in the box (including padding) that it came in, if possible. Otherwise, you will need to use equivalent packaging materials.
- Some connection cables contain resistors. Do not use cables that incorporate resistors for connecting to this unit. The use of such cables can cause the sound level to be extremely low, or impossible to hear. For information on cable specifications, contact the manufacturer of the cable.
Copyright
- Recording, duplication, distribution, sale, lease, performance, or broadcast of the copyrighted material (musical works, visual works, broadcasts, live performances, etc.) belonging to a third party in part or in whole without the permission of the copyright owner is forbidden by law.
- Do not use this unit for purposes that could infringe on a copyright held by a third party. We assume no responsibility whatsoever with regard to any infringements of third-party copyrights arising through your use of this unit.
Connecting the Power
The AC-33 can be operated using either an AC adaptor or batteries. Use the type of power that’s appropriate for your situation.
Connecting the AC adaptor
* Use only the AC adaptor that is supplied with the AC-33.

Installing batteries

Removing the battery case
Although it is possible to replace the batteries without removing the battery case, battery replacement will be easier if you remove the battery case.

* We recommend that you keep batteries installed in the unit even though you’ll be powering it with the AC adaptor. That way, you’ll be able to continue a performance even if the cord of the AC adaptor gets accidentally disconnected from the unit.
* To prevent malfunction and speaker damage, make sure to switch off the AC-33’s power before you insert or replace its batteries, and before connecting it to other devices.
* Take care that no metal object touches the contacts of the battery case. This can short-circuit the batteries, causing the case to overheat or burn.
About batteries
Batteries that can be used
The AC-33 uses eight AA alkaline or nickel-metal hydride batteries.
* Nickel-metal hydride batteries cannot be recharged by the AC-33 itself. You’ll need to use a commercially available battery manufacturer.
* When using nickel-metal hydride batteries, please be aware that the battery life will normally shorten each time they are recharged.
Caution regarding batteries
- Insert the batteries as directed, taking care to observe the correct polarity (+/- orientation).
- Do not mix new and used batteries or batteries of different types.
- Carefully read and observe the cautions and handling instructions that accompany the batteries.
When using nickel-metal hydride batteries, you must use the charger that is specified by the battery manufacturer. - Remove the batteries if you won’t be using the unit for several months.
- If any electrolyte leaks from a battery, use a dry cloth to carefully wipe off any electrolyte that might be on the battery case, and then install new batteries. The battery electrolyte that contacts your skin may cause a rash. Battery electrolyte is hazardous to your eyes; if any electrolyte gets into your eyes, flush them immediately with water.
- Do not carry or store batteries together with metallic objects such as pens, necklaces, or hairpins.
Producing Sound
Turning the power on/off
Once the connections have been completed, turn on the power to your various devices in the order specified. By turning on devices in the wrong order, you risk causing malfunction and/or damage to speakers and other devices.
- Make sure that the power to all equipment is turned off.
- Connect your external equipment.
- Set each of the AC-33’s [VOLUME] knobs and the [MASTER] knob to 0.

- Switch on the power to any external equipment connected to the AUX IN jacks.
- Switch on the AC-33’s power.

- Switch on any equipment connected to the LINE OUT jack.
To turn the power off, reverse these steps.
NOTE
- To prevent malfunction and/or damage to speakers or other devices, always turn down the volume, and turn off the power on all devices before making any connections.
- This unit is equipped with a protection circuit. A brief interval (a few seconds) after power-up is required before the unit will operate normally.
- Always make sure to have the volume level turned down before switching on the power. Even with the volume all the way down, you may still hear some sound when the power is switched on, but this is normal and does not indicate a malfunction.
- If you’re operating the AC-33 only on batteries, the POWER indicator will become dim as the batteries run low.
When the batteries run even lower, the POWER indicator will blink.
Replace the batteries as soon as possible.
Playing your guitar
- Connect your guitar, and switch on the AC-33’s power.
Connect your guitar to the INPUT jack of the GUITAR CHANNEL.
Any guitar that has a pickup can be connected.
If your guitar has a pickup as well as a built-in preamp, you can also connect it to the MIC/LINE CHANNEL.
- Set the [VOLUME] knob of the input you’re using to the 5 positions (center).

- While producing sound, use the [MASTER] knob to adjust the volume.

Adjusting the tone
- Use the [BASS] (low range), [MIDDLE] (mid-range), and [TREBLE] (high range) knobs of the desired channel to adjust the tone.

Outputting sound from your microphone
- Connect your microphone, and switch on the AC-33’s power.
Connect your microphone to the INPUT jack of the MIC/LINE CHANNEL.
You can use any one of three types of plugs (XLR, TRS, phone).
You cannot use more than one microphone simultaneously (the TRS/phone jack will take priority).
- Set the [VOLUME] knob of the MIC/LINE CHANNEL to the MIC position.

- While producing sound, use the [MASTER] knob to adjust the volume.

Adjusting the tone
- Use the [BASS] (low range), and [TREBLE] (high range) knobs of the desired channel to adjust the tone.

Outputting sound from a CD player
- Connect your CD player (or another audio device), then switch on the AC-33’s power.
Connect your CD player or portable audio player to the AUX IN jacks on the AC-33’s rear panel.
- Set the AUX IN [LEVEL] knob to 5 (center).

- While producing sound, use the [MASTER] knob to adjust the volume.

Using headphones
Connect your headphones to the PHONES jack.
If headphones are connected, the sound will not be output from the AC-33’s speakers.

Applying an effect
- Set each channel’s [CHORUS] switch to the WIDE or SPACE position.
| WIDE | This is a stereo chorus that processes the three bands independently. By applying band-appropriate chorusing to each of the low, mid, and high-frequency bands, this effect creates a deep and spacious chorusing that is appropriate for the sound of an acoustic guitar. The low range remains firmly localized in the center, and the sound will become more spacious as you go from the mid to the high range. |
| SPACE | This is a chorus that mixes the sounds in the air, a method that is possible only with a stereo system. On the AC-33, the effect sound is emitted by the right speaker (as you face the unit), and the direct sound is emitted by the left speaker. The chorus effect is produced as the sound from the left and right speakers is mixed in the air. Compared to an electrically mixed chorus effect, this effect has a broader left/right spread and a more natural-sounding spaciousness. |
| OFF | No chorus effect will be applied. |

Turn the switch off if you don’t want to apply chorus.
Reverb/Ambience
- Use the [REVERB/AMBIENCE] knob to adjust the amount of effect.
| REVERB | This is a stereo reverb that was developed specifically for acoustic instruments and produces a spacious and natural sound. The position of the knob adjusts the volume of the reverb. |
| AMBIENCE | This effect adds spatial depth. It produces a broader sound field and a sense of presence. The position of the knob adjusts the volume and depth of the ambiance. |

The left half of the knob’s range applies reverb, and the right half applies ambiance.
Turning the knob toward the right will deepen the effect.
If you want to turn the reverb/ambiance off, turn the knob all the way to the left.
About footswitches
If you use a footswitch (BOSS FS-5U or FS-6; sold separately) you’ll be able to turn chorus on/off and reverb/ambiance on/off with your foot.
If a footswitch is connected, the pedal(s) will operate as follows.

Refer to p. 9 for details on the foot switch’s polarity setting.
If you use a phone plug (mono) cable to connect only a one-foot switch, it will only turn the chorus on/off.
The chorus on/off operations applies in common to the GUITAR CHANNEL and the MIC/LINE CHANNEL.
If the CHORUS switch is off, operating the footswitch will not turn the effect on/off.
Names of Things and What They Do
Control Panel

GUITAR CHANNEL
INPUT Jack
Connect your guitar here (p. 5).
[VOLUME] Knob
This adjusts the volume of the guitar channel (p. 5).
[BASS] Knob
This adjusts the tonal character of the low-frequency range (p. 5).
[MIDDLE] Knob
This adjusts the tonal character of the mid-frequency range (p. 5).
[TREBLE] Knob
This adjusts the tonal character of the high-frequency range (p. 5).
[CHORUS] Switch
This switches the type of chorus that is applied (p. 7).
MIC/LINE CHANNEL
INPUT Jack
Connect your microphone or line-level device here (p. 6).
- The AC-33 provides a balanced (XLR) connector that is wired as follows. Check the wiring of your device before you connect it.

- Phantom power is not supplied.
[VOLUME] Knob
This knob adjusts the volume of the mic/line channel (p. 6).
If you’re using a microphone, set this to the MIC position.
[BASS] Knob
This adjusts the tonal character of the low-frequency range (p. 6).
[TREBLE] Knob
This adjusts the tonal character of the high-frequency range (p. 6).
[CHORUS] Switch
This switches the type of chorus that is applied (p. 7).
[REVERB/AMBIENCE] Knob
This adjusts the amount of reverb or ambiance (p. 7).
[MASTER] Knob
This adjusts the overall volume (p. 5, p. 6).
This knob does not affect LINE OUT.
PHONES Jack
You can connect headphones here (p. 6).
* If headphones are connected, the AC-33’s speakers will not produce sound.
[ANTI-FEEDBACK] Switch
You can prevent acoustic feedback by turning this on (p. 11).
Settings will be made automatically when you turn the switch on.
The settings will be reset when the AC-33’s power is turned on again.
LOOPER
This function allows you to record a phrase and play it back repeatedly (p. 10).
The recorded phrase will be lost when you turn off the power.
REC Indicator
This will light red during recording.
PLAY Indicator
This will light green during playback.
OVERDUB Indicator
This will light yellow during overdubbing.
[REC/PLAY/OVERDUB] Button
Press this button when you want to record, play, or overdub.
[STOP/CLEAR] Button
Press this button to stop the looper or to erase the recording.
POWER Indicator
This will light if the power is on.
* The POWER indicator will become dim when the batteries run low. If the batteries become even lower, the POWER indicator will blink.
Please replace the spent batteries with fresh ones.
[POWER] Switch
This turns the power on/off (p. 5).
* Due to a circuitry-protection feature, the AC-33 requires a few moments after it has been turned on before it is ready for normal operation.
* If you need to turn off the power completely, use this switch to turn off the AC-33’s power, then disconnect the plug from the AC outlet. For details, refer to “Connecting the Power” (p. 4).
Jack Panel

DC IN (AC Adaptor)Jack
Connect the included AC adaptor here (p. 4).
You must use only the AC adaptor that is supplied with the AC-33.

FOOT SW (Foot Switch) Jack
If footswitches are connected, you’ll be able to control the Looper function or turn effects on/off using your foot.
You’ll need momentary-type footswitches (BOSS FS-5U or FS-6; sold separately) and connection cables (Roland PCS-31 or PCS-33; sold separately).
Set the polarity switch of the footswitches as shown in the illustration.

LINE OUT Jacks
You can connect your mixer or recorder here. Connect to the L/MONO jack if you’re outputting in mono.
The [MASTER] knob does not affect the output from the LINE OUT jacks.

AUX IN Jack/[LEVEL] knob
Here you can connect a CD player or portable audio player.
Use the [LEVEL] knob to adjust the volume.
The effect is not applied to AUX IN jack.

Security Slot (
)
http://www.kensington.com/
NOTE
When connection cables with resistors are used, the volume level of equipment connected to the inputs (GUITAR CHANNEL, MIC/LINE CHANNEL,AUX
IN,) may be low. If this happens, use connection cables that do not contain resistors.
NOTE
You may connect to both types of AUX IN jacks simultaneously, but this may cause the volume to be lower compared to using one type exclusively.
Looper Function
Looper function
This function lets you record a phrase you perform, and then play it back repeatedly. You can also overdub additional phrases onto the recording.
On the AC-33, this is called the Looper function.
REC Indicator
This will light red during recording.
PLAY Indicator
This will light green during playback.
OVERDUB Indicator
This will light yellow during overdubbing.

REC/PLAY/OVERDUB Button
Press this button when you want to record, play, or overdub.
STOP/CLEAR Button
Press this button to stop the looper or to erase the recording.
Recording a phrase
Press the [REC/PLAY/OVERDUB] button to record a phrase.
The basic operation will change as follows according to the state of the phrase.

- While producing sound, turn the [VOLUME] knob to adjust the recording level.
- Press the [REC/PLAY/OVERDUB] button to start recording.
The AC-33 will enter recording-standby mode when you press the button. The recording will begin when you start performing.
If you’re using a footswitch, the recording will start when you press the footswitch.
The AC-33’s memory can record a phrase approximately 40 seconds long. When you reach the maximum recording time, recording will stop automatically and playback will start. - Press the [REC/PLAY/OVERDUB] button to stop recording.
At the same time that you press the button, the recorded phrase will switch to playback.
The phrase will continue playing repeatedly until you stop it. - To stop playback or overdubbing, press the [STOP/CLEAR] button.
The phrase will stop playing.
If you want to play again, press the [REC/PLAY/ OVERDUB] button.
MEMO
If a phrase has already been recorded, the PLAY indicator will blink.
NOTE
The recorded phrase will be erased when you switch off the AC-33’s power.
Playing back the phrase

- With the PLAY indicator blinking, press the [REC/PLAY/OVERDUB] button.
The PLAY indicator will light, and the phrase will play repeatedly from the beginning. - Press the [STOP/CLEAR] button to stop playback.
The PLAY indicator will blink.
Overdubbing the phrase

- With the PLAY indicator blinking, press the [REC/PLAY/OVERDUB] button.
The PLAY indicator will light, and the phrase will play repeatedly from the beginning. - Press the [REC/PLAY/OVERDUB] button once again.
The OVERDUB indicator will light, and overdubbing will begin. - To stop recording, press the [REC/PLAY/OVERDUB] button.
The PLAY indicator will light, and the phrase will play repeatedly from the beginning. - Press the [STOP/CLEAR] button to stop playback.
The PLAY indicator will blink.
Erasing the phrase
- Hold down the [STOP/CLEAR] button for two or more seconds.
The REC indicator will blink, and the phrase will be erased.
NOTE
The erased phrase cannot be recovered.
Copyright
* Recording, duplication, distribution, sale, lease, performance, or broadcast of the copyrighted material (musical works, visual works, broadcasts, live performances, etc.) belonging to a third party in part or in whole without the permission of the copyright owner is forbidden by law.
* Do not use this unit for purposes that could infringe on a copyright held by a third party. We assume no responsibility whatsoever with regard to any infringements of third-party copyrights arising through your use of this unit.
Using a footswitch
By using momentary-type footswitches (BOSS FS-5U or FS-6; sold separately) you can operate the Looper’s [REC/PLAY/OVERDUB] button and STOP/CLEAR] button with your foot.

- If you’ve used a cable with a phone plug (mono) to connect only a one-foot switch, the footswitch will operate only the [REC/PLAY/OVERDUB] button.
For details on foot switch polarity settings, refer to p. 9.
Anti Feedback Function
What is acoustic feedback?
This is an unpleasant oscillation (a whine, buzz, or howl) that occurs when the output from a speaker is re-input to a microphone or pickup, amplified, and output again from the speaker.
This is more likely to occur when you point the microphone at a speaker or raise the volume to a high level.

Using the Anti Feedback function
What is the anti-feedback function?
This function suppresses the acoustic feedback that can occur between a guitar or microphone and the amp. It does this by attenuating the sound in the frequency range at which feedback is occurring.
Feedback will be suppressed automatically when you use the anti-feedback function.
1. Turn the [ANTI-FEEDBACK] switch ON.
The anti-feedback function will be applied to the microphone or guitar connected to the GUITAR CHANNEL and MIC/LINE CHANNEL inputs.
MEMO
In order to prevent feedback from occurring during your performance, we recommend that you turn the anti-feedback function on before you begin performing.
NOTE
The anti-feedback function will be reset when you turn the power off, then on again.
* If the anti-feedback function is not enough to suppress feedback, take the following steps
- Change the direction of the guitar or microphone
- Move the guitar or microphone away from the speakers
- Lower the volume
Various Ways to Use the AC-33
Singer/performer
You can sing while playing your guitar.
- Connect your guitar to the GUITAR CHANNEL.
- Connect your microphone to the MIC/LINE CHANNEL.

Guitar duo
Here’s how two guitarists can perform.
- Connect one guitar to the GUITAR CHANNEL.
- Connect the other guitar (with a built-in preamp) to the MIC/LINE CHANNEL.

Miking your instrument
Point the microphone at your instrument to capture the sound.
- Connect your microphone to the MIC/LINE CHANNEL.

Blending sound from two types of pickups
If your guitar has two types of pickups, you can use the AC-33 to mix their outputs.
- Connect the pickup attached to the soundhole of your guitar to the GUITAR CHANNEL input.
- Connect the pickup (with internal preamp) built into your guitar to the MIC/LINE CHANNEL input.

Using the Looper function to record, playback, and play along with a rhythm

MEMO
By using a momentary-type footswitch (BOSS FS-5U or FS-6; sold separately) you can operate the Looper’s [REC/PLAY/OVERDUB] button and [STOP/CLEAR] button with your foot.
Using the Arm Stand
When using the AC-33 at a low position such as on the floor, extending the arm stand will make the sound from the speakers easier to hear.

NOTE
- If you use the arm stand, you must place the AC-33 on a horizontal surface.
- Fold the arm stand if you’re not using it.

NOTE
- Do not lift or carry the AC-33 by grasping its arm stand.
- When using the arm stand, do not place objects on the AC-33, or sit or stand on the AC-33.
- Take care not to pinch your fingers when folding the arm stand.
Troubleshooting
If the system does not work as you expect, check the following points first.
| Symptom | Cause | Page |
| Power will not turn on | Power will not turn on: Are the AC adaptor and AC cord connected correctly? | p. 4 |
| Is the AC cord correctly connected to an AC outlet? | p. 4 | |
| Are the batteries installed correctly? Could the batteries have run low? | p. 4 | |
| No sound | Is the external equipment connected correctly? | p. 5 |
| If headphones are connected, no sound will be output from the speakers. | p. 6 | |
| Are each channel’s level knob and the [VOLUME] knob adjusted correctly? | p. 5, p. 6 | |
| Is the AUX IN [LEVEL] knob adjusted correctly? | p. 9 | |
| Could the batteries have run low? The POWER indicator will dim when the batteries run low. If the batteries run even lower, the POWER indicator will blink. Please install fresh batteries. | p. 4 | |
| Sound Is distorted | Could each channel’s level knob or [VOLUME] knob be raised excessively? | p. 5 |
| Is the input level from the connected device appropriate? | p. 5 | |
| Insufficient volume | Are each channel’s level knob or [VOLUME] knob adjusted correctly? | p. 5 |
| Is the input level from the connected device appropriate? | p. 8 | |
| Could multiple devices be connected to AUX IN jack? | p. 9 | |
| Could the batteries have run low? The POWER indicator will dim when the batteries run low. If the batteries run even lower, the POWER indicator will blink. Please install fresh batteries. | p. 4 | |
| Effect not applied | Could the [CHORUS] switch be turned off? | p. 7 |
| Is the [REVERE/AMBIENCE] knob adjusted correctly? | p. 7 | |
| Could you have used a foot switch to turn off the effect? | p. 7 | |
| The effect cannot be applied to AUX IN. | p. 9 |
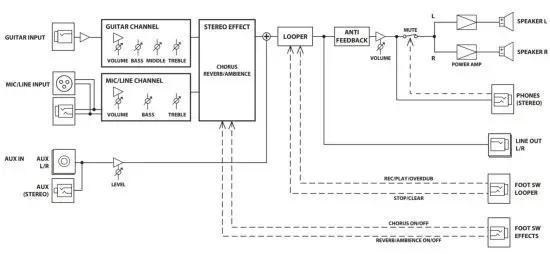
Block Diagram

Main Specifications
AC-33: BATTERY POWERED STEREO ACOUSTIC AMPLIFIER
| Rated Power Output | 30 W (15 W + 15W) 20 W (10 W+ 10W) | (when using the AC adaptor) (when using the Alkaline batteries) | |
| Nominal Input Level (I kHz) | GUITAR CHANNEL MIC/LINE CHANNEL AUX IN | -10 dBu/1 MO -50 dBu (MIC) / -20 dBu (UNE) -10 dBu | |
| Nominal Output Level (1 kHz) | LINE OUT | -10 dBu | |
| Speakers | 12 cm (5 inches) x 2 | ||
| Controls _ | GUITAR CHANNEL | VOLUME Knob, BASS Knob, MIDDLE Knob, TREBLE Knob, CHORUS Switch | |
| MIC/LINE CHANNEL | VOLUME Knob, BASS Knob, TREBLE Knob, CHORUS Switch | ||
| AUX IN | LEVEL Knob | ||
| ANTI-FEEDBACK | ON/OFF Switch | ||
| LOOPER | REC/PLAY/OVERDUB Button, STOP/CLEAR Button | ||
| REVERB/AMBIENCE | REVERB/AMBIENCE Knob | ||
| Others | POWER Switch, MASTER Knob | ||
| Indicators | LOOPER | REC, PLAY, OVERDUB | |
| POWER | POWER | ||
| Connectors | GUITAR CHANNEL Input Jack (1/4″ phone type) | ||
| MIC/LINE CHANNEL Input Connector (XLR type). Input Jack (IRS phone type) | |||
| PHONES Jack (Stereo 1/4″ phone type) | |||
| AUX IN Jacks (RCA phono type, Stereo miniature phone type) | |||
| LINE OUT (L/MONO, R) Jacks (1/4″ phone type) | |||
| FOOT SW Jack EFFECTS (TRS phone type) LOOPER I TRS phone type) | |||
| DC IN Jack | |||
| Power Supply | DC 13 V: AC Adaptor or Dry Battery (LR6 (AA) type) x 8 | ||
| Current Draw | 490 mA | ||
| Expected battery life under continuous use: (These figures will vary depending on the actual conditions of use.) | Alkaline batteries | approximately 8 hours | |
| Nickel-metal hydride batteries | approximately 9 hours | ||
| Dimensions | 318 (W) x 223 (D) x 243 (H) mm 12-9/16 (W) x 8-13/16 (0) x 9-5/8 (H) inches | ||
| Weight | 4.7 kg 10 lbs 6 oz (Excluding Battery) | ||
| Accessory | Owner’s Manual, AC Adaptor, AC Cord | ||
| Options | Foot Switch: BOSS FS-511 FS-6 Connection Cable: Roland PCS-31, PCS-33 | ||
* 0 dBu = 0.775 Vrms
* In the interest of product improvement, the specifications and/or appearance of this unit are subject to change without prior notice.












The AC-33 will enter recording-standby mode when you press the button. The recording will begin when you start performing.
At the same time that you press the button, the recorded phrase will switch to playback.
The PLAY indicator will blink.
The OVERDUB indicator will light, and overdubbing will begin.
The PLAY indicator will light, and the phrase will play repeatedly from the beginning.


















