makita UT001G, UT002G Cordless Mixer Instruction Manual
SPECIFICATIONS
| Model: | UTOO1G | UTOO2G | |
| No load speed | High speed mode | 0 – 920 min–‘ | |
| Low speed mode | 0 – 500 min-1 | ||
| Maximum mixing blade diameter | 240 mm | ||
| Overall length (without shaft and mixing blade) | with battery cover S | 373 mm | 363 mm |
| with battery cover L | 412 mm | 403 mm | |
| Rated voltage | D.C. 36 V – 40 V max | ||
| Net weight | 5.7 – 7.0 kg | 5.8 – 7.2 kg | |
- Due to our continuing program of research and development, the specifications herein are subject to change without notice.
- Specifications and battery cartridge may differ from country to country.
- The weight may differ depending on the attachment(s), including the battery cartridge. The lightest and heaviest combinations, according to EPTA Procedure 01/2014, are shown in the table.
Applicable battery cartridge and charger
- Battery cartridge: BL4020 / BL4025 / BL4040* / BL4050F* / BL4080F* * : Recommended battery
- Charger: DC40RA / DC40RB / DC40RC
Some of the battery cartridges and chargers listed above may not be available depending on your region of residence.
WARNING: Only use the battery cartridges and chargers listed above. Use of any other battery cartridges and chargers may cause injury and/or fire.
Symbols
The followings show the symbols which may be used for the equipment. Be sure that you understand their meaning before use.
| Read instruction manual. |
| Do not use the tool in the rain. |
| Do not clean the tool with water. |
| Only for EU countries Due to the presence of hazardous components in the equipment, waste electrical and electronic equipment, accumulators and batteries may have a negative impact on the environment and human health. Do not dispose of electrical and electronic appliances or batteries with household waste! In accordance with the European Directive on waste electrical and electronic equipment and on accumulators and batteries and waste accumulators and batteries, as well as their adaptation to national law, waste electrical equipment, batteries and accumulators should be stored separately and delivered to a separate collection point for municipal waste, operating in accordance with the regulations on environmental protection. This is indicated by the symbol of the crossed-out wheeled bin placed on the equipment. |
Intended use
The tool is intended for mixing wall materials, etc. (except flammable materials)
Noise
The typical A-weighted noise level determined according to EN62841-2-10:
Model UT001G
- Sound pressure level (LpA): 81 dB (A)
- Sound power level (LWA): 92 dB (A)
- Uncertainty (K): 3 dB (A)
Model UT002G
- Sound pressure level (LpA) : 81 dB(A)
- Sound power level (LWA): 92 dB (A)
- Uncertainty (K): 3 dB(A)
NOTE: The declared noise emission value(s) has been measured in accordance with a standard test method and may be used for comparing one tool with another.
NOTE: The declared noise emission value(s) may also be used in a preliminary assessment of exposure.
WARNING: Wear ear protection.
WARNING: The noise emission during actual use of the power tool can differ from the declared value(s) depending on the ways in which the tool is used especially what kind of workpiece is processed.
WARNING: Be sure to identify safety measures to protect the operator that are based on an estimation of exposure in the actual conditions of use (taking account of all parts of the operating cycle such as the times when the tool is switched off and when it is running idle in addition to the trigger time).
Vibration
The vibration total value (tri-axial vector sum) determined according to EN62841-2-10:
Model UT001G
- Work mode: operation without load
- Vibration emission (ah): 2.5 m/s2 or less
- Uncertainty (K): 1.5 m/s2
Model UT002G
- Work mode: operation without load
- Vibration emission (ah): 2.5 m/s2 or less
- Uncertainty (K): 1.5 m/s2
NOTE: The declared vibration total value(s) has been measured in accordance with a standard test method and may be used for comparing one tool with another.
NOTE: The declared vibration total value(s) may also be used in a preliminary assessment of exposure.
WARNING: The vibration emission during actual use of the power tool can differ from the declared value(s) depending on the ways in which the tool is used especially what kind of workpiece is processed.
WARNING: Be sure to identify safety measures to protect the operator that are based on an estimation of exposure in the actual conditions of use (taking account of all parts of the operating cycle such as the times when the tool is switched off and when it is running idle in addition to the trigger time).
EC Declaration of Conformity
For European countries only
The EC declaration of conformity is included as Annex A to this instruction manual.
SAFETY WARNINGS
General power tool safety warnings
WARNING: Read all safety warnings, instructions, illustrations and specifications provided with this power tool. Failure to follow all instructions listed below may result in electric shock, fire and/or serious injury.
Save all warnings and instructions for future reference.
The term “power tool” in the warnings refers to your mains-operated (corded) power tool or battery-operated (cordless) power tool.
Work area safety
- Keep work area clean and well lit. Cluttered or dark areas invite accidents.
- Do not operate power tools in explosive atmospheres, such as in the presence of flammable liquids, gases or dust. Power tools create sparks which may ignite the dust or fumes.
- Keep children and bystanders away while operating a power tool. Distractions can cause you to lose control.
Electrical safety
- Power tool plugs must match the outlet. Never modify the plug in any way. Do not use any adapter plugs with earthed (grounded) power tools. Unmodified plugs and matching outlets will reduce risk of electric shock.
- Avoid body contact with earthed or grounded surfaces, such as pipes, radiators, ranges and refrigerators. There is an increased risk of electric shock if your body is earthed or grounded.
- Do not expose power tools to rain or wet conditions. Water entering a power tool will increase the risk of electric shock.
- Do not abuse the cord. Never use the cord for carrying, pulling or unplugging the power tool. Keep cord away from heat, oil, sharp edges or moving parts. Damaged or entangled cords increase the risk of electric shock.
- When operating a power tool outdoors, use an extension cord suitable for outdoor use. Use of a cord suitable for outdoor use reduces the risk of electric shock.
- If operating a power tool in a damp location is unavoidable, use a residual current device (RCD) protected supply. Use of an RCD reduces the risk of electric shock.
- Power tools can produce electromagnetic fields (EMF) that are not harmful to the user. However, users of pacemakers and other similar medical devices should contact the maker of their device and/or doctor for advice before operating this power tool.
Personal safety
- Stay alert, watch what you are doing and use common sense when operating a power tool. Do not use a power tool while you are tired or under the influence of drugs, alcohol or medication. A moment of inattention while operating power tools may result in serious personal injury.
- Use personal protective equipment. Always wear eye protection. Protective equipment such as a dust mask, non-skid safety shoes, hard hat or hearing protection used for appropriate conditions will reduce personal injuries.
- Prevent unintentional starting. Ensure the switch is in the off-position before connecting to power source and/or battery pack, picking up or carrying the tool. Carrying power tools with your finger on the switch or energising power tools that have the switch on invites accidents.
- Remove any adjusting key or wrench before turning the power tool on. A wrench or a key left attached to a rotating part of the power tool may result in personal injury.
- Do not overreach. Keep proper footing and balance at all times. This enables better control of the power tool in unexpected situations.
- Dress properly. Do not wear loose clothing or jewellery. Keep your hair and clothing away from moving parts. Loose clothes, jewellery or long hair can be caught in moving parts.
- If devices are provided for the connection of dust extraction and collection facilities, ensure these are connected and properly used. Use of dust collection can reduce dust-related hazards.
- Do not let familiarity gained from frequent use of tools allow you to become complacent and ignore tool safety principles. A careless action can cause severe injury within a fraction of a second.
- Always wear protective goggles to protect your eyes from injury when using power tools. The goggles must comply with ANSI Z87.1 in the USA, EN 166 in Europe, or AS/NZS 1336 in Australia/New Zealand. In Australia/New Zealand, it is legally required to wear a face shield to protect your face, too.

It is an employer’s responsibility to enforce the use of appropriate safety protective equipments by the tool operators and by other persons in the immediate working area.
Power tool use and care
- Do not force the power tool. Use the correct power tool for your application. The correct power tool will do the job better and safer at the rate for which it was designed.
- Do not use the power tool if the switch does not turn it on and off. Any power tool that cannot be controlled with the switch is dangerous and must be repaired.
- Disconnect the plug from the power source and/or remove the battery pack, if detachable, from the power tool before making any adjustments, changing accessories, or storing power tools. Such preventive safety measures reduce the risk of starting the power tool accidentally.
- Store idle power tools out of the reach of children and do not allow persons unfamiliar with the power tool or these instructions to operate the power tool. Power tools are dangerous in the hands of untrained users.
- Maintain power tools and accessories. Check for misalignment or binding of moving parts, breakage of parts and any other condition that may affect the power tool’s operation. If damaged, have the power tool repaired before use. Many accidents are caused by poorly maintained power tools.
- Keep cutting tools sharp and clean. Properly maintained cutting tools with sharp cutting edges are less likely to bind and are easier to control.
- Use the power tool, accessories and tool bits etc. in accordance with these instructions, taking into account the working conditions and the work to be performed. Use of the power tool for operations different from those intended could result in a hazardous situation.
- Keep handles and grasping surfaces dry, clean and free from oil and grease. Slippery handles and grasping surfaces do not allow for safe handling and control of the tool in unexpected situations.
- When using the tool, do not wear cloth work gloves which may be entangled. The entanglement of cloth work gloves in the moving parts may result in personal injury.
Battery tool use and care
- Recharge only with the charger specified by the manufacturer. A charger that is suitable for one type of battery pack may create a risk of fire when used with another battery pack.
- Use power tools only with specifically designated battery packs. Use of any other battery packs may create a risk of injury and fire.
- When battery pack is not in use, keep it away from other metal objects, like paper clips, coins, keys, nails, screws or other small metal objects, that can make a connection from one terminal to another. Shorting the battery terminals together may cause burns or a fire.
- Under abusive conditions, liquid may be ejected from the battery; avoid contact. If contact accidentally occurs, flush with water. If liquid contacts eyes, additionally seek medical help. Liquid ejected from the battery may cause irritation or burns.
- Do not use a battery pack or tool that is damaged or modified. Damaged or modified batteries may exhibit unpredictable behaviour resulting in fire, explosion or risk of injury.
- Do not expose a battery pack or tool to fire or excessive temperature. Exposure to fire or temperature above 130 °C may cause explosion.
- Follow all charging instructions and do not charge the battery pack or tool outside the temperature range specified in the instructions. Charging improperly or at temperatures outside the specified range may damage the battery and increase the risk of fire.
Service
- Have your power tool serviced by a qualified repair person using only identical replacement parts. This will ensure that the safety of the power tool is maintained.
- Never service damaged battery packs. Service of battery packs should only be performed by the manufacturer or authorized service providers.
- Follow instruction for lubricating and changing accessories.
Cordless mixer safety warnings
- Hold the tool with both hands at the intended handles. Loss of control can cause personal injury.
- Ensure sufficient ventilation when mixing flammable materials to avoid a hazardous atmosphere. Developing vapour may be inhaled or be ignited by the sparks the power tool produces.
- Do not mix food. Power tools and their accessories are not designed for processing food.
- Ensure that the mixing container is placed in a firm and secure position. A container that is not properly secured may move unexpectedly.
- Follow the instructions and warnings for the material to be mixed. Material to be mixed may be harmful.
- Do not reach into the mixing container with your hands or insert any other objects into it while mixing. Contact with the mixer blade may lead to serious personal injury.
- Start up and run down the tool in the mixing container only. The mixer blade may bend or spin in an uncontrolled manner.
- Ensure that no liquid splashes against the housing of the power tool. Liquid that has penetrated the power tool can cause damage to the tool.
- Use auxiliary handles, if supplied with the tool.
Loss of control may cause personal injury. - Hold power tool by insulated gripping surfaces, when performing an operation where the cutting accessory may contact hidden wiring. Cutting accessory contacting a “live” wire may make exposed metal parts of the power tool “live” and could give the operator an electric shock.
- Always be sure you have a firm footing. Be sure no one is below when using the tool in high locations.
- Hold the tool firmly.
- Keep hands away from rotating parts.
- Do not leave the tool running. Operate the tool only when you are holding it.
- Some materials contain chemicals which may be toxic. Take caution to prevent dust inhalation and skin contact. Follow safety warnings by supplier of the material.
- When performing the mixing operation, place the mixing container on a flat and stable surface.
SAVE THESE INSTRUCTIONS.
WARNING: DO NOT let comfort or familiarity with product (gained from repeated use) replace strict adherence to safety rules for the subject product. MISUSE or failure to follow the safety rules stated in this instruction manual may cause serious personal injury.
Important safety instructions for battery cartridge
- Before using battery cartridge, read all instructions and cautionary markings on (1) battery charger, (2) battery, and (3) product using battery.
- Do not disassemble or tamper with the battery cartridge. It may result in a fire, excessive heat, or explosion.
- If operating time has become excessively shorter, stop operating immediately. It may result in a risk of overheating, possible burns and even an explosion.
- If electrolyte gets into your eyes, rinse them out with clear water and seek medical attention right away. It may result in loss of your eyesight.
- Do not short the battery cartridge:
- Do not touch the terminals with any conductive material.
- Avoid storing battery cartridge in a container with other metal objects such as nails, coins, etc.
- Do not expose battery cartridge to water or rain.
A battery short can cause a large current flow, overheating, possible burns and even a breakdown.
- Do not store and use the tool and battery cartridge in locations where the temperature may reach or exceed 50 °C (122 °F).
- Do not incinerate the battery cartridge even if it is severely damaged or is completely worn out. The battery cartridge can explode in a fire.
- Do not nail, cut, crush, throw, drop the battery cartridge, or hit against a hard object to the battery cartridge. Such conduct may result in a fire, excessive heat, or explosion.
- Do not use a damaged battery.
- The contained lithium-ion batteries are subject to the Dangerous Goods Legislation requirements. For commercial transports e.g. by third parties, forwarding agents, special requirement on packaging and labeling must be observed.
For preparation of the item being shipped, consulting an expert for hazardous material is required. Please also observe possibly more detailed national regulations. Tape or mask off open contacts and pack up the battery in such a manner that it cannot move around in the packaging. - When disposing the battery cartridge, remove it from the tool and dispose of it in a safe place. Follow your local regulations relating to disposal of battery.
- Use the batteries only with the products specified by Makita. Installing the batteries to non-compliant products may result in a fire, excessive heat, explosion, or leak of electrolyte.
- If the tool is not used for a long period of time, the battery must be removed from the tool.
- During and after use, the battery cartridge may take on heat which can cause burns or low temperature burns. Pay attention to the handling of hot battery cartridges.
- Do not touch the terminal of the tool immediately after use as it may get hot enough to cause burns.
- Do not allow chips, dust, or soil stuck into the terminals, holes, and grooves of the battery cartridge. It may cause heating, catching fire, burst and malfunction of the tool or battery cartridge, resulting in burns or personal injury.
- Unless the tool supports the use near high-voltage electrical power lines, do not use the battery cartridge near a high-voltage electrical power lines. It may result in a malfunction or breakdown of the tool or battery cartridge.
- Keep the battery away from children.
SAVE THESE INSTRUCTIONS.
CAUTION: Only use genuine Makita batteries. Use of non-genuine Makita batteries, or batteries that have been altered, may result in the battery bursting causing fires, personal injury and damage. It will also void the Makita warranty for the Makita tool and charger.
Tips for maintaining maximum battery life
- Charge the battery cartridge before completely discharged. Always stop tool operation and charge the battery cartridge when you notice less tool power.
- Never recharge a fully charged battery cartridge. Overcharging shortens the battery service life.
- Charge the battery cartridge with room temperature at 10 °C – 40 °C (50 °F – 104 °F). Let a hot battery cartridge cool down before charging it.
- When not using the battery cartridge, remove it from the tool or the charger.
- Charge the battery cartridge if you do not use it for a long period (more than six months).
PARTS DESCRIPTION
Model UT001G
| 1 | Switch trigger | 2 | Lock-off button |
| 3 | Lock button | 4 | Speed adjusting dial |
| 5 | Speed change knob | 6 | Battery cover |
| 7 | Handle | 8 | Shaft holder |
| 9 | Shaft | 10 | Mixing blade |
Model UT002G
| 1 | Switch trigger | 2 | Lock-off button |
| 3 | Lock button | 4 | Speed adjusting dial |
| 5 | Speed change knob | 6 | Battery cover |
| 7 | Handle | 8 | Chuck |
PREPARATION BEFORE USE
Indicating the remaining battery capacity
Press the check button on the battery cartridge to indicate the remaining battery capacity. The indicator lamps light up for a few seconds.
1. Indicator lamps 2. Check button
| Indicator lamps | Remaining capacity | ||
Lighted | Off | Blinking | |
| 75% to 100% | |||
| 50% to 75% | |||
| 25% to 50% | |||
| 0% to 25% | |||
| Charge the battery. | |||
| The battery may have malfunctioned. | |||
NOTE: Depending on the conditions of use and the ambient temperature, the indication may differ slightly from the actual capacity.
NOTE: The first (far left) indicator lamp will blink when the battery protection system works.
Things you need to know before use
Hold the handle when using or carrying the tool.
CAUTION: Do not hold the sheet metal part. Sharp areas may cause injury.
Tool / battery protection system
The tool is equipped with a tool/battery protection system. This system automatically cuts off power to the motor to extend tool and battery life. The tool will automatically stop during operation if the tool or battery is placed under one of the following conditions:
Overload protection
When the tool/battery is operated in a manner that causes it to draw an abnormally high current, the tool automatically stops. In this situation, turn the tool off and stop the application that caused the tool to become overloaded. Then turn the tool on to restart.
Overheat protection
When the tool/battery is overheated, the tool stops automatically. In this situation, let the tool/battery cool before turning the tool on again.
Overdischarge protection
When the battery capacity becomes low, the tool stops automatically. If the product does not operate even when the switches are operated, remove the batteries from the tool and charge the batteries.
HOW TO USE
CAUTION: Always be sure that the tool is switched off and the battery cartridge is removed before carrying out any work on the tool.
NOTICE: When you are not working, lay the machine down and store it.
Assembly
Installing the shaft
Optional accessory
For UT001G
- Tighten the shaft into the shaft holder.

1. Shaft 2. Shaft holder - Hold the flats on the shaft holder with wrench 19 so that the shaft holder cannot revolve. With the flats held so, tighten the hex nut with another wrench 19 in the direction of arrow.

1. Shaft 2. Shaft holder
For UT002G
- Insert the shaft into the chuck as far as it will go.

1. Shaft 2. Chuck - Tighten the chuck by hand, and then place the chuck key in each of three holes and tighten it clockwise. Be sure to tighten the chuck key at all three holes evenly.

1. Chuck key 2. Chuck - To remove the shaft, turn the chuck key counterclockwise at one of the holes, and then loosen the chuck by hand.
- When not in use, store the chuck key as shown in the figure to keep it from being lost.

1. Chuck key
Installing the mixing blade
Optional accessory
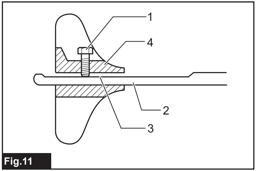
Insert the mixing blade into the shaft and secure it with the hex bolt. At this time, position it so that the top end of the hex bolt always fits to the flat surface on the shaft and tighten the hex bolt with the provided wrench.
1. Hex bolt 2. Shaft 3. Flat surface 4. Mixing blade
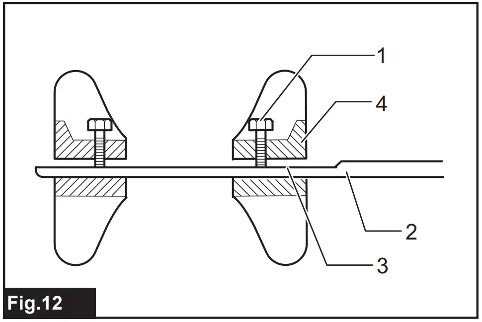
When installing the mixing blades at two different positions, mount and secure the two mixing blades on the flat part of the shaft with the hex bolts so that the same surface of the mixing blades faces each other as shown in the figure.
1. Hex bolt 2. Shaft 3. Flat surface 4. Mixing blade
NOTE: Ask your local Makita Service Center about which is mixing blades are allowed.
Installing or removing battery cartridge
CAUTION: Always switch off the tool before installing or removing of the battery cartridge.
CAUTION: Hold the tool and the battery cartridge firmly when installing or removing battery cartridge. Failure to hold the tool and the battery cartridge firmly may cause them to slip off your hands and result in damage to the tool and battery cartridge and a personal injury.
CAUTION: Do not use this tool with the battery adapter. If you connect the battery adapter to the tool, the battery cover cannot be closed, and using the tool with battery cover opened may cause an injury.
CAUTION: Be careful not to pinch your fingers when opening or closing the battery cover.
NOTICE: Install a battery cover that matches the size of the battery.
Open the battery cover while pressing the button on the battery cover.
1. Button 2. Battery cover
To remove the battery cartridge, slide it from the tool while sliding the button on the front of the cartridge.
1. Red indicator 2. Button 3. Battery cartridge
To install the battery cartridge, align the tongue on the battery cartridge with the groove in the housing and slip it into place. Insert it all the way until it locks in place with a little click. If you can see the red indicator as shown in the figure, it is not locked completely.
After installing the battery cartridge, close the battery cover securely.
CAUTION: Always install the battery cartridge fully until the red indicator cannot be seen. If not, it may accidentally fall out of the tool, causing injury to you or someone around you.
CAUTION: Do not install the battery cartridge forcibly. If the cartridge does not slide in easily, it is not being inserted correctly.
Switch action
WARNING: Before installing the battery cartridge into the tool, always make sure that the switch trigger actuates properly and returns to the “OFF” position by fully pulling and releasing it.
WARNING: NEVER defeat the lock-off button by taping down or some other means. A switch with a negated lock-off button may result in unintentional operation and serious personal injury.
WARNING: NEVER use the tool if it runs when you simply pull the switch trigger without pressing the lock-off button. A switch in need of repair may result in unintentional operation and serious personal injury. Return tool to a Makita service center for proper repairs BEFORE further usage.
WARNING: Do not install the battery cartridge with the lock button engaged.
To prevent the switch trigger from being accidentally pulled, a lock-off button is provided. To start the tool, depress the lock-off button and pull the switch trigger. Tool speed is increased by increasing pressure on the switch trigger. Release the switch trigger to stop. For continuous operation, depress the lock button while pulling the switch trigger, and then release the switch trigger. To stop the tool, pull the switch trigger fully, then release it.
1. Switch trigger 2. Lock-off button 3. Lock button
Operation of speed change knob
NOTICE: Use the speed change knob only after the tool comes to a complete stop. Changing the tool speed mode before the tool stops may damage the tool.
NOTICE: Always set the speed change knob carefully into the correct position. If you operate the tool with the speed change knob positioned halfway between the position 1 and the position 2, the tool may be damaged.
NOTICE: If the rotation speed significantly decreases during operation in the high speed mode, stop the tool and change the mode to the low speed mode. Otherwise, the motor may get overloaded and cause a malfunction or fire.
Two speed ranges can be preselected with the speed change knob. Select the proper speed mode for the material to be mixed. To change the speed mode, turn the speed change knob so that the pointer points to the dot at position 1 for low speed mode or the dot at position 2 for high speed mode.
1. Pointer 2. Speed change knob 3. Dot
Operation of speed adjusting dial
The tool speed can be adjusted steplessly by turning the speed adjusting dial. The no load speed when the switch trigger is fully pulled can be adjusted 270 min-1 to 500 min-1 at low speed mode, 500 min-1 to 920 min-1 at high speed mode. Higher speed is obtained when the dial is turned in the direction of number 5; lower speed is obtained when it is turned in the direction of number 1.
Select the proper speed for the material to be mixed.
1. Speed adjusting dial
NOTICE: The speed adjusting dial can be turned only as far as 5 and back to 1. Do not force it past 5 or 1.
Accidental restart preventive function
If you install the battery cartridge while pulling the switch trigger or locking the switch trigger, the tool does not start. To start the tool, release the switch trigger, and then pull the switch trigger.
Electronic function
The tool is equipped with the following electronic function for easy operation.
Soft start
The soft-start function minimizes start-up shock, and makes the tool start smoothly.
Basic operations
CAUTION: Do not mix flammable materials or operate the tool around flammable materials such as paint with thinner used as solvent. Failure to do so may cause an injury.
CAUTION: Do not mix high viscosity material in the high speed mode. You may lose the control of the tool and cause an injury.
CAUTION: Do not rotate the mixing blade outside the stirring vessel.
CAUTION: If you hear an abnormal noise during use, turn off the switch and stop using the tool.
NOTICE: When you mix the material while the mixing blade floating out of the material, be careful not to splash the material.
NOTICE: Do not use the tool for any purpose other than stirring mortar, concrete, etc.
- Select high speed mode or low speed mode according to the material to be mixed.
- Hold the tool firmly with both hands. Place the mixing blade under material fully. Check that the material is not solidified and the safety of the work site, then turn on the tool.
- Move the mixing blade up and down during the mixing operation so that whole part of material can be mixed.
- When finishing mixing, turn off the tool. Make sure that the mixing blade has come to a complete stop, and then pull it out of the mixing container.
Applied operations
CAUTION: Always be sure that the tool is switched off and the battery cartridge is removed before adjusting or checking function on the tool.
Replacing battery cover
Optional accessory
Install one of the battery covers to fit the size of your battery cartridge.
1. Battery cover S 2. Battery cover L 3. Button
- Open the standard equipped battery cover while pressing the button on the battery cover.
- Loosen the screw securing the standard equipped battery cover. Then remove the screw, sleeve and the battery cover.

1. Screw 2. Sleeve 3. Battery cover (standard equipped)
NOTE: The sleeve may remain in the mounting holes. In that case, pull it out using a screw or the like. - Align the mounting hole on the optional battery cover with the mounting holes on the housing. Insert the sleeve. Then tighten the screws to secure it in place.

1. Screw 2. Sleeve 3. Battery cover (optional) - Close the battery cover securely.
Installing or removing the shaft holder
country specific
For UT001G
Install one of the shaft holders optionally available to fit your screw size of the shaft.
1. M12 shaft holder 2. M14 shaft holder
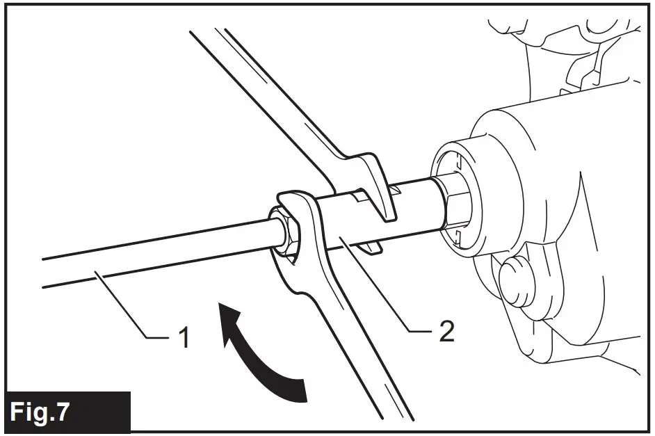
While holding the spindle with a wrench, loosen the shaft holder with another wrench.
1. Shaft holder 2. Wrench 3. Spindle
To install the shaft holder, perform the removal procedure in reverse.
For UT002G
- Insert the hex wrench into the chuck, and then loosen the chuck with the hex wrench while holding the spindle with the wrench.

1. Hex wrench 2. Chuck 3. Wrench 4. Spindle - Tighten the shaft holder with a wrench while holding the spindle with another wrench.

1. Shaft holder 2. Wrench 3. Spindle
Handling after use
Use a wet cloth or the like to carefully wipe off the material left on the tool after use. Extra care should be given to thorough cleaning of the vents, switch area, cover openings, etc.
NOTICE: Avoid cleaning the tool in water. Water will get into the motor housing and cause motor failure.
MAINTENANCE
CAUTION: Always be sure that the tool is switched off and the battery cartridge is removed before attempting to perform inspection or maintenance.
NOTICE: Never use gasoline, benzine, thinner, alcohol or the like. Discoloration, deformation or cracks may result.
To maintain product SAFETY and RELIABILITY, repairs, any other maintenance or adjustment should be performed by Makita Authorized or Factory Service Centers, always using Makita replacement parts.
Troubleshooting
Before asking for repairs, check the following points.
- Turn the tool off, and then turn it on again to restart.
- Charge the battery(ies) or replace it/them with recharged battery(ies).
- Let the tool and battery(ies) cool down.
If no improvement can be found by restoring protection system, then contact your local Makita Service Center.
OPTIONAL ACCESSORIES
CAUTION: These accessories or attachments are recommended for use with your Makita tool specified in this manual. The use of any other accessories or attachments might present a risk of injury to persons. Only use accessory or attachmentfor its stated purpose.
If you need any assistance for more details regarding these accessories, ask your local Makita Service Center.
- Mixing blade
- Shaft
- Battery cover
- Makita genuine battery and charger
NOTE: Some items in the list may be included in the tool package as standard accessories. They may differ from country to country.
Makita Europe N.V.
Jan-Baptist Vinkstraat 2,
3070 Kortenberg, Belgium
Makita Corporation 3-11-8,
Sumiyoshi-cho,
Anjo, Aichi 446-8502 Japan
www.makita.com

































