Climax Technology WLS-23 Water Leak Sensor

Introduction
WLS-23 is a Water Leak Sensor. It is capable of sending wireless signals to the Control Panel upon water detection. The Water Sensor can be placed on the ground, or mounted on the wall using the extension cable to detect water leakage or flood condition. The Water Sensing Cable and built-in water sensing probes can detect water leakage or flood condition. It can be placed on the ground, or mounted on the wall and further extended by connecting to another water sensing cable to improve detection range.
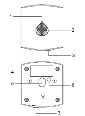
Parts Identification
- LED Indicator
- Continuous flash:
When the Water Sensor is transmitting a learning signal. - Flashes twice:
When the Water Sensor receives acknowledgement from the Control Panel. - Flashes 3 times:
- When the Learn/Test Button is pressed under normal operation mode, and the device will emit 1 beep;
- When the Learn/Test Button is pressed under low battery status, and the device will emit 3 beeps;
- When the Learn/Test button is pressed under normal operation mode or while alarming.
- Flashes 10 times:
- When battery power is provided to the device;
- When the Water Sensor is transmitting an alarm signal, and the device will beep continuously;
- When the Water Sensor is transmitting a restore signal.
- Quick flashes every 4 seconds:
The battery is exhausted.
- Continuous flash:
- Buzzer
- External Water Probe Connector
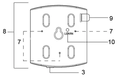
- Battery Compartment
The Water Leak Sensor is powered by one CR123 3V Lithium battery. - Mounting Hook
- Learn/Test Button (inside the cover)
- Press and hold the button for 3 seconds to transmit a learning code.
- Press the “LEARN” button once to send a learning signal to the Control Panel
- Press once to send a supervisory signal to the Control Panel
- Press once while alarming to enter Alarm Silence Mode.
- Built-in water sensing probes
- Waterproof Case
- Battery Insulator
- Learn (characters imprinted on the back cover)

Features
Water Detection
The Water Sensor will be activated when water is detected through:
- The external water sensing cable.
Please remove the pre-installed plastic plug from the external water probe connector, the Water Sensor will emit beep sound every 10 seconds for 5 minutes to indicate absence of plastic plug, please connect the external water probe to the connector (Refer to Mounting for details). - The built-in water sensing probe.
Please make sure the plastic plug is well inserted when using this type of detection function.(Refer to Mounting for details).- If water is detected for 1 minute through the above two detecting methods, the Water Sensor will start alarming and the Red LED will flash 12 times along with continuous beeps. The Water Sensor will transmit an alarm signal to the Control Panel. After 2 minutes, if water still persists, the Water Sensor will transmit another alarm signal to the Control Panel.
- If water is subsided for 1 minute, the Water Sensor will stop alarming and transmit a restore signal and the Red LED will flash 12 times. If water is detected again, the Water Sensor will be activated and raise alarm.
Alarm Silence
- Press the Learn/Test Button once to enter Alarm Silence mode while alarming.
- Under Alarm Silence mode, the Water Sensor will not sound alarm and stop detecting water leakage. After a restore signal is transmitted to the Control Panel, if alarm warning condition is met again, the Water Sensor will raise alarm again.
Battery and Low Battery Detection
- The Water Sensor uses one CR123 3V Lithium battery as its power source.
- The Water Sensor features Low Battery Detection function. When the Water Sensor is low on battery, a low battery signal will be transmitted along with regular signal transmissions.
- When the Learn/Test Button is pressed under low battery status, the Water Sensor will emit 3 beeps and the Red LED will flash 4 times to notify the user. The Low Battery signal will not disappear until a new battery is inserted. Please replace the battery as soon as possible.
- When the battery is exhausted, the Water Sensor will stop working and its Red LED quick flash every 4 seconds to notify the user. Please replace the battery as soon as possible.
- When changing battery, after removing the old battery, press the Learn/Test Button twice to fully discharge before inserting a new battery.
Supervision
The Water Sensor will transmit a supervision signal to report its condition every 15 to 18 minutes. The user can also press the Learn/Test Button once to transmit a supervision signal manually.
Getting Started
- Remove the battery insulator to power on the Water Sensor. After 1 minute, the Red LED will flash 12 times.
- Put your Control Panel into learning mode (Please refer to your Control Panel manual for details).
- Press and hold the Learn/Test Button for 3 seconds to transmit a learn code to the Control Panel, the LED will flash continuously to indicate.
- If the Control Panel receives the learn code, it will display the information accordingly, refer to the Control Panel manual to complete the learning process. You can start Mounting process
Installation 
Mounting
There are two ways to mount the Water Sensor:
- Wall mounting (use the external water sensing probe):
- Choose to install the Water Sensor at a desirable height
- Drill hole in the surface.
- Insert the screw into the hole.
- Hook the Water Sensor onto the screw using the Mounting Hook behind the device.
- The external water probe connector is pre-installed with a plastic plug (Fig.1), please remove it.
- Connect the enclosed water sensing probe to the external water probe connector.
- Ground surface mounting (use the built-in water sensing probes):
Simply place your Water Sensor at the desirable location on the ground.
Do NOT place on conductive surface. - Water Sensing Cable
A Water Sensing Cable or Water Probe Cable is available for selection. The cable can be further extended by connecting to another cable to improve detection range.
User Guidelines
- When water is detected through the Water Sensing Cable or Water Sensing Probe, the Water Sensor will start alarming and transmit an alarm signal to the Control Panel.
- Upon receiving an alert notification from the Control Panel, unplug the Water Sensing Cable.
- Use a towel to dry the Water Sensing Cable.

- It is recommended to air dry residual water in a ventilated place for at least two hours before inserting the sensing cable.

Note:
- Avoid direct or indirect sunshine.
- Improper storage can cause damage to the sensor and the cable.

Federal Communication Commission Interference Statement
This equipment has been tested and found to comply with the limits for a Class B digital device, pursuant to Part 15 of the FCC Rules. These limits are designed to provide reasonable protection against harmful interference in a residential installation.
This equipment generates, uses and can radiate radio frequency energy and, if not installed and used in accordance with the instructions, may cause harmful interference to radio communications. However, there is no guarantee that interference will not occur in a particular installation. If this equipment does cause harmful interference to radio or television reception, which can be determined by turning the equipment off and on, the user is encouraged to try to correct the interference by one of the following measures:
- Reorient or relocate the receiving antenna.
- Increase the separation between the equipment and receiver.
- Connect the equipment into an outlet on a circuit different from that to which the receiver is connected.
- Consult the dealer or an experienced radio/TV technician for help.
FCC Caution: To assure continued compliance, any changes or modifications not expressly approved by the party responsible for compliance could void the user’s authority to operate this equipment. (Example – use only shielded interface cables when connecting to computer or peripheral devices).
FCC Radiation Exposure Statement
This equipment complies with FCC RF radiation exposure limits set forth for an uncontrolled environment. This equipment should be installed and operated with a minimum distance of 20 centimeters between the radiator and your body.
This transmitter must not be co-located or operating in conjunction with any other antenna or transmitter.
The antennas used for this transmitter must be installed to provide a separation distance of at least 20 cm from all persons and must not be co-located or operating in conjunction with any other antenna or transmitter.
This device complies with Part 15 of the FCC Rules. Operation is subject to the following two conditions:
- This device may not cause harmful interference, and
- This device must accept any interference received, including interference that may cause undesired operation.
























