Low Profile Gas Hob
Instruction Manual
C873G, C866G
& C848G
Contact Caple on 0117 938 7420 for spare parts or www.caple.co.uk
INTRODUCTION
Congratulations on the purchase of your new Caple hob.
We recommend that you spend some time reading this instruction manual in order to fully understand how to correctly install and operate your hob. For installation, please read the installation section. Read all the safety instructions carefully before using your hob and keep this instruction manual for future reference.
Please read this instruction manual carefully before installing and using the appliance.
This manual must be kept in easy reach of the appliance for future consultation. If this appliance is sold or transferred to another user, please give this manual to the new user so that they can learn how to use it correctly and be aware of the installation and using the appliance.
This manual must be kept in easy reach of the appliance for future consultation. If this appliance is sold or transferred to another user, please give this manual to the new user so that they can learn how to use it correctly and be aware of the various warnings.
This is a Class 3 appliance designed for home use.
SAFETY INSTRUCTIONS
Your safety is important to us. Please read this information before using your hob.
INSTALLATION
ELECTRICAL SHOCK HAZARD
- Disconnect the appliance from the mains electricity supply before carrying out any work or maintenance on it.
- Connection to a good earth wiring system is mandatory.
- Alterations to the domestic wiring system must only be made by a qualified electrician.
- Failure to follow this advice could be fatal or seriously injure the user.
IMPORTANT SAFETY INSTRUCTIONS
- Read these instructions carefully before installing or using this appliance.
- No combustible materials or products should be placed on this appliance at any time.
- Please make this information available to the person responsible for installing the appliance.
- In order to avoid a hazard, this appliance must be installed according to these instructions.
- This appliance is to be installed correctly and earthed only by a suitably qualified person.
- This appliance should be connected to a circuit that incorporates an isolating switch providing full disconnection from the power supply.
- Failure to install the appliance correctly could invalidate any warranty or liability claims.
OPERATION AND MAINTENANCE WARNINGS
ELECTRICAL SHOCK HAZARD
- Do not cook on a broken or cracked hob. If the hob surface should break or crack, switch the appliance off immediately at the main power supply (wall switch) and contact a qualified technician.
- Switch the hob off at the wall before cleaning or maintenance.
- Failure to follow this advice could be fatal or seriously injure the user.
HOT SURFACE HAZARD
- During use, accessible parts of this appliance will become hot enough to cause burns.
- Keep children away from appliances.
- Handles of saucepans may be hot to touch. Check saucepan handles do not overhang other cooking zones that are on.
Keep handles out of reach of children. - Failure to follow this advice could result in burns and scalds.
IMPORTANT SAFETY INSTRUCTIONS
- Never leave the appliance unattended when in use as pans may boil over which may result in smoking or grease spills that may ignite.
- Never use your appliance as a work or storage surface.
- Never use your appliance for warming or heating the room.
- Do not allow children to play, sit, stand, or climb on the appliance.
- Do not store children’s toys in cabinets above the appliance to avoid the risk of children climbing on the hob as this could result in serious injury.
- Do not leave children alone or unattended in the kitchen when the hob is in use.
- Persons with reduced physical, sensory or mental capabilities or lack of experience and knowledge must be supervised and given appropriate instruction concerning
the use of the appliance in a safe way and understand the hazards involved. - Do not repair or replace any part of the appliance unless specific instructions are detailed in the manual. All other servicing should be done by a qualified technician.
- Do not use a steam cleaner to clean the hob.
- Do not place or drop heavy objects on your hob.
- Do not stand on your hob.
- If the supply cord is damaged, it must be replaced by Caple service or similarly qualified persons in order to avoid a hazard.
- This appliance is intended to be used in household and similar applications such as:
• Staff kitchen areas in shops, offices, and other working environments.
• Farm Houses.
• By clients in hotels, motels, and other residential-type environments.
• Bed and breakfast type environments.
WARNING
- The appliance and its accessible parts become hot during use.
- Care should be taken to avoid touching heating elements.
- Children less than 8 years of age shall be kept away unless continuously supervised.
- This appliance can be used by children aged 8 years and above and persons with reduced physical, sensory or mental capabilities or lack of experience and knowledge if they have been given supervision or instruction concerning the use of the appliance in a safe way and understand the hazards involved.
- Children should not play with the appliance.
- Cleaning and user maintenance should not be carried out by children without supervision.
- Before carrying out maintenance or cleaning operations, disconnect the appliance from the power supply and allow it to cool.
- Unattended cooking on a hob with fat or oil can be dangerous and may result in fire. NEVER try to extinguish a fire with water, but switch off the appliance and then cover the flame e.g. with a lid or a fire blanket.
- The danger of fire: do not store items on cooking surfaces.
- Do not steam clean.
- The appliance is not intended to be operated by means of an external timer or separate remote control system.
- Ensure that the gas and electrical supply complies with the type stated on the rating label.
- Prior to installation, ensure that the local distribution conditions (nature of the gas and gas pressure) and the adjustment of the appliance are compatible.
- Before powering the appliance, ensure that it is properly adjusted for the type of gas available (see “installation”).
- It should be installed and connected in accordance with current installation regulations. Particular attention shall be given to the relevant requirements regarding ventilation.
- Ensure air is able to circulate around gas appliances.
Insufficient ventilation will lead to depletion of the oxygen in the air in the place of installation. - In case of intense or prolonged use of the appliance, it may be necessary to increase ventilation, for example by opening a window or increasing the power of extractor fans, if present.
- Combustion products must be expelled from the place of installation through an extractor hood or extractor fan (see “Installation”).
- For any replacements or alterations that may be required, contact Caple Service and use original spare parts only.
IMPORTANT:
The rating label, with the serial number, is affixed to the underside of the hob.
ENVIRONMENTAL PROTECTION
Waste electrical products should not be disposed of with household waste. Please recycle where facilities exist. Check with your Local Authority or retailer for recycling advice. This appliance is marked according to the European directive on Waste Electrical and Electronic Equipment (WEEE).
By ensuring this product is disposed of correctly, you will help prevent potential negative consequences for the environment and human health, which could otherwise be caused by inappropriate waste handling of this product. The symbol on the product indicates that this product may not be treated as household waste. Instead, it shall be handed over to the applicable collection point for the recycling of electrical and electronic equipment. Disposal must be carried out in accordance with local environmental regulations for waste disposal.
For more detailed information about the treatment, recovery, and recycling of this product, please contact your local council, your household waste disposal service, or the retailer where you purchased the product.
CE DECLARATIONS OF CONFORMITY
This appliance has been manufactured to the strictest standards and complies with all applicable legislation, Low Voltage Directive (LVD) and Electromagnetic Compatibility (EMC).
UKCA DECLARATIONS OF CONFORMITY
This appliance has been manufactured to the strictest standards and complies with all applicable legislation.
TECHNICAL FICHE
This appliance conforms to all current and applicable energy regulations. To view the Technical Fiche that supports the energy labeling data, please visit the product page on our website www.caple.co.uk
WARRANTY
Your new appliance is covered by a warranty. The warranty card is enclosed – if it is missing, you must provide the following information to your retailer in order to receive a replacement: date of purchase, model, and serial number. Registration can also be completed online by visiting www.caple.co.uk.
Ensure you keep your warranty card safe, you may need to show it to Caple Service together with proof of purchase.
If you fail to show your warranty card you will incur all repair charges. Spare parts are only available from Caple Service and spare parts authorized centers.
PRODUCT DESCRIPTION
| C 8 4 8 G | C886G | C873G |
![]() | ![]() | ![]() |
USING YOUR GAS HOB
ALL OPERATIONS CONCERNING INSTALLATION, ADJUSTMENT, AND ADAPTATION TO THE AVAILABLE GAS TYPE MUST BE CARRIED OUT BY A QUALIFIED TECHNICIAN, IN COMPLIANCE WITH STATUTORY LEGISLATION.
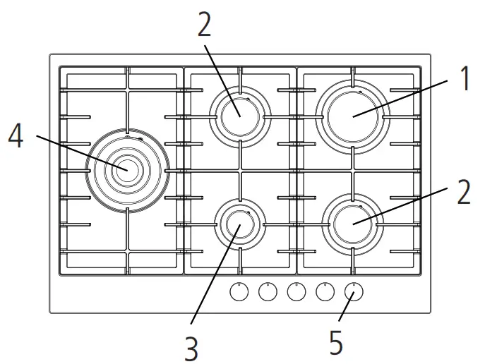
The symbols printed above each burner control show the correspondence between the control and the burne After connecting the appliance to the power supply, it will perform a routine and touch panel calibration (all displays and LEDs remain illuminated for seconds). When this procedure is completed the display will be blank.
START-UP WITHOUT VALVES
Turn the corresponding knob anticlockwise to the maximum position and press the knob.
AUTOMATIC START-UP WITH VALVES
- Turn the corresponding knob anticlockwise to the maximum position (Fig.1) and press the knob.
- Once the burner has been started up, keep the knob pressed for about 6 seconds.
USING THE BURNERS
- To obtain maximum efficiency without wasting gas, the pot diameter must be suitable in relation to the burner (see the following table), to avoid the flame extending beyond the bottom of the pan.

- Use the maximum capacity to quickly make liquids reach the boiling temperature, and the reduced capacity to heat food or maintain the boil. All of the operating positions must be chosen between the maximum and the minimum ones, never between the minimum position and the closing point.
- The gas supply can be interrupted by turning the knob clockwise up to the closing position. If there is no power supply, it is possible to light the burners with matches, setting the knob to the start-up point (maximum flame)
BURNERS POWER W Ø OF PAN Auxiliary 1000 10 – 14cm Semi-rapid 1750 16 – 18cm Rapid 3000 20 – 22cm Triple ring 3800 24 – 26cm
NOTE
- When the equipment is not working, always check that the knobs are in the closing position (see Fig.1).
- If the flame should blow out accidentally, the safety valve will automatically stop the gas supply, after a few seconds. To restore operation, set the knob to the lighting point (large flame, Fig.1) and press.
- Fat and oil can catch fire when overheated so use caution when cooking in fat or oil.
- Do not use sprays near the appliance when it is in operation.
- Do not place unstable or deformed pots on pan support: risk of overturning or spillage of contents.
- Make sure pot handles are positioned correctly.
- When the burner is lit, check that the flame is even and, before removing pots, always turn down the flame or switch off the burner.
CLEANING AND MAINTENANCE
Before cleaning, disconnect the appliance from the electricity supply. Do not clean the appliance with steam cleaners. The appliance should be cleaned only when it is cold.
ENAMELLED PARTS
- Remove food residues and grease spatter from the cooking surface using the special scraper (optional).
- The glass top must be washed with warm water without using abrasive powders or corrosive substances that could ruin them.
STAINLESS STEEL PARTS
- Stainless steel can be stained if it remains in contact with highly calcareous water or aggressive detergents for an extended period of time.
- The stainless steel parts should also be cleaned with soapy water and then dried with a soft cloth.
BURNERS AND PAN SUPPORTS
- These parts can be removed for easier cleaning.
- The burners must be washed with a sponge and soapy water or with a mild detergent, dried thoroughly, and placed in their seat perfectly.
- Make sure that the burner cap holes are not clogged.
- Ensure the safety valve probe and ignition electrode are always clean to ensure optimal operation.
GAS TAPS
The possible lubrication of the taps must be carried out by specialized personnel only. In case of hardening or malfunctions in the gas taps, contact Caple Service.
REPLACING THE POWER SUPPLY CABLE
Should it be necessary to replace the power supply cable, use a standard type H05VV-F or H05RR-F cable with a section of 3 x 0.75mm 2. the connection to the terminal board must be carried out as shown in the figure on the right:
| Green & Yello | Earth |
| Blue | Brown |
| Neutral | Live |
IMPORTANT:
To be carried out by qualified personnel only.
INSTALLATION
IMPORTANT NOTICE:
THE OPERATIONS INDICATED BELOW MUST BE CARRIED OUT BY QUALIFIED PERSONNEL ONLY, IN CONFORMITY WITH STATUTORY LEGISLATION.
THE MANUFACTURER DECLINES ALL LIABILITY FOR INJURY TO PERSONS OR ANIMALS OR DAMAGE TO PROPERTY DUE TO FAILURE TO COMPLY WITH THESE PRESCRIPTIONS.
INSTALLING THE HOB
The appliance is designed to be built into a heat-resistant kitchen unit.
Kitchen unit side walls must be able to withstand temperatures of up to 75°C higher than room temperature, in accordance with European regulations.
The appliance must not be installed near flammable materials, such as curtains, clothes, etc. Cut an opening in the top of the kitchen unit observing the dimensions shown in Fig.2, maintaining a distance of at least 50mm between the edge of the appliance and adjacent walls.

| MODEL | L(mm) | P(mm) |
| C848G/C866 | 560 | 480 |
| C873G | 820 | 480 |
If the hob is to be installed beneath a wall-mounted kitchen cabinet, ensure there is a minimum clearance of 700mm between the worktop and the underside of the cabinet.
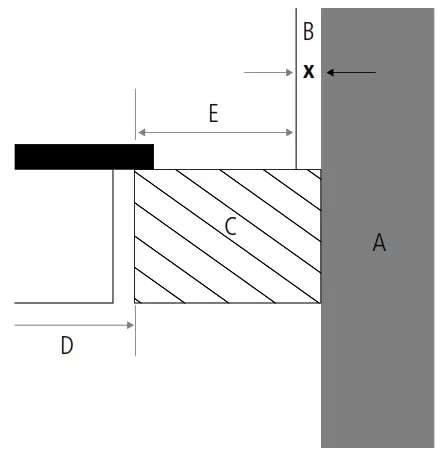
If cladding made from a combustible material (e.g. wood) is used on an adjacent wall, the minimum distance between the worktop cut-out and the cladding must be 50mm.
If cladding made from non-combustible materials (e.g. metal, natural stone) is installed on the back wall, the minimum distance between the cut-out and the cladding will be 50mm, less the thickness of the cladding.
For example: 10mm thick stainless-steel splash-back/cladding. 50mm – 10mm = minimum distance of 40mm

INSET INSTALLATION
A. Wall
B. Cladding Dimension ‘x’ = thickness of cladding material
C. Worktop
D. Worktop cut-out
E. Minimum distance to: Combustible materials 50mm Non-combustible materials 50mm – Dimension ‘x’
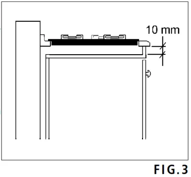
It is good practice to isolate the appliance from the cupboard below in the kitchen unit by means of a separator, leaving a good space of at least 10mm in depth. (Fig.3).

If the hob is installed over an oven, precautions must be taken to guarantee installation in accordance with current accident prevention standards. Pay particular Fig.3 attention to the position of the electric cable and gas supply hose, they must not touch any hot parts of the oven. Moreover, if the hob is installed over an oven without a forced cooling system, to ensure adequate ventilation air vents must be provided with a lower intake surface area of at least 200cm Fig.2and an upper outlet surface area of at least 60cm 2.
FIXING THE HOB
Each hob is supplied with a special gasket and a set of brackets to be used for securing it to the worktop.
TO INSTALL THE HOB PROCEED AS FOLLOWS:

› Remove the pan supports and burners from the hob.
› Turn the appliance upside down and fit the gasket (S) around the outer edge (Fig.4).
› Place the hob in the unit opening and fix it with screws (V) of brackets (G) (Fig.5).
INSTALLATION ENVIRONMENT
This appliance is not provided with a device for exhausting the products of combustion. Regarding room ventilation rules where an appliance is installed make reference to the legislation, ensuring conformity with the local regulations.
FOR THE U.K. ONLY
The room containing this hob should have an air supply in accordance with BS 5440: Part 2: 1989. All rooms require an openable window, or equivalent and some rooms will require a permanent vent as well.
> For room volumes up to 5m3 an air vent of 100cm2 is required.
> For room volumes between 5m3 and 10m3 an air vent of 50cm2 is required.
> If the room is greater than 5m3 and has a door that opens directly to the outside, then no air vent is required.
If there are other fuel-burning appliances in the same room BS 5440: Part 2:1989 should be consulted to determine the air vent requirements.
Your qualified gas installer must install this product in conformity with the most recent and up to date local regulations.
GAS CONNECTION

Make sure that the appliance is set up for the available gas type (see the label under the appliance). Follow the instructions indicated in “Gas conversion and adjustment” if the appliance must be adapted for use with different gas types.
The appliance must be connected to the gas supply by means of a rigid metal pipe, in compliance with standards in force, or a seamless flexible steel pipe in compliance with standards in force. Certain models are supplied with two unions: a cylindrical union (A) and a conical union (B). Choose the appropriate union according to the country of installation.
The weight of the connecting pipe must not be borne by the gas train.
Once installation is complete, apply a soapy solution to the seal to check that it is gas-tight.
ELECTRICAL CONNECTION
The appliance must be connected to the electrical mains by qualified personnel and in conformity with statutory legislation.
The voltage of the electric supply must correspond to the value indicated on the label affixed to the underside of the appliance. Make sure that the electric system has an efficient earth connection in compliance with regulations and legislation. This appliance must be earthed.
IMPORTANT:
If the household electrical system does not meet specifications or does not have an efficient earth connection, the appliance will not operate.
If the appliance is not fitted with a plug, connect a standard plug to the power cable. If the appliance is to be wired directly to the mains supply, a disconnect device must be interposed having a sufficient contact gap to allow complete isolation also in category III surge conditions, in accordance with installation regulations.
In case of a power failure, the appliance will not operate and the burners cannot be lit using matches or an external igniter.
However, the appliance can continue to operate correctly if the power cord is connected to an uninterrupted power supply. In this case, the operation is normal.
GAS CONVERSION AND ADJUSTMENTS
If the appliance is prearranged for a type of gas different from the available type, the burner nozzles must be changed and the control card must be set up with the parameters relative to a new configuration.
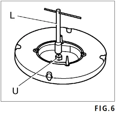
CHANGING THE NOZZLES:

Choose the required nozzles with reference to the following “Technical Specifications” table. Proceed as follows:
> Remove the pan stands and burners from the hob.
> Unscrew nozzles U (Fig.6) using a socket spanner (L), and replace them with the correct nozzle for the available gas type.
> Secure the nozzle without over-tightening.
ADJUSTING THE BURNERS

The lowest flame point must always be properly adjusted and the flame must remain on even if there is an abrupt shift from the maximum to the minimum position. If this is not so, it is necessary to adjust the lowest flame point as follows:
> Start the burner up.
> Turn the knob to the minimum position (small flame).
> Remove the knob from the tap rod.
> Introduce a flat-tip screwdriver in the hole F of the tap (Fig.7) and turn the by-pass screw up to a proper adjustment of the lowest flame point.
TECHNICAL SPECIFICATION
| BURNERS | GAS | NORMAL PRESSURE mbar | NORMALRATE | INJECTOR DIAMETER 1/100 mm | TAPE BY PASS DIAMETER 1/100 mm | NOMINAL HEAT INPUT (W) | |||
| N | Designation | g/h | L/h | Max. | Min. | ||||
| 1 | RAPID | G30 – G31 G20 | 28 – 30 / 37 20 | 218 – | – 286 | 85 115Y | 42 Reg. | 3000 3000 | 950 950 |
| 2 | SEMI-RAPID | G30 – G31 G20 | 28 – 30 / 37 20 | 127 – | – 167 | 65 97Z | 31 Reg. | 1750 1750 | 600 600 |
| 3 | AUXILIARY | G30 – G31 G20 | 28 – 30 / 37 20 | 73 – | – 95 | 50 72X | 27 Reg. | 1000 1000 | 450 450 |
| 4 | TRIPLE RING | G30 – G31 G20 | 28 – 30 / 37 20 | 277 – | – 362 | 98 135K | 60 Reg. | 3800 3800 | 2100 2100 |

Caple Service
Fourth Way
Avonmouth T: 0117 938 1900
Bristol E: [email protected]
BS11 8DW www.caple.co.uk























