
INSTALLATION & OPERATING INSTRUCTIONS
GAS HOBS
MODELS
OG30XA, OG60XA, OG60WA, OG61XA, OG61WA, OG62XA, OG63XA, OG64XA, OG65XA, OG66XA, OG67XA, OG70XA, OG71XA, OG72XA, OG90XA, OG91XA, OG92XA, OGG64A, OGG75A, OGG96A
Thank you for choosing our product.
We advise you to read this manual carefully. It contains all the necessary instructions for maintaining the appearance and functional qualities of the hob.
INSTRUCTIONS FOR THE INSTALLER: these are for the Authorised Person who must carry out a suitable check of the gas system, install the appliance, set it functioning, and carry out an inspection test (commissioning the appliance).
INSTRUCTIONS FOR THE USER: these contain user advice, description of the commands, and the correct procedures for cleaning and maintenance of the appliance.
INTRODUCTION
INSTRUCTIONS FOR SAFE AND PROPER USE
This manual is an integral part of the appliance and therefore MUST be kept in its entirety and in an accessible place for the whole working life of the cooking hob. We advise reading this manual and all the instructions therein before using the cooking hob.
Also, keep the series of nozzles (injectors) supplied.
Installation MUST be carried out by an AUTHORISED PERSON in accordance with the Regulation in force.
This appliance is intended for DOMESTIC use and conforms to current Regulation in force.
This appliance has been built to carry out the following function: Cooking and Heating-up of food.
All other uses are considered improper.
The Manufacturer declines all responsibility for improper use.
DO NOT leave the packing in the home environment.
Separate the various waste materials and take them to the nearest special garbage collection center.
Immediately after installation, carry out a brief inspection set of the cooking hob, following the instruction below.
Should the appliance not function, disconnect it from the supply and call the nearest technical assistance center.
NEVER ATTEMPT TO REPAIR THE APPLIANCE.
Always check that the control knobs are in the position “ZERO” (OFF) when you finish using the hob.
The identification plate, with technical data, serial number, and marking is clearly visible under the casing.
THE PLATE ON THE CASING MUST NOT BE REMOVED.
Before connecting the device, make sure that it has been regulated for the type of gas that will feed it, checking the labeling under the casing.
DO NOT PUT pans without perfectly smooth and flat bottoms on the cooking hob grids.
DO NOT USE kitchenware or griddle plates that extend beyond the external perimeter of the hob.
THE HOB IS TO BE USED BY ADULTS ONLY. Do not let unsupervised children play with the hob.
Replaced appliances MUST be taken to a special garbage collection centre.
This appliance is designed for cooking food and it SHALL NOT BE USED AS A SPACE HEATER.
“WHERE THIS APPLIANCE IS INSTALLED IN MARINE CRAFT OR IN CARA VANS, IT SHALL NOT BE USED AS A SPACE HEATER.
DO NOT spray aerosols in the vicinity of this appliance while it is in operation.
The Manufacturer declines all responsibility for damage to persons or things caused by non-observance of the above prescriptions or by interference with any part of the above prescriptions or by interference with any part of the appliance or by the use of non-original-spares.
This appliance MUST be installed in accordance with the manufacturers’ installation instructions, uniform building regulations, local gas authority codes, and electrical writing regulations.
The appliance is to be installed only by an AUTHORISED PERSON.
MARKINGS: include the following:
(i) Gas Type Label: fixed to the underside of the appliance.
(ii) Data plate: fixed to the underside of the appliance stating Model Number, AGA or SAI-GLOBAL Approval Number, Gas operating pressure, Nominal Gas Consumption, etc.
(iii) AGA or SAI-GLOBAL label fixed to the underside: showing that the appliance conforms to the Standards.
INSTALLATION INSTRUCTIONS:
Refer to the Data Plate on the underside of the appliance for information on gas consumption, injector sizes, etc.
Refer to Figure 5 for dimension information and cut-out size for bench tops.
This hotplate is suitable for installation with Natural Gas or ULPG.
Refer to data plate on appliance for relevant burner pressure and appropriate injector sizes. When the appliance is to be connected to NG, then the pressure regulator supplied MUST be fitted to the gas inlet. A pressure test point (for checking the gas pressure) is supplied either with the regulator or as a separate fitting for ULPG.
Connection of the appliance to the gas supply MUST be in accordance with the requirements of AS 5601. A ½”BSP connector at the inlet is recommended and the gas supply line to the appliance must be of adequate length to allow sufficient withdrawal of the appliance for service or disconnection and be:
a) annealed copper pipe, or;
b) a hose assembly complying with the requirements of AS1869, Class ‘B’, 1Omm diameter, maximum length 1OOOmm.
When the installation is completed, the hotplate will require to be leak tested and the burner operating pressure and flame checked and adjusted accordingly. The duplicate data plate should be attached to an area adjacent to the appliance eg. In a cupboard which is accessible for reading the appliance details.
Natural gas: The regulator supplied MUST be fitted to the ½” thread on the elbow at the rear of the hot plate. The NG regulator MUST be checked and adjusted to 1.0k Pa after installation.
ULPG: Can be connected directly with the inlet fitting. The pressure MUST be checked to ensure the supply to the appliance is operating at 2.75kPa.
Clearance Above and Around Domestic Cookers:
- 200mm from the edge of the burner to combustible materials on vertical sides of the appliance.
- 650mm to the underside of the overhead cupboards, shelving, and exhaust fans. Refer Figure2.
POSITIONING:
The appliance can be fitted into a working area as illustrated on the corresponding figure (Fig. 1)
Apply the seal provided over the whole of the area perimeter.

FIGURE 1.
FIGURE 2.
Clearance above and around domestic cookers Extract from AS5601
- Overhead clearances – (Measurement A) Range hoods and exhaust fans shall be installed in accordance with the manufacturer’s instructions. However, in no case shall the clearance between the highest part of the hob of the cooking appliance and a range hood be less than 600mm or, for an overhead exhaust fan, 650mm.
Any other downward-facing combustible surface less than 600mm above the highest part of the hob shall be protected for the full width and depth of the cooking surface area in accordance with Clause 5.12.1.2. However, in no case shall this clearance to any surface be less than 450mm. - Side clearances – (Measurements B & C) Where B, measured from the periphery of the nearest burner to any vertical combustible surface, is less than 200mm, the surface shall be protected in accordance with Clause 5.12.1.2. to a height C of not less than 150mm above the hob for the full dimension (width or depth) of the cooking surface area. Where the cooking appliance is fitted with a ‘splashback’, protection of the rear wall is not required.
- Additional requirements for Freestanding and Elevated Cooking Appliances – (Measurement D & E) Where D, the distance from the periphery of the nearest burner to a horizontal combustible surface is less than 200mm, then E shall be 10mm or more, or the horizontal surface shall be above the trivet. See insets above.
NOTES
- Requirement 3 does not apply to a freestanding or elevated cooking appliance which is designed to prevent flames or the cooking vessels from ex tending beyond the periphery of the appliance.
- The ‘cooking surface area’ is defined as that part of the appliance where cooking normally takes place and does not include those parts of the appliance containing control knobs.
- For definition of hob, see Clause 1.4.64.
- For definition of trivet, see Clause 1.4.109
- Consideration is to be given to window treatments when located near cooking appliances. See Clause 5.3.4.
GAS CONNECTION
This appliances is suitable for installation with Natural Gas or ULPG Refer to page 11 for the relevant burner pressure and appropriate injector sizes. When the appliance is to be connected to Natural Gas then the pressure regulator supplied must be fitted to the gas inlet. A test point (for checking the gas pressure) is supplied either with the regulator or as a separate fitting in the case of ULPG appliances.
Connection of the appliance to the gas supply must be in accordance with the requirements of AS5601. A ½” BSP connector at the inlet is recommended and the gas supply line to the appliance must be of adequate length to allow sufficient withdrawal of appliance for service or disconnection and be:
a) annealed copper pipe; or
b) a hose assembly complying with the requirements of AS1869 – Class B, 1Omm diameter, maximum length 1OOOmm.
The appliance must be installed with provision to allow the gas to be turned off and disconnected for servicing and removal of the appliance as required from the gas supply.
Before the appliance is operated make certain all relevant parts are placed in the correct position.
When the installation is completed the installation connections of appliance will require to be leak tested, the burner operating pressure and flame checked and adjusted. Warranty service calls do not cover these adjustments!
To check the operating pressure of the appliance it is recommended at last 2 large size burners are used. Ensure appliance is secured to wall when installation is completed.
N.G. The regulator supplied must be fitted to the ½” BSP thread at the rear of the appliance. An approved manual shut-off valve must be installed. The N.G. regulator must be checked and adjusted to 1.0kPa after installation.

ULPG Can be connected to the inlet fitting directly. The pressure must be checked to ensure it is operating at 2.75kPa. A separate test point fitting must be installed between the piping & the appliance for the pressure to be checked to ensure it is operating at 2.75kPa.
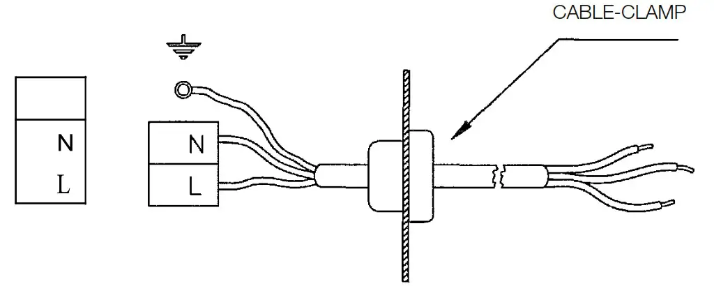
ELECTRICAL CONNECTION
Any electrical writing MUST be carried in compliance with the local electrical authority regulations by a qualified electrician.
The appliance has a 3 pin plug attached, to be plugged .into a 240Volt, 50HZ, single-phase outlet.
WARNING -ALL APPLIANCES MUST BE EARTHED:
Omega Appliances cannot accept responsibility for any damage to persons or to property arising from faulty connection or non-connection to earth. Before connecting, installing or servicing the hob, the plug should be removed from the power outlet.
Fig. 3
| 60cm | 70cm | 90cm |
| A-30mm | A-30mm | A-30mm |
| B – 70mm | B-25mm | B -310mm |
| C – 30mm | C-35mm | C-40mm |
| D – 55mm | D-50mm | D-50mm |
| E – 580mm | E-720mm | E – 860mm |
| F – 510mm | F – 522mm | F – 510mm |

Overall dimensions: location of gas and electrical connection points (all measurements in mm).
CHANGING GAS INJECTORS-CONVERSI ON OF GAS TYPE
Your cooktop has been manufactured for operation on the gas type marked on the hob/carton.
In some cases, it may be necessary to convert to convert the burners for use with another type of gas.
- Replacement injectors are supplied with the appliance or they are available from Omega Appliances or it’s agents.
- All such work MUST be carried out by an Authorized Person.
- Isolate the electrical supply from the appliance.
- Remove burner cap and burner skirt.
- Remove injectors – figure 4 (use a 7mm tube spanner). Replace in or der with new injectors (make sure the correct size injectors are used). See data on underside of hob for size or refer to page 10 for chart.
- The regulator is required to be fitted and adjusted for Natural Gas and removed for ULPG.
- Re-assemble, test for leak with a soapy solution (bubbles), and reconnect power.
Low Flame Adjustment
- Ignite the burners
- Remove the knobs, because the screws are accessible down the shaft of the gas valve.
- Using a small screwdriver (2mm), adjust the by-pass screw (Fig.5) until the flame of the burner comes down to the minimum.
When the flame has a length of at least 4mm, the gas is well Distributed.
Make sure that the flame does not go out when passing from the maximum Position.
FIGURE 4 & 5
Gas Type; Natural Gas
| Burner | Injector size mm | MJ/h – NG (1.00 kPa) |
| Small | 0.9 | 3.6 |
| Medium | 1.15 | 6.3 |
| Large | 1.55 | 10.8 |
| Wok | 1.75 | 13.2 |
| Fish | 1.55 | 10.8 |
ULPG
| Burner | Injector size mm | MJ/h – NG (2.75 kPa) |
| Small | 0.55 | 4 |
| Medium | 0.66 | 6.3 |
| Large | 0.85 | 10.2 |
| Wok | 0.98 | 12.6 |
| Fish | 0.85 | 10.2 |
MAINTENANCE AND CARE:
This appliance is not intended for use by persons (including children) with reduced physical, sensory or mental capabilities, or lack of experience or knowledge unless they have been given supervision or instruction concerning the use of the appliance by a person responsible for their safety. Children should be supervised to ensure that they do not play with the appliance.
IMPORTANT! Before cleaning, ensure all control knobs are in the “OFF” position and the appliance has cooled completely.
Before any maintenance can be carried out, you MUST disconnect the appliance from the electricity supply.
CLEANING MATERIALS
Before using ANY cleaning materials on your hob, check that they are suitable and that they use is recommended by the manufacturer.
IMPORTANT!DO NOT use caustic pastes, creams or spray, ammonia cleaners, abrasive cleaning powders or pastes, coarse wire wool/scourers, or ANY hard implements, as they will damage the surfaces.
DO NOT use a Steam Cleaner.
DO NOT use ammonia Based Cleaners.
Always keep the hob dry.



















