ViewSonic PS501W Lumens WXGA Education Projector User Guide
Package Content

Inductions



- Screws: M4 x 8 (Max. L = 8 mm)Unit: mm

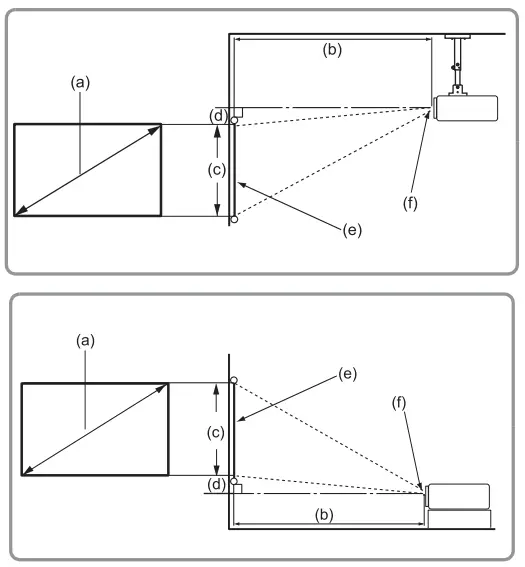
- 16:10 image on a 16:10 screen

- 16:10 image on a 4:3 screen

(e): Screen (f): Center of lens
(a) Screen | 16:10 image on a 16:10 Screen | 16:10 image on a 4.3 Screen | |||||||||||
| (b) Projection distance [m (inch)] | (c) Image height [cm (inch)] | (d) Vertical offset [cm (inch)] | (b) Projection distance [m (inch)] | (c) Image height [cm (inch)] | (d) Vertical | ||||||||
| 40 | (1.0) | 0.42 | (17) | 54 | (21) | 2.7 | (1.1) | 0.40 | (16) | 51 | (20) | 2.5 | (1.0) |
| 50 | (1.3) | 0.53 | (21) | 67 | (26) | 3.4 | (1.3) | 0.50 | (20) | 64 | (25) | 3.2 | (1.3) |
| 60 | (1.5) | 0.63 | (25) | 81 | (32) | 4.0 | (1.6) | 0.60 | (23) | 76 | (30) | 3.8 | (1.5) |
| 70 | (1.8) | 0.74 | (29) | 94 | (37) | 4.7 | (1.9) | 0.70 | (27) | 89 | (35) | 4.4 | (1.8) |
| 80 | (2.0) | 0.84 | (33) | 108 | (42) | 5.4 | (2.1) | 0.79 | (31) | 102 | (40) | 5.1 | (2.0) |
| 90 | (2.3) | 0.95 | (37) | 121 | (48) | 6.1 | (2.4) | 0.89 | (35) | 114 | (45) | 5.7 | (2.3) |
| 100 | (2.5) | 1.05 | (41) | 135 | (53) | 6.7 | (2.6) | 0.99 | (39) | 127 | (50) | 6.4 | (2.5) |
| 120 | (3.0) | 1.26 | (50) | 162 | (64) | 8.1 | (3.2) | 1.19 | (47) | 152 | (60) | 7.6 | (3.0) |
| 150 | (3.8) | 1.58 | (62) | 202 | (79) | 10.1 | (4.0) | 1.49 | (59) | 191 | (75) | 9.5 | (3.8) |
| 200 | (5.1) | 2.11 | (83) | 269 | (106) | 13.5 | (5.3) | 1.99 | (78) | 254 | (100) | 12.7 | (5.0) |
| 250 | (6.4) | 2.63 | (104) | 337 | (132) | 16.8 | (6.6) | 2.48 | (98) | 318 | (125) | 15.9 | (6.3) |
| 300 | (7.6) | 3.16 | (124) | 404 | (159) | 20.2 | (7.9) | 2.98 | (117) | 381 | (150) | 19.1 | (7.5) |
There is 3% tolerance among these numbers due to optical component variations. It is recommended that if you intend to permanently install the projector, you should physically test the projection size and distance using the actual projector in situ before you permanently install it, so as to make allowance for this projector’s optical characteristics. This will help you determine the exact mounting position so that it best suits your installation location.
FCC Compliance Statement
This device complies with part 15 of FCC Rules. Operation is subject to the following two conditions: (1) this device may not cause harmful interference, and (2) this device must accept any interference received, including interference that may cause undesired operation.
Industry Canada ICES-003 Compliance: CAN ICES-003(B) / NMB-003(B) CE Conformity for European Countries
The device complies with the EMC Directive 2014/30/EU, Low Voltage Directive 2014/35/EU, Ecodesign Directive 2009/125/EC. The full Declaration of Conformity can be found at the following website: https://www.viewsonicglobal.com/public/products_download/safety_complince/projector/VS17261_CE_DOC.pdf
Declaration of RoHS2 Compliance
This product has been designed and manufactured in compliance with Directive 2011/65/EU of the European Parliament and the Council on restriction of the use of certain hazardous substances in electrical and electronic equipment (RoHS2 Directive) and is deemed to comply with the maximum concentration values issued by the European Technical Adaptation Committee (TAC).
Support
Download Link: http://vsweb.us/q/dn.php
![]()
References
ViewSonic - Home
vsweb.us/q/dn.php
优派中国 ViewSonic China | ViewBoard, LED LCD 液晶显示器, 投影机, 数位看板, 互动白板
ViewSonic Australia | ViewBoards, Monitors, and Visual Solutions
ViewSonic Bangladesh | ViewBoards, Monitors, and Visual Solutions
ViewSonic Germany | ViewBoards, Monitors, and Visual Solutions
ViewSonic Spain | ViewBoards, Monitors, and Visual Solutions
ViewSonic Europe | ViewBoards, Monitors, and Visual Solutions
Solution ViewBoard, Écrans PC, Vidéoprojecteurs | ViewSonic
ViewSonic Hong Kong | ViewBoards, Monitors, and Visual Solutions
ViewSonic Hong Kong | ViewBoards, Monitors, and Visual Solutions
ViewSonic Indonesia | ViewBoards, Monitors, and Visual Solutions
ViewSonic Israel | ViewBoards, Monitors, and Visual Solutions
ViewSonic India | Gaming Monitors, Projectors & ViewBoards
ビューソニックジャパン
뷰소닉 코리아 | 프로젝터, LCD 모니터, 디지털사이니지, 전자칠판등의 미국디스플레이 전문 기업
ViewSonic Kazakhstan | ViewBoards, Monitors, and Visual Solutions
ViewSonic
ViewSonic Middle East | ViewBoards, Monitors, and Visual Solutions
ViewSonic Myanmar | ViewBoards, Monitors, and Visual Solutions
Projectors, Monitors & Visual Solutions | ViewSonic MY
ViewSonic Nepal | ViewBoards, Monitors, and Visual Solutions
ViewSonic New Zealand | ViewBoards, Monitors, and Visual Solutions
ViewSonic Philippines | ViewBoards, Monitors, and Visual Solutions
ViewSonic Pakistan | ViewBoards, Monitors, and Visual Solutions
ViewSonic Russia | ViewBoards, Monitors, and Visual Solutions
Projector, 4K Monitor & Digital Signage | ViewSonic SG
ViewSonic Thailand | ViewBoards, Monitors, and Visual Solutions
ViewSonic Turkey | ViewBoards, Monitors, and Visual Solutions
ViewSonic Taiwan | ViewBoards, Monitors, and Visual Solutions
ViewSonic Ukraine | ViewBoards, Monitors, and Visual Solutions
ViewSonic UK | ViewBoards, Monitors, and Visual Solutions
ViewSonic
Trang chủ - ViewSonic Việt Nam | Website Chính Thức
ViewSonic South Africa | ViewBoards, Monitors, and Visual Solutions























