LG MVEM1825 Microwave Oven Instruction Manual
IMPORTANT SAFETY INSTRUCTIONS
READ ALL INSTRUCTIONS BEFORE USE
Safety Messages
Your safety and the safety of others are very important.
We have provided many important safety messages in this manual and on your appliance. Always read and follow all safety messages.
This is the safety alert symbol.
This symbol alerts you to potential hazards that can kill or injure you and others. All safety messages will follow the safety alert symbol and either the word WARNING or CAUTION. These words mean:
WARNING
You may be killed or seriously injured if you do not follow instructions.
CAUTION
You may be injured or cause damage to the product if you do not follow instructions.
All safety messages will tell you what the potential hazard is, tell you how to reduce the chance of injury, and tell you what may happen if the instructions are not followed.
WARNING
- To reduce the risk of explosion, fire, death, electric shock, injury or scalding to persons when using this product, follow basic precautions, including the following:
Installation
- This appliance should not be installed by anyone except properly qualified service personnel.
- You will need two people to install this appliance. It is heavy and could cause personal injury if not handled properly.
- Avoid Electric Shock.
Before you drill into the wall, note where electrical outlets are and where electrical wires might be concealed behind the wall. You could get an electric shock if you contact electrical wires with your drill bit.
Locate and disconnect the power to any electrical circuits that could be affected by installing this appliance. If you do not disconnect the power, you could get an electric shock. - This appliance must be grounded.
If there is an electrical short circuit, grounding reduces the risk of electric shock by providing an escape wire for the electric current. This appliance is equipped with a cord which includes a grounding wire with a grounding plug. - Place the plug into a properly installed and grounded outlet.

- Three-pronged (grounding) plug
- Properly polarized and grounded outlet.
- Do not use an extension cord.
- Keep the power cord dry and do not pinch or crush it. Failure to follow this instruction may cause a fire hazard.
- Do not, under any circumstances, remove the power supply cord grounding prong.
- If you use the grounding plug improperly, you risk electric shock and/or fire.
Check with a qualified electrician if you are not sure whether the oven is properly grounded or if you do not completely understand the grounding instructions. - Do not use a fuse in the neutral or grounding circuit.
- Improper grounding could result in electric shock, fire or other personal injury.
Operation
- If you do not use the microwave oven as instructed, you could be exposed to excessive microwave energy.
- Do not try to operate the microwave oven with the door open.
- Do not tamper with or defeat the safety interlocks.
- Do not place objects between the microwave oven front face and the door.
- Do not allow soil or cleaner residue to build up on the flat surfaces around the microwave oven door.
- Do not operate the microwave oven if it is damaged.
- The microwave oven door must close properly to operate safely.
- Do not use the microwave oven:
- If the door is bent.
- If the hinges or latches are broken or loose.
- If the door seals, sealing surfaces or glass is broken.
- Do not attempt to adjust or repair the oven yourself. It should be adjusted and repaired by a qualified technician who can check for microwave leakage after repairing the oven.
INSTALLATION
Before Installing
Before You Start
Be sure to read the following safety instructions
Read the entire manual before you begin. The model number plate 1 is located on the oven front.
The mounting plate 2 is located in the upper packing material.
NOTE
- Vent grille appearance varies by model.
Make sure you have enough space and support.
- Mount the oven against a flat, vertical wall, so it is supported by the wall. The wall should be constructed of minimum 2″ x 4″ wood studding and 3/8″ thick drywall or plaster/lath.
- Attach the two lag screws supporting the oven to a vertical, 2″ x 4″ wall stud.
- Do not mount the microwave oven to an island or peninsula cabinet.
- Be sure the upper cabinet and rear wall structures can support 150 lbs., plus the weight of any items you place inside the oven or upper cabinet.
- Locate the oven away from areas with strong drafts, such as windows, doors, and strong heating vents.
- Be sure you have enough space (minimum vertical and horizontal clearance).

- Maximum 13″: cabinet depth
- Minimum 30″: cabinet opening width
- Minimum 30″: clearance from bottom of cabinet to cooking surface or countertop before installation. (Use templates included with installation instructions.)
- Grounded Outlet (inside upper cabinet)
- Power Supply Cord Hole
WARNING
- If you do not mount the oven as instructed, you risk personal injury and/or property damage.
- If your range has cooktop controls in the front, unplug the range before covering the cooktop to prevent risk of fire and damage if the knobs are accidentally activated while installing the OTR.
- The product is heavy. Use at least 2 people when lifting or installing the appliance to avoid injury or product damage.
CAUTION
- Before you begin installing the oven, place a piece of the carton or other heavy material (a blanket) over the countertop or cooktop to protect it. Do not use a plastic cover. Failure to protect these surfaces could result in property damage.
Parts
Included Parts
NOTE
- Depending on your ventilation requirements, you may not use all of these parts.

- Power cord clamp bushing (1ea): for the cord hole in a metal upper cabinet
- 1/4″ x 2″ lag screw (2ea): for wall stud holes
- 1/4″ x 3″ toggle bolts (2ea): for drywall holes Spring toggle heads (2ea): for the toggle bolts
- 1/4″ x 3″ bolts (2ea): for securing to the upper cabinet
- Tapping screws (2ea): for attaching the damper duct connector
- Power cord clamp (1ea) and dark-colored mounting screw (1ea): to hold the power cord
- Mounting plate (1ea): for supporting the microwave oven
- Back-draft damper: 2 pieces must be assembled as shown. (for roof venting or wall venting installation, not for room venting installation)
- Upper cabinet template (1ea)
- Rear wall template (1ea): 1 piece mounting plate only.
NOTE
- You need to install at least one lag screw into a 2″ x 4″ stud and three anchor bolts into the wall. The mounting area must meet the 150 lb. weight requirement.
Tools and Materials
You will need the following tools and materials for the installation:
- Phillips screwdriver (for the screws)
- Flat blade screwdriver (for the toggle bolts)
- Small side cutters (nipper) or tin snips
- Measuring tape (metal preferred)
- Stud finder
- Plumb line
- Pencil
- Clear tape (for taping the templates to the wall)
- Saber saw (for cutting vent holes for roof or wall venting)
- Electric drill
- 3/8″ and 3/4″ wood drill bits
- 1/2″ and 3/16″ drill bits
- Keyhole saw (for the power cord hole)
- Duct tape
- Caulking gun and caulk
- Gloves
NOTE
- If you have brick or masonry walls, you will need special hardware and tools.
- The ductwork you need for the installation is not included. All wall and roof caps must have a back-draft damper (shown in Parts section).
- Wear proper gloves to protect your hands from injury
Installing the Microwave Oven
Step 1: Prepare the Electrical Connection
- Locate the grounded electrical outlet 2 for this oven in the upper cabinet 1.
NOTE- The outlet should be on a circuit dedicated to the microwave oven (120V, 60 Hz., AC only) with a 15 or 20 A fused electrical supply.
- Important: If you do not have the proper wall outlet, you MUST have one installed by a qualified electrician.
- You will cut the hole 3 for the power supply cord later when you prepare the wall and upper cabinet in Step 4.
NOTE- Do not use an extension cord. Keep the power cord dry and do not pinch or crush it.

- Do not use an extension cord. Keep the power cord dry and do not pinch or crush it.
WARNING
- Avoid electric shock. This appliance must be grounded.
- Improper grounding could result in electric shock or other personal injury.
Do not, under any circumstances, remove the power supply cord grounding prong.
Step 2: Prepare the Venting System
WARNING
- This oven must be properly vented
You may vent your ductwork in one of three ways. Do not vent into a wall cavity, an attic, or an unused area.
Room Venting
The oven is located on an inside wall of your house
- Cabinet
- Oven
Wall Venting
The oven is located on an outside wall of your house: 3 1/4″ x 10″ duct 3 or minimum 6″ diameter round duct 6.
- Cabinet
- Oven
- 3 1/4″ x 10″ duct
- Wall cap
- Elbow
- Minimum 6″ diameter round duct
- 3 1/4″ x 10″ to 6″ round duct transition
Roof Venting
The oven is located on an outside wall near the roof: 3 1/4″ x 10″ duct 4 or minimum 6″ diameter round duct 5.
- Cabinet
- Oven
- Roof Cap
- 3 1/4″ x 10″ duct
- Minimum 6″ diameter round duct
- 3 1/4″ x 10″ to 6″ round duct transition
NOTE
- If you choose the rear exhaust method (wall venting or roof venting), be sure there is enough clearance within the wall for the exhaust duct.
When Installing Venting
- Keep the length of the ductwork and the number of elbows to a minimum to ventilate your oven efficiently. See examples in next section.
- Keep the size of the ductwork the same.
- Do not install two elbows together.
- Use duct tape to seal all joints in the duct system.
- Use caulking to seal the exterior wall or roof opening around the cap.
- After installation, check the outside hood opening and operation.
- For the outside hood opening and size refer to the upper cabinet template or rear wall template.
NOTE
- The ductwork you need for outside ventilation is not included with your oven. See the standard ductwork fittings.
Standard Ductwork Fittings
If the existing duct is round, you must use a rectangular-to-round adapter, with a rectangular 3″ extension duct installed between the damper assembly and the adapter to prevent the exhaust damper from sticking.
Duct Length
The total length of the duct system, including straight duct, elbows, transitions, and wall or roof caps must not exceed 140 feet.
For best performance, do not use more than three 90 degree elbows, and keep the length as short as possible.
Below are the standard fittings and their equivalent length in feet.
![]() | 3 1/4″ x 10″ to 6″ transition = 5 ft |
![]() | 3 1/4″ x 10″ roof cap = 24 ft |
![]() | 3 1/4″ x 10″ 90° elbow = 25 ft |
![]() | 90° elbow = 10 ft |
![]() | 3 1/4″ x 10″ wall cap = 40 ft |
![]() | 45° elbow = 5 ft |
| 3 1/4″ x 10″ flat elbow = 10 ft |
To calculate the equivalent length of each duct piece used, see the examples below.
For 3 1/4″ x 10″ systems
1/4″ x 10″ 90° elbow a (1ea)= 25 ft
Wall cap b(1ea)= 40 ft
Straight duct (8 ft)= 8 ft
Total length= 73 ft
For 6″ round systems
Transition (1ea)= 5 ft
90°elbows b (2ea)= 20 ft
Wall cap c (1ea)= 40 ft
Straight duct (8 ft)= 8 ft
Total length= 73 ft
Step 3: Prepare the Venting Blower
Your microwave oven is shipped with the blower assembled for room venting. You need to adjust the blower if you want wall-venting or roof-venting installation.
WARNING
- Electric shock hazard! Unplug unit before working on it.
- Do not pull or stretch the blower wiring. Pulling and stretching the blower wiring could result in electric shock.
- To avoid risk of property damage, unplug the microwave oven or disconnect the power at the source by removing the fuse or throwing the circuit breaker.
- To avoid risk of personal injury, wear protective gloves when handling the mounting plate.
Installation
- Remove any shipping materials and parts from inside the microwave oven. Set them aside for later use.
- Cover the countertop or cooktop with a thick, protective covering to protect it from damage and dirt.

1 Blanket, cardboard or other covering.
NOTE
If you have a free-standing range, disconnect it, move it onto a piece of cardboard or hardboard and pull it away from the wall, so that you can get closer to the upper cabinet and back wall for easier measuring and drilling. - Locate the exhaust adapter, grease filters and hardware packet.
- At this point, remove any adhesive tape (if there is any), on the exhaust adapter, the grease filters and the power supply cord.
Room-Venting (Recirculating) Installation
This oven is shipped assembled for room-venting.
Wall-Venting Installation
- Remove one or several blower plate mounting screw(s) 1 and one or two blower unit mounting screw(s) 6. Remove the blower plate 4 from the cabinet.

2 Blower unit
3 Knockouts
5 Back plate - Carefully lift the blower unit out of the microwave oven.

- Use side cutters or tin snips to cut out and remove the knockouts 2 from the back plate 1. Be careful not to distort the back plate. Discard the knockouts.

- To avoid pinching the blower wire, make sure that it is channeled underneath and between the two exhaust ports when they are rotated.

- Rotate and reinstall the blower unit 1 so that the exhaust ports 2 face the rear of the cabinet and are aligned with the rear knockouts. When you insert the blower unit, the blower wire 3 must be routed as shown.

- Attach the blower plate 4 to the microwave oven so the blower unit exhaust ports 3 and blower plate opening are aligned. Attach one or two blower unit mounting screw(s) 6 and then one or several blower plate mounting screw(s) 1.

2 Blower unit
5 Back plate - Insert the tabs on each side of the damper into the holes at the inside rear of the adapter. Attach the exhaust adapter 1 to the back plate wall side. Push in securely until it is past the top locking tabs 3 and in the lower locking tabs 3. Make sure that the damper hinge is at the top and that the damper swings freely.

2 Damper (hinge side up)
3 Guides
5 Slide exhaust adapter into guides on rear panel.
Roof-Venting Installation
- Follow steps 1 and 2 under Wall-Venting Installation.
- Rotate and reinstall the blower unit 1 so that the exhaust ports 2 face the top of the cabinet. When you insert the blower unit, the blower wire 3 must be routed as shown.

- Attach blower plate 4 to microwave oven. Attach the one or two blower unit mounting screw(s) 6 and then the one or several blower plate mounting screw(s) 1.

2 Blower unit
3 Knockouts
5 Back plate - Insert the tabs on each side of the damper into the holes at the inside rear of the adapter. Attach the exhaust adapter 1 to the blower plate 2 with the two tapping screws provided. Make sure that the damper 3 swings freely.

WARNING
Fire hazard! Correctly install the vent fan before use.
When changing the vent fan position for wall venting or roof venting:
- Properly align the ventilation fan openings and blower plate knockouts.
- Ventilation fan openings should be completely exposed to the outside.
- After installation, check the air ventilation path. Refer to step 2 for proper vent selection.
Improper installation can cause problems such as:
- Inability to assemble the blower plate or ventilation motor correctly
- Abnormal noise during product operation
- Weak ventilation
- Product overheating and the possibility of product breakdown or fire.
Step 4: Prepare the Wall and Upper Cabinet
WARNING
To avoid personal injury or property damage, do not attempt to install this microwave oven if you cannot find a wall stud. Consult a carpenter or contractor.
Measure and Attach Templates
- Using a plumb line and (metal) measuring tape, find and mark the vertical center line on the back wall of the opening.

- Find and mark one or two points where the studs are on the wall. (Studs are normally 16 inches apart.) Then measure and mark the stud locations. If you cannot find any wall studs, consult a local building contractor.
- Draw a vertical line on the wall at the center of the 30″ wide opening.
NOTE
Be sure the minimum width is 30 inches. - Center the rear wall template 2 in the space by lining up the plumb line on the wall with the centerline on the template. Then securely tape or tack the rear wall template in place. Make sure the minimum width is 30 inches and that the top of the rear wall template is located a minimum of 30 inches above the cooking surface.
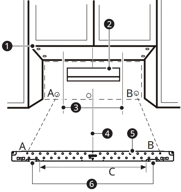
Measure the bottom of the upper cabinet frame. Trim edges A, B, and C on the upper cabinet template a so that the template will fit on the bottom of the upper cabinet. If the upper cabinet has 1 recessed frame, trim the template so it fits inside the recessed area. If needed, the template can be trimmed inside the printed trim lines, as long as you are able to align the centerline correctly. Align the centerline of the upper cabinet template with the centerline of the rear wall template, then securely tape or tack the upper cabinet template in place.
WARNING
- To avoid risk of personal injury, electric shock or death:
- Note where electrical outlets and electrical wires are before you drill into the wall.
- Locate and disconnect power to any electrical circuits that could be affected by installing this oven.
- To avoid risk of personal injury, electric shock or death, cover the edge of the power supply cord hole with the power supply cord bushing.
Drill Holes in Wall and Cabinet
- Drill holes on the circles. If there is a stud, drill a 3/16″ hole for lag screws. If there is no stud, drill a 3/4″ hole for toggle bolts. Make sure to use at least 1 lag screw in a stud, and 2 toggle screws in the drywall or the plaster.
- Drill a 3/8” hole at points J and K on the upper cabinet template.
If the bottom of the upper cabinet is recessed 3/4″ or more, you will need 2″x 2″ filler blocks 2 (not included) to provide additional support for the bolts.
1 Cabinet front
3 Cabinet bottom shelf
Mark the center of each filler block and drill a 3/8” diameter hole at the marks.
Align filler blocks 2 over the two openings in the top of the microwave oven cabinet and attach to the cabinet with masking tape.
- Cut or drill a 2″ diameter hole at the area marked “M power supply cord hole” on the upper cabinet template. If the upper cabinet is metal, you will need to cover the edge of the hole with the power supply cord bushing (supplied) to prevent damage to the cord from the rough metal edge.
- Cut out the venting areas (with the saber saw)
- Roof-venting: cut out the shaded area marked L on the upper cabinet template.
- Wall-venting: cut out the shaded area marked F on the rear wall template.
- Room-venting: go to Step 5: Install the Mounting Plate.
- Complete whichever venting system you have chosen. Use caulking compound to seal the exterior wall or roof opening around the wall cap or roof cap.
Step 5: Install the Mounting Plate
The oven must be connected to at least one wall stud.
- Center the rear wall template in the space by lining up the plumb line on the wall with the centerline on the template. Then securely tape or tack the rear wall template in place. Make sure the minimum width is 30 inches and that the top of the rear wall template is located a minimum of 30 inches above the cooking surface.
NOTE
If the cabinets are not plumb, adjust the rear wall template to the cabinets. If the front edge of the cabinet is lower than the back edge, adjust the template to be level with the cabinet front. - Drill holes at points A and B. Drill the third hole inside area C, through one of the bottom holes to match the location of a stud. If there is a stud, drill a 3/16 hole for lag screws. If there is no stud, drill a 5/8 hole for toggle bolts. These holes must be used for mounting. If the holes are not used, the installation will not be secure. The installer must use these holes for proper installation. Use toggle bolts through these holes, unless one of them lines up with a stud. Use a lag screw for studs. Make sure to use at least 1 lag screw in a stud, and 2 toggle bolts in the drywall or the plaster.

1 Minimum 66″ from the floor
2 For wall – venting only
3 Draw lines on studs
4 Draw center Line
5 Mounting plate
6 Support tab
NOTE
Cut out the shaded area marked F on the rear wall template for wall-venting. - Remove the template from the rear wall.
- Attach the plate to the wall e. To use spring toggle head bolts d: Remove the toggle wings c from the bolts. Insert the bolts into the mounting plate a and replace the spring toggle head to 3/4 of the length past the bolt ends. Insert the spring toggle head into the holes in the wall to mount the plate. You may pull forward on the plate to help in tightening the toggle bolts. Tighten all bolts.

2 Space more than wall thickness
6 Bolt end
Step 6: Attach the Oven to the Wall
WARNING
To avoid risk of personal injury or property damage, you will need two people to install this microwave oven
- Carefully lift the microwave oven and hang it on the support tabs at the bottom of the mounting plate. Reaching through the upper cabinet, thread the power supply cord 1 through the power supply cord hole 2 in the bottom of the upper cabinet.

- Rotate the microwave oven upward so the top of the oven is against the bottom of the upper cabinet or cabinet frame.
- Then insert a bolt down through each hole 1 in the upper cabinet bottom. Tighten the bolts until the gap between the upper cabinet and microwave oven is closed.

- Roof venting installation: Install the duct work through the vent opening in the upper cabinet. Use a caulking gun to seal the exterior roof opening around the exhaust cap.

1 Damper - Use the power supply cord clamp 2 to bundle the power supply cord. Install the power supply cord clamp to the inside of the cabinet using a screw.

1 Duct - Grasp the filter screen with one hand holding the ring and the other hand holding the opposite end. Insert the end of the filter screen without the ring into the opening and slide towards the side of the microwave oven. Insert the ring end of the filter screen into the opening and slide the entire screen towards the center of the microwave until the screen is securely in position. Repeat for the other filter screen.

LG Customer Information Center
1-800-243-0000 Usa
Register your product Online!
www.lg.com


















































