LG MVEL2125F Microwave Oven

Product Information
The LG Microwave Oven is a kitchen appliance that is designed to heat and cook food quickly and efficiently. It comes equipped with a magnetron and inverter magnetron that provide even heat distribution and consistent cooking results. The microwave oven is covered by a limited warranty that covers defects in materials or workmanship for a specified period of time.
Warranty Period
- Parts (internal/functional parts only) and Labor: One (1) year from the date of original retail purchase
- Parts Only: Five (5) years from the date of original retail purchase (You are responsible for any applicable labor cost.)
- Parts Only: Ten (10) years from the date of original retail purchase (You are responsible for any applicable labor cost.)
Not Covered by Warranty
The limited warranty does not cover problems caused by aluminum foil or metal utensils used in microwave mode, spark/arching, or problems related to installation that are not caused by defects in materials or workmanship.
Product Usage Instructions
To use the LG Microwave Oven, follow these steps:
- Place food in a microwave-safe container and put it in the microwave.
- Select the desired cooking time or power level using the control panel.
- Press the start button to begin cooking.
- Check the food periodically during cooking to ensure that it is cooking evenly.
- When the cooking time is complete, remove the food from the microwave carefully as it may be hot.
If you experience any problems with the microwave oven, refer to the troubleshooting section of the user manual or contact LG customer service for assistance. It is important to note that problems caused by aluminum foil or metal utensils used in microwave mode are not covered by the limited warranty.
LIMITED WARRANTY
TERMS AND CONDITIONS
ARBITRATION NOTICE: THIS LIMITED WARRANTY CONTAINS AN ARBITRATION PROVISION THAT REQUIRES YOU AND LG ELECTRONICS (“LG”) TO RESOLVE DISPUTES BY BINDING ARBITRATION INSTEAD OF IN COURT, UNLESS YOU CHOOSE TO OPT OUT. IN ARBITRATION, CLASS ACTIONS AND JURY TRIALS ARE NOT PERMITTED. PLEASE SEE THE SECTION TITLED “PROCEDURE FOR RESOLVING DISPUTES” BELOW.
Should your LG Microwave Oven (“Product”) fail due to a defect in materials or workmanship under normal and proper use, during the warranty period set forth below, LG will, at its option, repair or replace the Product. This limited warranty is valid only to the original retail purchaser of the Product (“You”) and applies only when purchased lawfully and used within the United States including U.S. Territories.
| WARRANTY PERIOD | ||
| Microwave Oven | Magnetron Only | Inverter Magnetron Only |
| Parts (internal/functional parts only) and Labor: One (1) year from the date of original retail purchase | Parts Only: Five (5) years from the date of original retail purchase You are responsible for any applicable labor cost. | Parts Only: Ten (10) years from the date of original retail purchase You are responsible for any applicable labor cost. |
- Replacement Products and parts are warranted for the remaining portion of the original warranty period or ninety (90) days, whichever is greater.
- Replacement Products and parts may be new, reconditioned, refurbished, or otherwise factory remanufactured.
- Replaced Product or part(s) will be the property of LG.
- Proof of original retail purchase specifying the Product model and date of purchase is required to obtain warranty service under this limited warranty.
- Warranty start date will be ninety (90) days from manufacture date absent valid proof of purchase.
EXCEPT TO THE EXTENT PROHIBITED BY APPLICABLE LAW, ANY IMPLIED WARRANTY OF MERCHANTABILITY OR FITNESS FOR A PARTICULAR PURPOSE ON THE PRODUCT IS LIMITED IN DURATION TO THE DURATION OF THE ABOVE LIMITED WARRANTY. UNDER NO CIRCUMSTANCES SHALL LG OR ITS U.S. DISTRIBUTORS/DEALERS BE LIABLE FOR ANY INDIRECT, INCIDENTAL, CONSEQUENTIAL, SPECIAL, OR PUNITIVE DAMAGES, INCLUDING, WITHOUT LIMITATION, LOST GOODWILL, LOST REVENUES OR PROFITS, WORK STOPPAGE, IMPAIRMENT OF OTHER GOODS, COST OF REMOVAL AND REINSTALLATION OF THE PRODUCT, LOSS OF USE, OR ANY OTHER DAMAGES WHETHER BASED IN CONTRACT, TORT, OR OTHERWISE. LG’S TOTAL LIABILITY, IF ANY, SHALL NOT EXCEED THE PURCHASE PRICE PAID BY YOU FOR THE PRODUCT.
SOME STATES DO NOT ALLOW THE EXCLUSION OR LIMITATION OF INCIDENTAL OR CONSEQUENTIAL DAMAGES OR LIMITATIONS ON HOW LONG AN IMPLIED WARRANTY LASTS, SO THE ABOVE EXCLUSIONS OR LIMITATIONS MAY NOT APPLY TO YOU. THIS LIMITED WARRANTY GIVES YOU SPECIFIC LEGAL RIGHTS AND YOU MAY ALSO HAVE OTHER RIGHTS THAT VARY FROM STATE TO STATE.
THIS LIMITED WARRANTY DOES NOT COVER:
- Service trips to deliver, pick up, or install, educate how to operate, correct wiring, or correct unauthorized repairs.
- Damage or failure of the Product to perform during power failures and interrupted or inadequate electrical service.
- Damage or failure of the Product resulting from operating the Product in a corrosive atmosphere or contrary to the Product owner’s manual.
- Damage or failure of the Product caused by accidents, pests and vermin, lightning, wind, fire, floods, acts of nature, or any other causes beyond the control of LG.
- Damage or failure of the Product caused by unauthorized modification or alteration, or if the Product is used for other than the intended purpose.
- Damage or failure of the Product caused by incorrect electrical current, voltage, or ventilation codes.
- Damage or failure of the Product caused by transportation, storage, and/or handling, including scratches, dents, chips, and/or other damage to the finish of the Product, unless such damage is reported within one (1) week of delivery.
- Damage or missing items to any display, open box, or discounted Product.
- Refurbished Product or any Product sold “As Is”, “Where Is”, “With all Faults”, or similar disclaimer.
- Products with original serial numbers that have been removed, altered, or cannot be readily determined.
- Increases in utility costs and additional utility expenses.
- Any noises associated with normal operation.
- Products used for other than normal and proper household use (e.g. commercial or industrial use, offices, and recreational facilities or vehicles) or contrary to the Product owner’s manual.
- Costs associated with removal and reinstallation of the Product for repairs.
- Replacement of light bulbs, filters, or any consumable parts.
- The removal and reinstallation of the Product if it is installed in an inaccessible location or is not installed in accordance with the Product owner’s manual.
- Damage or failure of the Product resulting from misuse, abuse, improper installation, repair, or maintenance. Improper repair includes the use of parts not authorized by LG. Improper installation or maintenance includes installation or maintenance contrary to the Product owner’s manual.
- Damage or failure of the Product caused by the use of parts, components, accessories, consumable cleaning products, any other products, or services that are not authorized by LG.
- Shelves, drawers, handle and accessories, except for internal/functional parts covered under this limited warranty.
- The cost of repair or replacement under these excluded circumstances shall be borne by You.
TO OBTAIN WARRANTY SERVICE AND ADDITIONAL INFORMATION
Call 1-800-243-0000 and select the appropriate option from the menu.
Or visit our website at http://www.lg.com
Or by mail: LG Electronics Customer Service P.O. Box 240007 Huntsville, AL 35813 ATTN: CIC
NOT COVERED BY WARRANTY
| Problem | Cause | Solution |
| Unit has no power | • House power turned off (power supply) • Tripped breaker. • The power cord is not installed properly. | • Check house power supply. • Check proper power cord connection. • Check extension cord. |
| Spark / Arcing | Aluminum foil or metal utensil used in microwave mode. | • Check user instructions. |
| • DO NOT use aluminum foil or metal utensils in microwave mode. |
| Problem | Cause | Solution |
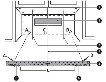
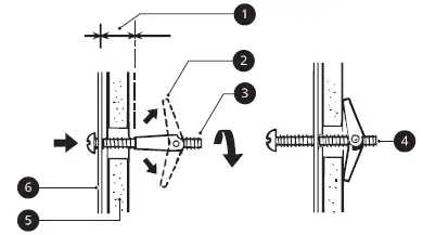
| Microwave oven installation issue. • Vibration noise • Unit is not level • Installation damage | • Mounting bracket screw not fixed completely. • Mounting plate not aligned. – 3/16″ Hole on Studs, 5/8″ Hole on Drywall Only
Product carried/installed improperly. | Check with installer first. |
| Problem | Cause | Solution |
| Vent is not working. • Weak or no ventilation. | • Improper blower unit direction or installation. • Improper ductwork or damper connection.
| • Check blower unit direction and reinstall if necessary. |
| • Abnormal noise during operation. • Product overheating. | • Properly align the exhaust operation ports and blower plate opening. | |
| • Blower unit exhaust ports should be completely exposed to the outside. | ||
| • After installation, check the air ventilation path |
PROCEDURE FOR RESOLVING DISPUTES
ALL DISPUTES BETWEEN YOU AND LG ARISING OUT OF OR RELATING IN ANY WAY TO THIS LIMITED WARRANTY OR THE PRODUCT SHALL BE RESOLVED EXCLUSIVELY THROUGH BINDING ARBITRATION, AND NOT IN A COURT OF GENERAL JURISDICTION. BINDING ARBITRATION MEANS THAT YOU AND LG ARE EACH WAIVING THE RIGHT TO A JURY TRIAL AND TO BRING OR PARTICIPATE IN A CLASS ACTION.
- Definitions. For the purposes of this section, references to “LG” mean LG Electronics U.S.A., Inc., its parents, subsidiaries and affiliates, and each of their officers, directors, employees, agents, beneficiaries, predecessors in interest, successors, assigns and suppliers; references to “dispute” or “claim” shall include any dispute, claim or controversy of any kind whatsoever (whether based in contract, tort, statute, regulation, ordinance, fraud, misrepresentation or any other legal or equitable theory) arising out of or relating in any way to the sale, condition or performance of the product or this Limited Warranty.
- Notice of Dispute. In the event you intend to commence an arbitration proceeding, you must first notify LG in writing at least 30 days in advance of initiating the arbitration by sending a letter to LG at LG Electronics, USA, Inc. Attn: Legal Department- Arbitration 111 Sylvan Ave, Englewood Cliffs, NJ 07632. You and LG agree to engage in good faith discussions in an attempt to amicably resolve your claim. The notice must provide your name, address, and telephone number; identify the product that is the subject of the claim; and describe the nature of the claim and the relief being sought. If you and LG are unable to resolve the dispute within 30 days, either party may proceed to file a claim for arbitration.
- Agreement to Binding Arbitration and Class Action Waiver. Upon failure to resolve the dispute during the 30 day period after sending written notice to LG, you and LG agree to resolve any claims between us only by binding arbitration on an individual basis, unless you opt out as provided below. Any dispute between you and LG shall not be combined or consolidated with a dispute involving any other person’s or entity’s product or claim. More specifically, without limitation of the foregoing, any dispute between you and LG shall not under any circumstances proceed as part of a class or representative action. Instead of arbitration, either party may bring an individual action in small claims court, but that small claims court action may not be brought on a class or representative basis.
- Arbitration Rules and Procedures. To begin arbitration of a claim, either you or LG must make a written demand for arbitration. The arbitration will be administered by the American Arbitration Association (“AAA”) and will be conducted before a single arbitrator under the AAA’s Consumer Arbitration Rules that are in effect at the time the arbitration is initiated (referred to as the “AAA Rules”) and under the procedures set forth in this section. The AAA Rules are available online at www.adr.org/consumer. Send a copy of your written demand for arbitration, as well as a copy of this provision, to the AAA in the manner described in the AAA Rules. You must also send a copy of your written demand to LG at LG Electronics, USA, Inc. Attn: Legal Department- Arbitration 111 Sylvan Avenue, Englewood Cliffs, NJ 07632. If there is a conflict between the AAA Rules and the rules set forth in this section, the rules set forth in this section will govern. This arbitration provision is governed by the Federal Arbitration Act. Judgment may be entered on the arbitrator’s award in any court of competent jurisdiction. All issues are for the arbitrator to decide, except that issues relating to the scope and enforceability of the arbitration provision and to the arbitrability of the dispute are for the court to decide. The arbitrator is bound by the terms of this provision.
- Governing Law. The law of the state of your residence shall govern this Limited Warranty and any disputes between us except to the extent that such law is preempted by or inconsistent with applicable federal law.
- Fees/Costs. You do not need to pay any fee to begin an arbitration. Upon receipt of your written demand for arbitration, LG will promptly pay all arbitration filing fees to the AAA unless you seek more than $25,000 in damages, in which case the payment of these fees will be governed by the AAA Rules. Except as otherwise provided for herein, LG will pay all AAA filing, administration and arbitrator fees for any arbitration initiated in accordance with the AAA Rules and this arbitration provision. If you prevail in the arbitration, LG will pay your attorneys’ fees and expenses as long as they are reasonable, by considering factors including, but not limited to, the purchase amount and claim amount. Notwithstanding the foregoing, if applicable law allows for an award of reasonable attorneys’ fees and expenses, an arbitrator can award them to the same extent that a court would. If the arbitrator finds either the substance of your claim or the relief sought in the demand is frivolous or brought for an improper purpose (as measured by the standards set forth in Federal Rule of Civil Procedure 11(b)), then the payment of all arbitration fees will be governed by the AAA Rules. In such a situation, you agree to reimburse LG for all monies previously disbursed by it that are otherwise your obligation to pay under the AAA Rules. Except as otherwise provided for, LG waives any rights it may have to seek attorneys’ fees and expenses from you if LG prevails in the arbitration.
- Hearings and Location. If your claim is for $25,000 or less, you may choose to have the arbitration conducted solely on the basis of (1) documents submitted to the arbitrator, (2) through a telephonic hearing, or (3) by an in-person hearing as established by the AAA Rules. If your claim exceeds $25,000, the right to a hearing will be determined by the AAA Rules. Any in-person arbitration hearings will be held at a location within the federal judicial district in which you reside unless we both agree to another location or we agree to a telephonic arbitration.
- Opt Out. You may opt out of this dispute resolution procedure. If you opt out, neither you nor LG can require the other to participate in an arbitration proceeding. To opt out, you must send notice to LG no later than 30 calendar days from the date of the first consumer purchaser’s purchase of the product by either: (i) sending an e-mail to [email protected], with the subject line: “Arbitration Opt Out” or (ii) calling 1-800-980-2973. You must include in the opt out e-mail or provide by telephone: (a) your name and address;(b) the date on which the product was purchased; (c) the product model name or model number; and (d) the serial number (the serial number can be found (i) on the product; or (ii) online by accessing https://www.lg.com/us/support/repair-service/schedule-repair continued and clicking on “Find My Model & Serial Number”).
You may only opt out of the dispute resolution procedure in the manner described above (that is, by e-mail or telephone); no other form of notice will be effective to opt out of this dispute resolution procedure.
Opting out of this dispute resolution procedure will not affect the coverage of the Limited Warranty in any way, and you will continue to enjoy the full benefits of the Limited Warranty. If you keep this product and do not opt out, then you accept all terms and conditions of the arbitration provision described above.





















