ViewSonic Y5 Lumen WXGA Business & Education DLP Projector

what in box
how to use


dimension
Mounting Screw: M4x8 (Max. L= 8 mm)Unit: mm
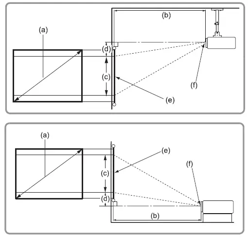
- 16:10 image on a 16:10 screen

- 16:10 image on a 4:3 screen



It is recommended that if you intend to permane ntly in stall the projector, please physically test the projection size and distance using the actual projector in situ before you permane ntly install it.
FCC Compliance Statement
This device complies with part 15 of FCC Rules. Operation is subject to the following two conditions: (1) this device may not cause harmful interference, and (2) this device must accept any interterence received, including interference that may cause undesired operation.
Industry Canada ICES-003 Compliance: CAN ICES-003(B)/ NMB-003(B)
CE Conformity for European Countries
cE The device complies with the EMC Directive 2014/30/EU, Low Voltage Directive 2014/35/EU, Ecodesign Directive 2009/125/EC and Radio Equipment Directive 2014/53/EU. The full Declaration of Conformity can be found at the following website:
https://www.viewsonicglobal.com/public/productsdownload/safetcompliance/projector/VS19107CEDOC.pdf
Declaration of RoHS2 Compliance
This product has been designed and manufactured in compliance with Directive 2011/65/EU of the European Parliament nd neOuni onestricuonO e useO Certain nazardous SuDstanes n eieccal na eecronicequpinenonDrecive) and is deemed to comply with the maximum concentration values issued by the European lechnical AdaptationCommittee (IAG).
Unit state
Latin America


























