LS500 Series DLP Projector
DLP Projector
Quick Start Guide

ViewSonic Projector
Download Link
http://vsweb.us/q/dn.php
1.


2.

3.

4.

5. Mounng Screw: M4 x 8 (Max. L = 8 mm) Unit: mm

6.
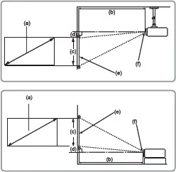
•16:10 image on a 16:10 screen

•16:10 image on a 4:3 screen

(e) = Screen
(f) = Center of Lens
(a) Screen Size | 16:10 Image on a 16:10 Screen | ||||||||||
(b) Projec�on distance | (c) Image height | (d) Ver�cal offset | |||||||||
min. | max. | min. | max. | ||||||||
inch | mm | inch | mm | inch | mm | inch | mm | inch | mm | inch | mm |
30 | 762 | 39.37 | 1000 | 43.31 | 1100 | 15.90 | 404 | 0.00 | 0 | 0.00 | 0 |
60 | 1524 | 78.74 | 2000 | 86.61 | 2200 | 31.80 | 808 | 0.00 | 0 | 0.00 | 0 |
70 | 1778 | 91.86 | 2333 | 101.05 | 2567 | 37.10 | 942 | 0.00 | 0 | 0.00 | 0 |
80 | 2032 | 104.99 | 2667 | 115.49 | 2933 | 42.40 | 1077 | 0.00 | 0 | 0.00 | 0 |
90 | 2286 | 118.11 | 3000 | 129.92 | 3300 | 47.70 | 1212 | 0.00 | 0 | 0.00 | 0 |
100 | 2540 | 131.23 | 3333 | 144.36 | 3667 | 53.00 | 1346 | 0.00 | 0 | 0.00 | 0 |
110 | 2794 | 144.36 | 3667 | 158.79 | 4033 | 58.30 | 1481 | 0.00 | 0 | 0.00 | 0 |
120 | 3048 | 157.48 | 4000 | 173.23 | 4400 | 63.60 | 1615 | 0.00 | 0 | 0.00 | 0 |
130 | 3302 | 170.60 | 4333 | 187.66 | 4767 | 68.90 | 1750 | 0.00 | 0 | 0.00 | 0 |
140 | 3556 | 183.73 | 4667 | 202.10 | 5133 | 74.20 | 1885 | 0.00 | 0 | 0.00 | 0 |
150 | 3810 | 196.85 | 5000 | 216.54 | 5500 | 79.50 | 2019 | 0.00 | 0 | 0.00 | 0 |
200 | 5080 | 262.47 | 6667 | 288.71 | 7333 | 106.00 | 2692 | 0.00 | 0 | 0.00 | 0 |
250 | 6350 | 328.08 | 8333 | 360.89 | 9167 | 132.50 | 3365 | 0.00 | 0 | 0.00 | 0 |
300 | 7620 | 393.70 | 10000 | 433.07 | 11000 | 159.00 | 4039 | 0.00 | 0 | 0.00 | 0 |
(a) Screen Size | 16:10 Image on a 4:3 Screen | ||||||||||
(b) Projec�on distance | (c) Image height | (d) Ver�cal offset | |||||||||
min. | max. | min. | max. | ||||||||
inch | mm | inch | mm | inch | mm | inch | mm | inch | mm | inch | mm |
30 | 762 | 37.14 | 943 | 40.86 | 1038 | 15.00 | 381 | 0.00 | 0 | 0.00 | 0 |
60 | 1524 | 74.28 | 1887 | 81.71 | 2075 | 30.00 | 762 | 0.00 | 0 | 0.00 | 0 |
70 | 1778 | 86.66 | 2201 | 95.33 | 2421 | 35.00 | 889 | 0.00 | 0 | 0.00 | 0 |
80 | 2032 | 99.04 | 2516 | 108.95 | 2767 | 40.00 | 1016 | 0.00 | 0 | 0.00 | 0 |
90 | 2286 | 111.42 | 2830 | 122.57 | 3113 | 45.00 | 1143 | 0.00 | 0 | 0.00 | 0 |
100 | 2540 | 123.81 | 3145 | 136.19 | 3459 | 50.00 | 1270 | 0.00 | 0 | 0.00 | 0 |
110 | 2794 | 136.19 | 3459 | 149.80 | 3805 | 55.00 | 1397 | 0.00 | 0 | 0.00 | 0 |
120 | 3048 | 148.57 | 3774 | 163.42 | 4151 | 60.00 | 1524 | 0.00 | 0 | 0.00 | 0 |
130 | 3302 | 160.95 | 4088 | 177.04 | 4497 | 65.00 | 1651 | 0.00 | 0 | 0.00 | 0 |
140 | 3556 | 173.33 | 4403 | 190.66 | 4843 | 70.00 | 1778 | 0.00 | 0 | 0.00 | 0 |
150 | 3810 | 185.71 | 4717 | 204.28 | 5189 | 75.00 | 1905 | 0.00 | 0 | 0.00 | 0 |
200 | 5080 | 247.61 | 6289 | 272.37 | 6918 | 100.00 | 2540 | 0.00 | 0 | 0.00 | 0 |
250 | 6350 | 309.51 | 7862 | 340.47 | 8648 | 125.00 | 3175 | 0.00 | 0 | 0.00 | 0 |
300 | 7620 | 371.42 | 9434 | 408.56 | 10377 | 150.00 | 3810 | 0.00 | 0 | 0.00 | 0 |
It is recommended that if you intend to permanently install the projector, please physically test the project on size and distance using the actual projector in situ before you permanently
install it.
FCC Compliance Statement
This device complies with part 15 of FCC Rules. Operation is subject to the following two conditions: (1) this device may not cause harmful interference, and (2) this device must accept any interference received, including interference that may cause undesired operation.
Industry Canada ICES-003 Compliance: CAN ICES-003(B) / NMB-003(B)
CE Conformity for European Countries
The device complies with the EMC Directive 2014/30/EU, Low Voltage Directive 2014/35/EU, Ecodesign Directive
2009/125/EC. The full Declaration of Conformity can be found at the following website:
https://www.viewsonicglobal.com/public/products_download/safety_compliance/projector/VS18864_CE_DOC.pdf
Declaration of RoHS2 Compliance
This product has been designed and manufactured in compliance with Directive 2011/65/EU of the European Parliament
and the Council on restriction of the use of certain hazardous substances in electrical and electronic equipment (RoHS2
Directive) and is deemed to comply with the maximum concentration values issued by the European Technical Adaptation
Committee (TAC).
Country/ Region | Website/Phone | Country/ Region | Website/Phone |
Asia Pacific & Africa | |||
Australia | www.viewsonic.com/au/ | Bangladesh | www.viewsonic.com/bd/ |
中国 (China) | www.viewsonic.com.cn | 香港 (繁體中文) | www.viewsonic.com/hk/ |
Hong Kong (English) | www.viewsonic.com/hk-en/ | India | www.viewsonic.com/in/ |
Indonesia | www.viewsonic.com/id/ | Israel | www.viewsonic.com/il/ |
日本 (Japan) | www.viewsonic.com/jp/ | 한국 | www.viewsonic.com/kr/ |
Malaysia | www.viewsonic.com/my/ | Middle East | www.viewsonic.com/me/ |
Myanmar | www.viewsonic.com/mm/ | Nepal | www.viewsonic.com/np/ |
New Zealand | www.viewsonic.com/nz/ | Pakistan | www.viewsonic.com/pk/ |
Philippines | www.viewsonic.com/ph/ | Singapore | www.viewsonic.com/sg/ |
臺灣 (Taiwan) | www.viewsonic.com/tw/ | ประเทศไทย | www.viewsonic.com/th/ |
Việt Nam | www.viewsonic.com/vn/ | www.viewsonic.com/za/ | |
Americas | |||
United States | www.viewsonic.com/us | Canada | www.viewsonic.com/us |
www.viewsonic.com/la | |||
Europe | |||
Europe | www.viewsonic.com/eu/ | France | www.viewsonic.com/fr/ |
Deutschland | www.viewsonic.com/de/ | Қазақстан | www.viewsonic.com/kz/ |
Россия | www.viewsonic.com/ru/ | España | www.viewsonic.com/es/ |
Türkiye | www.viewsonic.com/tr/ | Україна | www.viewsonic.com/ua/ |
United Kingdom | www.viewsonic.com/uk/ | ||
VS18864_QSG_1b_20211025
Copyright © 2021 ViewSonic Corporation. All rights reserved.
References
ViewSonic - Home
vsweb.us/q/dn.php
优派中国 ViewSonic China | ViewBoard, LED LCD 液晶显示器, 投影机, 数位看板, 互动白板
ViewSonic Australia | ViewBoards, Monitors, and Visual Solutions
ViewSonic Bangladesh | ViewBoards, Monitors, and Visual Solutions
ViewSonic Germany | ViewBoards, Monitors, and Visual Solutions
ViewSonic Spain | ViewBoards, Monitors, and Visual Solutions
ViewSonic Europe | ViewBoards, Monitors, and Visual Solutions
Solution ViewBoard, Écrans PC, Vidéoprojecteurs | ViewSonic
ViewSonic Hong Kong | ViewBoards, Monitors, and Visual Solutions
ViewSonic Hong Kong | ViewBoards, Monitors, and Visual Solutions
ViewSonic Indonesia | ViewBoards, Monitors, and Visual Solutions
ViewSonic Israel | ViewBoards, Monitors, and Visual Solutions
ViewSonic India | Gaming Monitors, Projectors & ViewBoards
ビューソニックジャパン
뷰소닉 코리아 | 프로젝터, LCD 모니터, 디지털사이니지, 전자칠판등의 미국디스플레이 전문 기업
ViewSonic Kazakhstan | ViewBoards, Monitors, and Visual Solutions
ViewSonic Middle East | ViewBoards, Monitors, and Visual Solutions
ViewSonic Myanmar | ViewBoards, Monitors, and Visual Solutions
Projectors, Monitors & Visual Solutions | ViewSonic MY
ViewSonic Nepal | ViewBoards, Monitors, and Visual Solutions
ViewSonic New Zealand | ViewBoards, Monitors, and Visual Solutions
ViewSonic Philippines | ViewBoards, Monitors, and Visual Solutions
ViewSonic Pakistan | ViewBoards, Monitors, and Visual Solutions
ViewSonic Russia | ViewBoards, Monitors, and Visual Solutions
Projector, 4K Monitor & Digital Signage | ViewSonic SG
ViewSonic Thailand | ViewBoards, Monitors, and Visual Solutions
ViewSonic Turkey | ViewBoards, Monitors, and Visual Solutions
ViewSonic Taiwan | ViewBoards, Monitors, and Visual Solutions
ViewSonic Ukraine | ViewBoards, Monitors, and Visual Solutions
ViewSonic UK | ViewBoards, Monitors, and Visual Solutions
ViewSonic
Trang chủ - ViewSonic Việt Nam | Website Chính Thức
ViewSonic South Africa | ViewBoards, Monitors, and Visual Solutions


















