
810672 Oil and Vinegar Sprayer
Instruction Manual
User Instructions for Oil & Vinegar Sprayer
Translation of the original instructions
Care for the environment!
Recycle discarded products in accordance with local regulations.
Jula reserves the right to make changes.
For the latest version of operating instructions, see www.jula.com
Jula AB, Box 363, SE-532 24 SKARA
2022-02-04
© Jula AB
SAFETY INSTRUCTIONS
Read these instructions carefully before use.
Save these instructions for future reference.
- Never spray over a naked flame.
- Do not place the product near a cooker or other sources of heat, this can damage the plastic.
- The product is only intended for household use.
OPERATION
Use
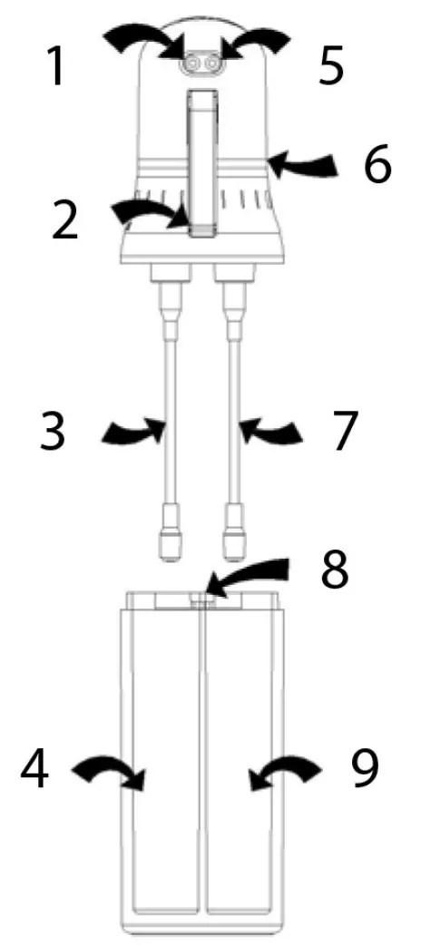
- Remove the pump unit to clean.
- Grip the dosing scale, twist anticlockwise, and lift off.
- Clean all parts according to the instructions.
- Hook the two chambers together and fill the one marked OIL with oil and the one marked VINEGAR with vinegar. Use the supplied funnel, if necessary. The chambers each hold 150 ml. Never use oil or vinegar that contains spices, this can block the spray function.
- Fit the pump unit. Place the tube with the white pump filter in the oil chamber and the tube with the black pump filter in the vinegar chamber. Twist the pump unit to lock it in place.
- Adjust the dosing as follows and press the trigger repeatedly to pump up oil and/or vinegar.
- The dispersion depends on how quickly you press the trigger. Press quickly for wide, fine dispersion. Press slowly for a more concentrated jet.

- For vinegar
- Trigger
- For vinegar
- Vinegar
- For oil
- Spray nozzle
- For oil
- Transparent chamber
- Oil
Dosing
Equal amounts of oil and vinegar are dosed when the arrow points to 50/50 on the dosing scale. When the arrow points to 100% on the oil chamber, only oil is dosed. When the arrow points to 100% on the vinegar chamber, only vinegar is dosed. Turn the pump head to the required position between 100% oil and 100% vinegar.
Thin-oil at room temperature gives the best results. Thicker and/or cold oil may not be finely dispersed properly.
Tips
- Spray oil in a frying pan or baking tin for low-fat cooking.
- Spray on salad or pasta.
- Spray grill racks, etc. NEVER spray over a naked flame.
- Store at normal room temperature, away from direct sunlight.
MAINTENANCE
- Remove the pump unit and carefully separate the chambers. Wash the chambers with hot water and washing-up liquid.
- Fill the chambers to 1/3 with hot water and a little washing-up liquid. Hook the chambers together, fit the pump unit, and pump repeatedly until all the liquid is dosed.
- Fill the chambers with clean, hot water and pump out to rinse the washing-up liquid from the pump system.
- NOTE: No parts of the product can be washed in a dishwasher.


















