WetProtect PERGO Timber Craft Elite Instructions
Tools Required for Installation


Site Requirements
Laminate is a durable floor covering, not intended as structural material. Laminate requires a clean, dry, secure subfloor that meets building codes. The following requirements are not intended to supersede federal, state or local building codes, but as with many other interior finish products, may require modifying existing structural components for successful installation. Owner assumes responsibility for compliance with all building codes. Laminate floor is suitable for use in climate controlled (35- 65% RH and 60-85° F) indoor installations only and should not be installed over any floor with a sump pump or in a room with a floor drain. Laminate floor can be installed above, on or below grade. A moisture test is strongly recommended to determine if high moisture exists in the subfloor. When using a calcium chloride moisture test for concrete subfloors (ASTM F1869), values must be ≤ 5 lbs/1000ft2/24-hr or <80% RH with an in situ probe (ASTM F2170). Moisture readings of wood subfloors must be ≤ 12%. Acceptable job site conditions, including relative humidity and subfloor moisture conditions, must be maintained throughout the lifetime of the flooring. Laminate flooring is installed as a floating floor and requires the use of T-moldings in doorways 4 ft (1.22m) or less and in rooms 40 feet (12.2 m) or larger in length or width. Floor movement must not be constrained by glue, nails, screws, hardware or other fixed obstructions. This product must be installed in accordance with these installation instructions.
Job Site
Site and Material Preparation








A) Remove carpet and padding. Also remove any wood flooring installed on concrete. Do not remove products unless they are
asbestos-free.
B) Undercut door casing. Slide the flooring at least 3/8” underneath the door casing. Also leave a concealed 3/8” minimum expansion
space around entire room.
C) Remove bumps or peaks in subfloor and fill depressions with floor leveling compound to ensure no more than 3/16” unevenness
per 10 ft span.
D) If the product is between 45-115°F, no acclimation is required before installation.
E) Clean debris from subfloor before installation.
F) For planks without attached underlayment, first install PERGO Gold® Premium Underlayment over concrete or wood subfloors per the installation instructions included in the PERGO Gold package.
Alternative underlayment
G) For concrete subfloors, first install vapor barrier with overlapped seams of 8” or more.
H) For planks without attached underlayment, install over a single layer of underlayment appropriate for laminate floors.
Flooring Installation


















- Inspect each plank. Floor should be installed by blending planks from several cartons at the same time to ensure good color and shade mixture throughout the installation.
- For the first row along straight walls, remove the tongue on all long side joints and on the short side of the 1st plank only.
- For uneven walls, trace contour on the tongue-side of plank and cut.
- Assemble the first row, tongue-side toward wall. Insert the end tongue into the end groove and rotate downward to assemble. Keep the planks aligned and the joints closed.
- Two spacers thick side to thick side = 3/8”.
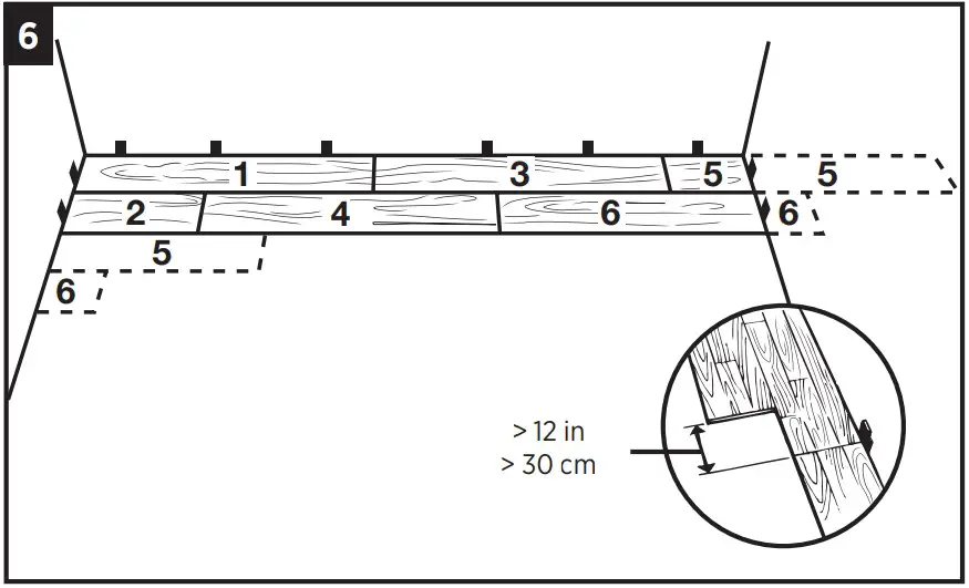
- Start the second row of flooring by using the trimmed planks from the previous row. Provide a 3/8” space for expansion on all sides. First piece must be at least 8” long. Start new rows with pieces trimmed from previous row. Ensure at least a 12” end joint offset.
- At a slight angle, insert the tongue of plank 2 into the groove of plank 1 until the plank edges meet, and then rotate down until the joints lock.
- When joining the next plank in the second row, join the short end of the plank first. There will be a gap on the long side joints when the plank is rotated down.
- Raise the outside edge of the plank, as well as the first plank in row two upward approximately 1”. Maintain this angle as you push the plank in until the plank edges meet. Rotate the plank downward until the joint locks. Repeat these steps to complete the installation. Installation Tip: Place a carton of planks across the end of the row being installed to keep installed planks in place during installation.
- After tapping the long side joint closed, close the short side edge joint using a tapping block or pull bar. Note: Uneven tapping or use of excessive force may damage the joint.
- Ensure there will be a 3/8” gap (after the joint is closed) to the wall for expansion.
- For the last row, align the plank to be used on top of the 2nd to last row. Using a full-width plank as a spacer, trace wall contour and cut plank.
- For the last row, install the long side tongue into the groove with the end joint aligned. Using a pull bar and hammer, work evenly along the length of the plank and lightly tap the joint closed.
- After tapping the long side joint closed, tap the short side closed, using a tapping block or a pull bar Installation Under Doorway Casing
- Slide plank under pre-cut door casing.
- Tap the long side joint closed first. Then tap the end joint closed. Installation Around Fixed Objects (such as Pipes)
- Allow 3/8” expansion space around pipes or other fixed objects. Finishing the Installation
- Remove all spacers.
- The entire perimeter of the installation must be sealed with the WetProtect molding system or 100% silicone sealant in accordance with the installation instructions. For sections where the WetProtect molding system cannot be used, seal the perimeter with 100% silicone sealant, as follows. DO NOT use acrylic sealant.
- First, fill all expansion spaces with 3/8” compressible PE foam backer rod and cover with silicone sealant.
- Prior to installing the moldings, apply silicone sealant to the portion of the molding or transition that will contact directly with flooring surface.
- Install moldings and immediately wipe away any excess silicone sealant.
- Apply silicone at connections to doorframes or any other fixed objects
Care and Cleaning
Place felt floor protectors under legs of moveable furniture. Chair casters should be rubber — not plastic or metal. Place walk-off mats at entrances. Floor protectors should be a least one inch in diameter. Dust mop as primary cleaning method. Occasionally wet mop with water only, using a well wrung-out mop; DO NOT pour liquid directly on floor or use an excessively wet mop that will puddle or leave moisture standing on the floor. If needed, use a bleach solution, no greater than 3%. DO NOT use detergents, abrasive cleaners, soaps, waxes or polishes. A residential steam mop may be used, provided the steam is applied to a microfiber pad and not applied directly to the floor. Make sure to set the temperature of the steam mop to the lowest setting. Steam mop in the length direction of the planks only. Use correct hard surface vacuum tools. DO NOT use rotating beater bars, floor scrubbers, jet mops or similar products. Wipe up spills immediately. DO NOT allow topical moisture to remain on the floor longer than the time specified in the product warranty.
IMPORTANT HEALTH NOTICE FOR MINNESOTA RESIDENTS ONLY: THESE BUILDING MATERIALS EMIT FORMALDEHYDE. EYE, NOSE, AND THROAT IRRITATION, HEADACHE, NAUSEA AND A VARIETY OF ASTHMA-LIKE SYMPTOMS, INCLUDING SHORTNESS OF BREATH, HAVE BEEN REPORTED AS A RESULT OF FORMALDEHYDE EXPOSURE. ELDERLY PERSONS AND YOUNG CHILDREN, AS WELL AS ANYONE WITH A HISTORY OF ASTHMA, ALLERGIES, OR LUNG PROBLEMS, MAY BE AT GREATER RISK. RESEARCH IS CONTINUING ON THE POSSIBLE LONG-TERM EFFECTS OF EXPOSURE TO FORMALDEHYDE. REDUCED VENTILATION MAY ALLOW FORMALDEHYDE AND OTHER CONTAMINANTS TO ACCUMULATE IN THE INDOOR AIR. HIGH INDOOR TEMPERATURES AND HUMIDITY RAISE FORMALDEHYDE LEVELS. WHEN A HOME IS TO BE LOCATED IN AREAS SUBJECT TO EXTREME SUMMER TEMPERATURES, AN AIR-CONDITIONING SYSTEM CAN BE USED TO CONTROL INDOOR TEMPERATURE LEVELS. OTHER MEANS OF CONTROLLED MECHANICAL VENTILATION CAN BE USED TO REDUCE LEVELS OF FORMALDEHYDE AND OTHER INDOOR AIR CONTAMINANTS. IF YOU HAVE ANY QUESTIONS REGARDING THE HEALTH EFFECTS OF FORMALDEHYDE, CONSULT YOUR DOCTOR OR CALL LOCAL HEALTH DEPARTMENT
Pergo TimberCraft Elite + WetProtect Vertical Wainscot Style Wall Install Instructions
Although originally designed as a durable floor covering, many consumers have started using Pergo laminate flooring on walls to give their rooms more character and to create a feature or accent wall. Laminate can be utilized as a decorative covering over an existing clean, dry, secure and vertical wall that meets building codes. The wall substrate should be primed or painted drywall (gypsum board) only. Do not install directly over wallpaper or paneling. Laminate is not intended to be used on ceilings, countertops or as any type of structural material. The installation wall should only run vertical to the floor. Sloping walls and surfaces that are parallel to the floor, such as ceilings or soffits, should not be selected. Limit installations to a maximum of 40 feet in length and a maximum of 1 plank length in height. Laminate is suitable for an accent wall when used in climate controlled (35-65% RH and 60-85° F) indoor installations only. Acclimate unopened product lying flat in the room where it is to be installed for at least 48 hours. Mix planks from different cartons as you install to maximize the natural appearance. Check wall for moisture, visible water stains or leaking windows. Do not install laminate over a wall with known moisture damage. Do not install in areas near water sources such as a backsplash over a sink or bathtub. Acceptable job site conditions, including relative humidity and wall moisture conditions, must be maintained throughout the life of the laminate application. Check wall for flatness within 3/16” over 10 feet. Correct any unevenness before installing to allow the laminate planks to lie flat without rocking. The following requirements are not intended to supersede federal, state or local building codes, but as with many other interior finish products, may require modifying existing structural components for successful installation. Owner assumes responsibility for compliance with all building codes, including maintaining the required distance from heat sources such as fireplaces.
WARNING: For a safe and secure installation, this product MUST be installed in accordance with these installation instructions
Tools Required for Installation:
- Caulk gun
- Utility knife
- Stud finder (electronic)
- Carpenters level or laser level
- Chalk line
- 18 gauge brand nail guin (electric or air)
- Tape measure
- Pencil
- Screw gun or drill driver (for horizontal installation only)
- Safety glasses
- Dust mask
- Gloves
Materials Required for Installation:
- 1 1/2” – 1 3/4” brad nails
- 100% silicone adhesive caulk (clear)
- 1 1/2” – 1 3/4” dry wall screws (for horizontal installation only)
- Painters tape (for horizontal installation only)
Other Tools and Materials: - Step ladder (for horizontal installation only)
- Hammer
- Uniclic® appropriate tapping block
- Pull bar
- Saw for cutting laminate planks
- Pry bar (for removing existing base or trim)
- Chair rail (for vertical installation only), wall base and quarter round moldings (to fame out accent wall)
- Measure the length of your laminate plank and the length of the wall area to determine the total square footage area. Order that amount of flooring plus an additional 10% for incorrect cuts.
- Remove all base and trim from accent wall. Measure from the floor a distance equal to your laminate plank plus one inch then level and mark the wall with a chalk line. With an electronic stud finder locate and mark wall studs. (Figure 1)
- Turn off power while working around wall outlets and light switches. Pay special attention to avoid contact with electrical wiring.
- Inspect each plank for damage before installing. (Figure 1a) Do not install damaged planks. You can use laminate planks with or without an attached pad. There is no need to remove the pad, so treat the installation the same for both types of planks.
- Start from the left side with the short side tongue up and long side groove toward the wall. Place one plank against the wall and align at the top to test fit. You will want a 1” gap at the bottom of the plank. (Figure 2a)
- Determine the appropriate number of vertical planks to fill the wall. For the best appearance, the first and last planks should be approximately the same width. Cut them as needed based on the width of your installation and the width of your planks.
- If you don’t need to cut the first plank, remove lower extension of long side groove with saw or utility knife. (Figure 2b)

- Apply silicone adhesive to the back side of the plank in an “S” pattern. If you’re using a laminate plank with an attached pad, apply the silicone directly to the pad on the back of the plank. (Figure 3)
- Adhere the plank to the wall leaving a 3/16” gap (A) from the corners of the wall and a 1” gap (B) at bottom. Drive brad nails 1/2” from the top and bottom of each plank to secure to wall. Place nails where the trim will cover.
- Continue with the installation for each subsequent plank by first applying silicone adhesive to the back side of the plank in an “S” pattern.
Then angle the groove over the tongue of the previous plank and wiggle into place. Tighten joints as needed with a tapping block or pull bar. Finally, drive brad nails 1/2” from the top and bottom of each plank to secure to wall. Place nails where the trim will cover. Be sure to drive the brad nails into a stud whenever possible. (Figure 4) - Finish wainscot accent to ending wall. (Figure 5)
- Install trim (chair rail) over the top edge. Install quarter round in the corners. Finish by installing the baseboard of your choice. (Figure 6)


- Measure the length and width of the wall area to determine the total square footage area. Order that amount of flooring plus an additional 10% for incorrect cuts.
- Remove baseboards from the accent wall and locate the wall studs using the stud finder tool. Mark vertical lines over all studs. Use painters tape to extend stud location to ceiling if needed. (Figure 1)
- Turn off power while working around wall outlets and light switches. Pay special attention to avoid contact with electrical wiring.
- Inspect each plank for damage before installing. (Figure 1a) Do not install damaged planks. You can use laminate planks with or without an attached pad. There is no need to remove the pad, so treat the installation the same for both types of planks.
- Lay the planks on the floor with the décor side up and the groove side toward the wall. Assemble the short ends of the planks together and measure length to fit the first row (bottom).
- Cut the last piece as needed leaving a 3/16” gap against any adjoining walls, if applicable, and click it into place. (Figure 2)
NOTE: You may need to adjust placement of the first plank row to account for any floor unevenness so that the first row is perfectly straight and all end joints remain square and tight. - Carefully flip the connected row of planks over so the décor side is now face down and the tongue side is toward the wall. You may need assistance to flip the connected row of planks over, depending on the length of your installation. Make sure that the first row is perfectly straight and the aligned joints remain square and tight. Apply a bead of 100% silicone adhesive caulk to the back side of each laminate plank in the first row. If you’re using a laminate plank with an attached pad apply silicone directly onto the pad on the back of the plank. (Figure 3)
- Carefully tilt the row of connected planks against the wall with the tongue side toward the floor, re-level and press to the wall. (Figure 3a)

- Drive a brad nail into each plank at each wall stud through the shallow area of the extended groove (see inset diagram). Take care that the brad nail heads are not raised, but also don’t force them all the way through the groove. This will allow easy connection of the next row of planks. You must also place drywall screws every 16” into the wall studs or sill plate along the bottom edge of the first row of planks where they will be covered by the wall base. (Figure 4)
- Start the second row from the right side. Cut and glue with silicone adhesive caulk the first plank. Fit plank by angling tongue into groove and wiggle into place. Use tapping block as needed. Drive a brad nail into each plank through the shallow area of the extended groove at each wall stud. (Figure 5)
NOTE: A joint “stagger” of 8 to 12 inches looks most natural. Avoid allowing plank ends to align. - Plank 2 of row 2 (and each plank thereafter in row 2) will be modified by removing the short end tongue. Score the tongue with a utility knife 3 – 4 times to remove. You will now have a square end. (Figure 6)
- Apply silicone adhesive caulk in an “S” pattern and install modified boards by tilting into place. Tighten joints as needed with a tapping block or pull bar. Drive a brad nail into each plank through the shallow area of the extended groove at each wall stud. (Figure 7)

- Repeat this process for each plank working your way up to the last row. (Figure 8)
- For the last row of the installation, use painters tape to mark the stud location for brad nailing. Cut all planks in the last row to the required width to complete the installation. Complete the installation as you have the earlier rows. (Figure 8a)
- Use quarter round for inside corners and ceiling. Finish with wall base board of your choice. (Figure 9)

Precautionary Measures
Power tools should be equipped with a dust collector. If high dust level are encountered use an appropriate NIOSH designated dust mask. Avoid dust contact with skin and eyes. First Aid Measures in case of irritations: In case of irritation flush eyes and skin with water for at least 15 minutes.
ATTN: Installers — Caution: Wood Dust
Sawing, sanding and machining wood products can produce wood dust. Airborne wood dust cause respiratory, skin and eye irritation. The International Agency for Research on Cancer (IARC) has classified wood dust as a nasal carcinogen in humans.
IMPORTANT HEALTH NOTICE FOR MINNESOTA RESIDENTS ONLY:
THESE BUILDING MATERIALS EMIT FORMALDEHYDE. EYE, NOSE, AND THROAT IRRITATION, HEADACHE, NAUSEA AND A VARIETY OF ASTHMA-LIKE SYMPTOMS, INCLUDING SHORTNESS OF BREATH, HAVE BEEN REPORTED AS A RESULT OF FORMALDEHYDE EXPOSURE. ELDERLY PERSONS AND YOUNG CHILDREN, AS WELL AS ANYONE WITH A HISTORY OF ASTHMA, ALLERGIES, OR LUNG PROBLEMS, MAY BE AT GREATER RISK. RESEARCH IS CONTINUING ON THE POSSIBLE LONG-TERM EFFECTS OF EXPOSURE TO FORMALDEHYDE. REDUCED VENTILATION MAY ALLOW FORMALDEHYDE AND OTHER CONTAMINANTS TO ACCUMULATE IN THE INDOOR AIR. HIGH INDOOR TEMPERATURES AND HUMIDITY RAISE FORMALDEHYDE LEVELS. WHEN A HOME IS TO BE LOCATED IN AREAS SUBJECT TO EXTREME SUMMER TEMPERATURES, AN AIR-CONDITIONING SYSTEM CAN BE USED TO CONTROL INDOOR TEMPERATURE LEVELS. OTHER MEANS OF CONTROLLED MECHANICAL VENTILATION CAN BE USED TO REDUCE LEVELS OF FORMALDEHYDE AND OTHER INDOOR AIR CONTAMINANTS. IF YOU HAVE ANY QUESTIONS REGARDING THE HEALTH EFFECTS OF FORMALDEHYDE, CONSULT YOUR DOCTOR OR CALL LOCAL HEALTH DEPARTMENT.
Pergo Limited 6-Month Manufacturing Warranty
Pergo provides a limited warranty to the original purchaser for six (6) months from the date of purchase covering any manufacturing defec ts in the product. The Pergo Limited 6-Month Manufacturing Warranty is made subject to the following condition: This limited warranty does not cover any damage that occurs during shipment or installation. All areas must be assessed prior to installation to determine if other surface measures need to be taken or conditions addressed, including, but not limited to requirements for static control, state health and building codes, high impact use and moisture/water exposure. Other than the specific warranty identified above, Pergo provides no additional warranties and Pergo does not warrant that any of the uses identified above are in compliance with any applicable building, health, inspection, and/or other municipal regulation or codes. Pergo is not responsible for usage that is not in compliance with any regulation or code. Proper assessment of location and usage must be applied. Contact your Pergo representative for questions on performance in specific locations.
The Pergo Limited Lifetime Residential Warranty is made subject to the following conditions:
- The product must be installed properly in accordance with Pergo wall installation instructions.
- The product must be used only indoors in a dry, climate controlled area.
- These limited warranties apply to vertical wall installations only. They do not apply to floor installations.
- Other horizontal uses of this product are not covered by these limited warranties. Never install this product on a ceiling or as a countertop.
- The product must be maintained in accordance with Pergo care and cleaning instructions.
- Damage must not have occurred as a result of improper or inadequate maintenance or accidents, such as damage caused by scratching, impact or cutting.
- Gloss or sheen change and variations from later product additions or nonwarranty repairs are not covered by these limited warranties.
- These limited warranties do not apply to water damage, including but not limited to water damage caused by flooding, standing water, leaking pipes, mechanical failures, appliance leaks or pet urine. Do not use this product as a backsplash or otherwise install near sinks or other wet work areas.
- These limited warranties do not apply to damage caused by water or moisture in the wall or behind the product, including but not limited to damage from hydrostatic pressure (water or moisture on the wall behind the product that is transmitted to the surface through exerted pressure) or other conditions that result in water or moisture being behind the product.
- These limited warranties do not apply to moldings.
- Installation of product that contains any manufacturing defect is not covered by these limited warranties.
- These warranties do not apply to any product installed in a commercial application.
How to Make Claims:
Any claim under any of the limited warranties above must be made by contacting your retailer within 30 days after the basis for the claim is detected. In addition, any claim under any of the limited warranties above must be made before the end of the applicable limited warranty period. Proof of purchase, including the date of purchase, must be presented to make a claim.
Pergo’s Responsibility:
If Pergo accepts a claim under any of the limited warranties above, Pergo will repair or replace, at its option, the affected Pergo product material only. Labor costs for removal and/or installation or repair associated with a warranty claim are not covered. If Pergo in its sole discretion determines that such repair or replacement is not reasonably achievable, Pergo may choose to refund the purchase price of the affected Pergo material. If the design for which a claim is made is no longer available, Pergo will replace the affected product materials with another Pergo design of equal or greater value at Pergo’s discretion. Upon approval of the warranty claim, Pergo will provide you with instructions on the manner in which to proceed in order to have your material repaired or replaced, and you must comply with such instructions within ninety (90) days after the claim is approved or your rights under the limited warranty will be deemed waived. The above remedies are the sole and exclusive remedies for claims on this product. These limited warranties give you specific legal rights, and you may also have other rights which vary from State to State.
DISCLAIMERS
PERGO DISCLAIMS ALL OTHER EXPRESS OR IMPLIED WARRANTIES, INCLUDING ANY IMPLIED WARRANTY OF MERCHANTABILITY OR FITNESS FOR A PARTICULAR PURPOSE, WITH RESPECT TO THIS PRODUCT. Pergo disclaims liability for incidental and consequential damages. Some States do not allow the exclusion or limitation of incidental or consequential damages, so the above limitation or exclusion may not apply to you. These limited warranties are not transferable. They extend only to the original end-consumer. Samples, descriptions, and other information concerning the product contained in Pergo catalogs, advertisements, or other promotional material or statements made by sales representatives or distributors are for general informational purposes only and are not binding upon Pergo. No sales representatives or distributors shall have any authori y whatsoever to establish, expand or otherwise modify Pergo’s warranties. The provisions of these limited warranties are deemed to be severable and the invalidity or unenforceability of one provision shall not affect the validity or enforceability of any other provision. These limited warranties constitute the entire agreement of the parties, and no waiver or amendment shall be valid unless in writing and signed by an authorized representative of Pergo.
Care and Cleaning
Dry wipe as primary cleaning method. Occasionally damp wipe with water only. NO wet washing. If needed, use 1 cup of vinegar per gallon of water OR 1/3 cup non-sudsing ammonia per gallon of water. DO NOT use detergents, abrasive cleaners, soaps, waxes or polishes. Wipe off spills immediately. DO NOT allow moisture to remain on the product surface for longer than 30 minutes.























